
举个例子,夏季烈日时,人们通常会有如下几种防晒方式:
1.穿防晒服;
2.打遮阳伞;
3.找高大且能遮阳蔽日建/构筑物;
直觉告诉我们,从遮阳纳凉的舒适感来说,上述舒适感实际是依次递增的。
由此可见,遮阳设施离人体能感知的范围越远,遮阳的效果越好;但从方便性来说,又是依次递减的。毕竟,防晒服轻便,穿在身上,不影响人们的任何活动;打遮阳伞,至少要一只手一直撑着,自由活动受到一定限制;高大且能遮阳蔽日的建/构筑物难以随意移动,出了其范围则不能享受其遮蔽的阴凉。所以,“相对论”成立。
同样道理,从舒适节能维度来说,对建筑透明部位而言,相同遮蔽量的情况下,外遮阳优于其他任何位置的遮阳!尤其是活动式外遮阳更甚。同时,活动式外遮阳也存在一些尴尬,如:融入建筑立面有点麻烦、窗洞施工工序多而繁、洞口施工周期也相对较长、尤其是在使用阶段的维护相对不易。
众所周知,装配式建筑是以工厂化的“pc”件为建筑主要的构配件,现场施工效率大大提高,是当前建筑主流做法。同时,因为“工厂化”,要求更多的标准件,作为建筑立面之“眼”的外窗,随之也进入标准化,各省市也陆续出台并执行“标准化外窗系统”应用技术规程或与之类似的其他文件和政策。该背景下。对一体化遮阳窗的需求越来越明显;又鉴于外遮阳有更好的舒适节能表现,且又能有效避免上述外遮阳尴尬的“外遮阳一体化窗”必将会引来新的增量需求。
近年来,偶尔看到和听到个全新的名词,叫“内置百叶/织物中空玻璃外遮阳”,而且这个名词在有的地方标准里出现,有的专家也在公开场合经常性提及,实在是令人费解,甚至有误导之嫌!另外,建筑的特点(建筑所处的气候区和本身体型系数、朝向、窗墙比等)不一样,对外遮阳一体化窗的具体性能需求也不尽相同。
再从JG/T500-2016《建筑一体化遮阳窗》的标准来看,其定义是:“活动遮阳部件与窗一体化设计、配套制造及安装,具有遮阳功能的外窗。”从工业制造的维度出发,做了型式上的规定,未提及其他,也未对外遮阳一体化窗,做出更明确的解释;而地方性标准(如DB32/4418-2022《居住建筑标准化外窗系统应用技术规程》),对外遮阳一体化窗有明确的定义:“由硬卷帘、软卷帘等遮阳装置与外窗受力外框设计组合成一体,并且满足标准化外窗要求的成品窗。”这里面尤其提到满足“标准化外窗要求的成品窗”。
那么,到底标准化外窗有哪些要求具体要求呢?因为一体化,外遮阳已经是外窗的一部分,外遮阳一体化窗需要同时兼有门窗和外遮阳的双重性能指标,所以性能指标起码应包括:①气密性;②水密性;③抗风性能;④传热系数;⑤太阳得热/遮阳系数;⑥降噪性能;⑦机械耐久性;⑧耐烟雾;⑨抗冲击性能。并不是外遮阳和门窗简单复合就是外遮阳一体化窗!
金星宇遮阳,利用自身技术优势,成功于2022年开发了一体化外遮阳卷帘窗(如下图):

在进行了自我近半年的测试,性能达到预期目标后,于2023年采用与传热系数1.4w/㎡•k的窗一体化后,委托“国家建筑材料质量检验检测中心—上海建科检验有限公司”进行了型式检验。结果如下表:

说明:
1.关于一体化外遮阳卷帘窗的传热系数,窗自身的检测结果为:1.4w/㎡•k,其完全伸展状态降到:1.3w/㎡•k(适用场景:夏季白天的遮阳隔热、冬/夏季室内夜晚保温/隔热),完全收起状态增至1.5w/㎡•k(适用场景:冬季白天采光得热,过渡季节昼、夜的采光、通风,即使冬季白天阴或多云,无法得热,但也可以采光,且这种情况通常白天的气温至少要高于夜间最低气温3℃以上,对一体化外遮阳卷帘窗的传热系数要求也不高);上述场景下,一体化外遮阳卷帘窗室内部分无任何结露风险;
2.关于机械耐久性,本次检测至2万次,就未再做更高标准。主要是因为之前外遮阳系统的机械耐久性,我们产品的检测结果已经超过3万次,基本上覆盖了“夏热冬冷”地区居住类建筑的合理使用周期,但同时也考虑到建筑外围护现实中合理使用周期(尤其是门窗的性能保证周期),本次仅检测到2万次;另外,在一体化外遮阳卷帘窗合理的使用周期中,为使其功能长期有效保证,需要进行日常维护,且这个日常维护需要安全、便捷,方能降低使用成本,持续维持舒适体验感。由鉴于此,一体化外遮阳卷帘窗,必须采用室内的日常维护构造(如下图);
日常维护口设计
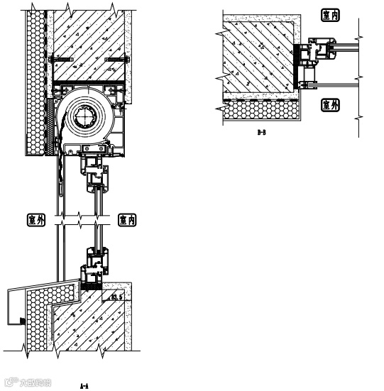
3.关于制造和施工安装,在确定洞口节点和一体化外遮阳卷帘窗的配置后,外遮阳的制造仅需根据窗洞的制造尺寸即可进行外遮阳的生产制造,并在检验合格后交由门窗进行简单组装成一体化外遮阳卷帘窗。在组装过程中,外遮阳与门窗顶部接触部位的处理结果非常关键,会直接影响到其的气密性和可能的热桥,一体化外遮阳卷帘窗巧妙采用了类似“榫卯”结构连接,辅以螺钉紧固,实现与门窗顶部框料的合理连接,再通过导轨与门窗竖向型材做受力固定,就实现了一体化外遮阳卷帘窗的制造;施工安装则更为简单,仅需按确定的节点安装门窗(如下图示意),同时将外遮阳卷帘的电机线接通电源即可。

安装示意图
写在最后:
一体化外遮阳卷帘窗通常适用如下场景:
1.居住类建筑;
2.建筑最不利风荷载计算值不宜高于1.0kpa的静风载;
3.标准化外窗系统;
4.内开窗;
5.建筑的外窗洞性能指标要求是一体化外遮阳卷帘窗能适配的。
”





