结果打官司的时候发现——
专利被自己写废了
不是产品的问题,不是流程的问题
是翻译的时候,有一个词用错了
这个词,叫"本发明"
一、翻译习惯可能毁掉专利
中文撰写专利时,我们很习惯说"本发明涉及…"翻译成英文,很多人就会顺手写成"The present invention"。
看起来没毛病,但在美国专利法的框架下,这可能就是一颗定时炸弹。
为什么?
"Invention"是法律概念,代表你主张保护的权利边界。
"Disclosure"是事实陈述,意思是"我在这份文件里展示了一些信息",不等于划定边界。
而美国法院在判断专利侵权时,不只看权利要求,还会翻说明书。一旦你的说明书里出现"The present invention is..."或者"The present invention requires...",法官会认为:你在给自己的发明下定义。
这意味着,不管你后面的权利要求写得多宽泛,法官很有可能将这句话视为对权利要求的限制,使得原本宽泛的权利要求无法覆盖更广的范围。
这在法律上叫做"权利要求范围的放弃"(Disavowal of claim scope),说白了,就是你亲手把自己的保护范围给砍窄了。
二、真实案例:专利怎么“被写死”的
不是假设,是真实发生过的事,而且翻车的还是美国跨国巨头。
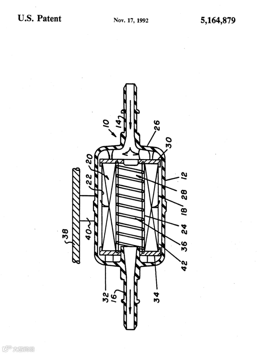
Honeywell(霍尼韦尔)作为位列《财富》百强的公司,在航天、自动化及特性材料领域拥有极其庞大的专利库。然而,即便拥有顶尖的研发力量,他们也在2006年的一场判决中,因说明书的撰写瑕疵遭遇了“教科书级”的失利。
事情是这样的,霍尼韦尔拥有一项关于燃油系统材料的专利(US5164879B1),他们用这份专利起诉ITT Industries侵权,理由是ITT生产的燃油快插接头使用了相同的导电材料。
但问题在于,他的专利说明书里写了"本发明使用燃油过滤器",可权利要求里没把这个特征写进去,想争取更宽的保护。
结果法院直接判:你自己说了本发明必须有过滤器,那没有过滤器的就不算侵权。因此最终Honeywell败诉。
三、如何避免权利范围变小?
事实上,有经验的美国专利律师早就养成了一个习惯:把说明书里的"The present invention"统一替换成"The present disclosure"(本公开)。
在具体操作上,通常会遵循三条非常核心的原则:
第一,统一用词习惯
尽量把“本发明”改为“本公开”(The present disclosure),避免无意中定义发明边界。
第二,避免绝对表达
少用“必须、核心、关键”等词,这些词在诉讼中,很容易被对方抓住当“限制条件”。
第三,多用实施例表达
用“In one embodiment”去描述方案,让法官知道:这只是其中一种实现方式,而不是唯一方式。
总结
因此,跨境卖家在申请美国专利时,不要小看翻译的重要性。
很多人觉得,把中文专利翻译成英文只是“技术性工作”,随便找个翻译就能做。但实际上,在美国专利体系里,每一个词,都会影响未来权利要求的解释边界。
与其后期承担风险,不如在申请阶段就找专业团队把关。

