近期中东冲突持续升级,地缘政治风险加剧。对外贸企业而言,这不仅是国际新闻事件,更可能加速全球供应链重构与市场格局调整。历史经验表明:区域冲突往往推动采购商加速分散供应来源,引发供应链迁移与需求再分配——部分企业因此流失订单,另一些则迎来新增长窗口,关键在于对市场变化的预判力与响应速度。
地缘冲突下的市场重新分配
中东既是全球能源核心产区,也是亚欧非贸易的关键通道。局势紧张直接推高航运保险成本与物流风险,压缩外贸企业利润空间。为降低供应集中风险,国际采购商正加快向中东以外地区寻找替代供应商,客观上催生新一轮市场再分配机会。
非石油商品出口持续增长
中东国家“去石油化”进程提速,非油出口结构明显优化。数据显示:埃及2025年前9个月化学品与化肥出口达68.44亿美元;沙特电机、电气设备及零部件已跃居其最大非石油出口品类,2025年第三季度占非石油出口总额的26.9%。
此类高增长品类背后,反映出中东本地制造能力提升及区域市场需求扩容。对中国供应商而言,若能在产品匹配度、交付稳定性与合规能力上形成替代优势,即可切入这一正在扩张的采购需求链。
数字化工具助力精准获客
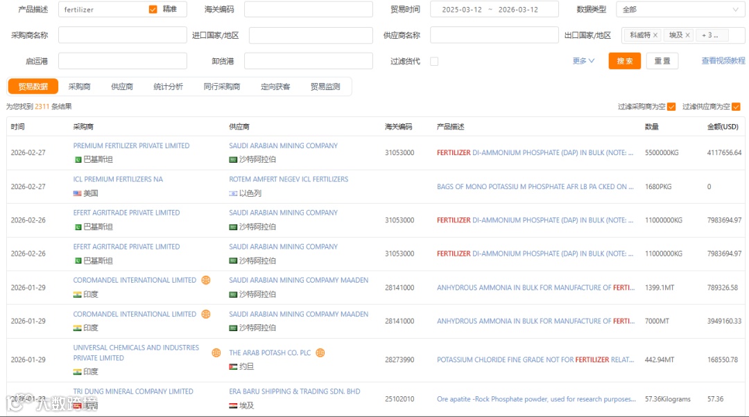
多数国际采购商并不主动发布需求,而是依赖线上渠道自主筛选供应商。借助专业外贸数据平台,企业可通过海关贸易记录快速定位目标客户——以“fertilizer”(肥料)为例,筛选科威特、埃及、沙特等中东国家近一年出口数据,即可获取采购商名称、所属国、交易时间及数量等关键信息。
点击采购商名称,系统可自动完成AI背调,并深度挖掘其采购决策人邮箱等有效触达信息:
获得准确联系人后,结合EDM功能发送定制化开发信,实现高效触达。平台还支持“定向获客”,按行业、国别、规模等维度精准圈定目标客户群,进一步提升开发效率。
多维数据支撑营销决策
除贸易数据查询外,平台还提供进出口份额统计、国别排名、贸易趋势分析、HS编码分布、启运港分析等功能,为企业制定区域市场策略提供可靠数据依据。
贸易趋势:
采购商份额与排名:
综合运用数字化工具,实时追踪中东国家出口动态、识别活跃采购商、挖掘关键决策人,是把握本轮市场再分配机遇的核心路径。
过去几年的贸易摩擦、区域冲突与供应链重塑已印证:不确定性正成为全球贸易常态。每一次地缘变动都伴随结构性机会——被动适应者承压,主动洞察者突围。数字化获客能力,已成为外贸企业在变局中强化市场感知、抢占先机的重要基础设施。

