
招商门户 年费:5万/年
欢迎对接洽谈 13391219793
对了,最关键的是您将获得招商大数据平台使用权限

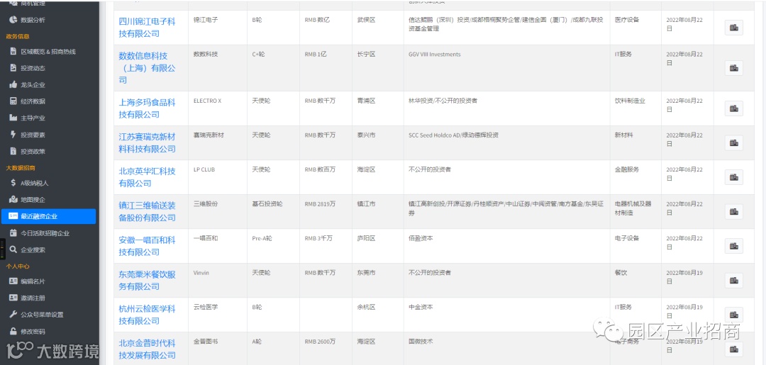
除了为开发区打造一个线上招商门户平台外,您还可查询各类企业信息、查看最近获得融资企业信息、活跃招聘中的企业信息、按地图查询意向招商企业、纳税良好的企业等。功能费价值5万/年。
招商门户亦提供覆盖商汤、恒生电子、复星医药、晶晨半导体、联影医疗、复旦全国校友等知名公司和知名高校校友的专家网络,欢迎咨询。
招商门户小程序致力于让全国每个区县政府都能立即拥有专属数字化招商门户,“云招商”触手可及:对外展示区域投资环境,突出本地产业优势,接入全国2000+招商人员,对接优质产业和企业资源,获得可量化、并且立竿见影的招商效果。目前招商门户小程序已上线18省15+地级市的119+地方政府
下图为已签约入跓开发区和地方政府

欢迎未入跓开发区与我对接
13391219793
价值5万元的招商小程序,为您制作并上传材料,完工之后移交后台及管理账号密码,后期可自行进行管理。









全国各类厂房资源,迎来访考察400-0123-021

扫一扫,加入【产业地产学习交流群】

点击下图查看全国在售厂房项目


