大数跨境

正辰科技|“就业服务平台” 为就业服务提供精细化管理

正辰科技|“就业服务平台” 为就业服务提供精细化管理 正辰科技订阅号
2023-08-19
2
导读:“就业服务平台” 为就业服务提供精细化管理

就业服务平台 >>



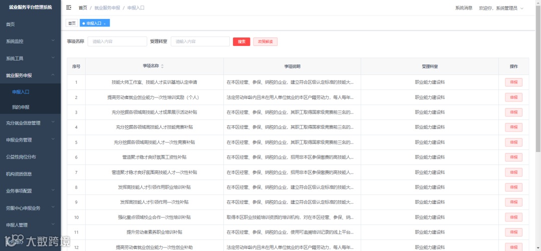
平台介绍



今天给大家介绍一款正辰科技研发的,人社局刚刚投入使用的一款新办公平台“就业服务平台”。

“就业服务平台”定位于落实《北京市西城区做好当前和今后一个时期就业工作若干措施》的实施细则做好各项促进就业经费的申报、审核工作。


精细化的管理支撑工作




提高就业托底安置待遇水平


鼓励用人单位增加就业容量


鼓励青年积极参加就业见习


加大就业帮扶与民政救助的政策协同


降低创业创新成本


提高劳动者就业创业能力


提升劳动者职业素养


强化重点领域校企合作


发挥高技能人才引领作用


营造聚才稳才良好氛围


充分挖掘各领域高技能人才


鼓励经营性人力资源服务机构参与公共就业服务


支持经营性人力资源服务机构引进高精尖产业人才


平台业务模块



平台核心功能是通过提供就业服务申报、申报业务管理、各类花名册管理、就业培训开办管理、业务督导、业务督办、统计分析、好差评、办事指南等功支撑人社局就业服务管理。


服务群体



 

平台服务于人社局各就业服务相关科室、街道及社区就业服务人员、企业联络员、就业培训服务机构、以及参与就业服务的个人。


公司优秀案例



12345市民服务热线可视化管理系统

CVC大屏可视化管理系统

密云水库可视化数据管理平台

朝阳卫计委可视化平台


【声明】内容源于网络
0
0
正辰科技订阅号
我们是数字科技产品与服务的优秀提供商
内容 245
粉丝 0
正辰科技订阅号 我们是数字科技产品与服务的优秀提供商
总阅读711
粉丝0
内容245