应急管理工作是一项关系国家经济社会发展全局和人民群众生命财产安全的大事,是构建社会主义和谐社会的重要内容。通过加强应急管理建设,建立健全社会预警机制、突发事件应急机制和社会动员机制,可以最大程度地预防和减少突发事件及其造成的损害,对于保障公众的生命财产安全,维护国家安全和社会稳定,促进经济社会全面发展具有积极深远的意义。
目前,应急管理体制改革正处于新旧机制转型、职责交接、力量转换的特殊阶段。随着机构改革持续推进,各级应急管理部门相继成立,机构、职能整合不断加速,过去各部门“九龙治水”“各扫门前雪”等难题正在逐步破除。在当前应急管理工作稳步推进的同时,各种深层次的问题逐渐凸显并亟待解决:

管辖区域面积大、企业种类多,职能部门编制人手严重不足,力量分散、监管压力大;
部门职责分工边界不够明确,监管底数不清,数据不明,信息滞后;
安全监管机制不健全,专业力量薄弱,安全检查流程不清晰,安全隐患未形成有效的闭环管理;
基层应急治理能力弱,社会力量参与应急和安全管理的程度较低;
......

科技引领
实现应急管理转型升级
就目前而言,传统的应急管理方式已经无法适应新形势下应急管理工作的需要。面对当下的应急管理工作困局,我们需要充分运用云计算、大数据、物联网、人工智能、移动物联等新一代信息技术,推进先进信息技术与应急管理业务深度融合,提高风险感知的灵敏度、风险研判的准确度以及应急反应的及时度,构建全流程、标准化、科学化的应急管理模式,实现应急管理信息化跨越式发展。
智能运作
构建应急管理全新格局
作为安全科技领域领跑者,赣州鑫浩安全科技有限公司与时俱进,依托强大的互联网技术及安全大数据服务,创新推出了应急指挥中心·网格化综合监管平台,通过搭建一个责任明确、信息共享、协同迅速、管理到位的信息化平台,为强化企业安全生产主体责任,解决安全监管专业力量不足,跨部门、跨层级间联动联控能力差,难以形成监管合力等问题提供了一套专业化、智能化解决方案。

01
运用平台创新社会化服务的安全管理制度和方法,强化安全生产预防为主、源头治理与应急并重,加强风险分级与隐患排查治理,推动安全生产关口前移。
02
整合现有安全生产数据,全面构建互联网安全生产监管平台,实现安全生产全过程、全要素、全产业链的连接和监管,提升跨部门、跨层级的安全生产联动联控能力。
03
充分利用大数据、云计算、物联网等技术,实现重大风险和隐患在线监测、超前预警预报、灾害事故高效处置。
04
应急指挥整体调度,事故应急响应快,对辖区应急资源进行整合,实现一键调配,将事故的损失降至最低。
05
多方联动,信息共享,协同监管,形成“科学管理、企业主责、政府监督、社会参与”的工作格局。

| 安全态势总览 | 应急指挥 | 执法汇总 |
| 警示约谈 |
事件交办 |
培训教育 |
| 视频管控 | 风险分级管控 | 隐患排查治理 |
| 企业管理 | 网格化管理 |
成员单位管理 |
| 安委会管理 | 第三方机构管理 | 社会群众管理 |
| 体系资料库 |
隐患数据库 |
服务中心管理 |
| 预警管理 | 决策分析 | ...... |
1
多方联动,齐抓共管
依照国务院关于《安全生产“十三五”规划》中落实安全监督管理责任要求,坚持“党政同责、一岗双责、齐抓共管、失职追责”、明确“省、市、县负有安全生产监督管理职责部门的执法责任和监管范围”的通知,平台根据不同的层级设定了不同的角色和权限,通过网格化精细管理,制定特色属地网格,真正实现多部门监管信息实时互通,事件转办交办责任到人,动态化、全过程监管新目标,在很大程度上化解了“上级”与“下级”工作衔接脱节、“部门监管”与“行业监管”不相适应等现实问题。

▲网格管控模块
党政领导、综合监管、行业监管、村社区属地管理、社会群众、第三方、企业还可通过微信小程序参与平台管理,进行检查消息的实时推送,信息实时共享,通过平台履行各自监管职责,减轻综合监管的压力。

▲不同角色小程序端口
2
应急指挥,快速响应
平台通过对辖区应急资源的整合,形成“应急管理一张图”,实现区域应急资源地理位置可视化,直观展示应急物资、应急队伍、应急专家及交通实时现状等。

▲应急指挥模块
当辖区范围内发生安全事故时,可实现事故地点附近应急资源的一键调配,有效节余救灾物资调配时间,提高应急响应及处理能力,将事故的损失降至最低。

▲启动应急预案,实现应急资源快速调配
3
双重预防,双管齐下
平台结合辖区企业的摸排情况及风险因素,通过大数据运算出企业风险等级,将企业风险等级直观展示在地图上,辖区风险分布一目了然。

▲辖区企业风险风布情况
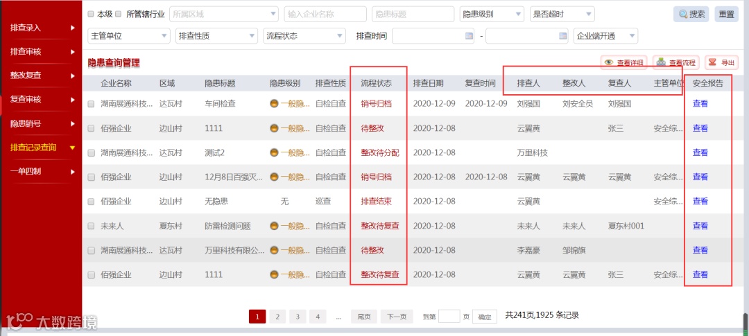
通过该平台可进行辖区安全隐患排查-整改-复查-归档等一系列操作,实现安全隐患闭环管理。同时可将辖区隐患进行跟踪处理,对未按要求整改隐患的企业,进行消息推送,闭环整改责任到人,降低企业安全风险。

▲安全隐患闭环管理
4
精准执法,科学监管
平台设定各党政领导,管辖范围,及时推送其所管辖范围内的安全信息,可以在平台上看到管辖范围内企业的隐患及整改情况,需要进行事件交办时,也可以直接通过平台进行交办。

▲执法汇总模块
监管部门日常执法或工作如警示约谈、领导带队、打非治违、事件交办、专项整治、教育培训等,可通过抽屉式归类整理,点击对应名称实现档案化查找,真正做到有的放矢,科学监管。

▲监管部门监管动态
5
信息共享,综合决策
通过多方数据汇总,形成多维度图表数据展示,包括社区安全指数情况、辖区企业风险分级情况、辖区隐患统计情况、预警预报情况,应急指挥情况等等,这些数据形成了整个辖区安全生产态势,为后期安全生产工作的分析与研判提供决策支撑。

▲安全生产态势总览
6
安全责任,全面夯实
党政领导通过参与安全监管,压实党政领导责任;行业监管部门通过平台实现信息实时互通,事件转办交办责任到人,压实行业监管责任;企业通过平台实现企业安全风险自辨自控、隐患自查自治,压实企业主体责任。

在平台日常监管模块,通过搜索对应企业名称,便可详细了解企业基本信息、安全管理机构、涉危情况、安全投入、安全培训等15个方面的详细信息,从而形成“一企一档”;对于一些高危企业,或者一些重点监管的企业,平台还可实现企业重点部位/重要设备的视频实时监控。

▲企业落实主体责任模块











