
在3D打印行业中,每当提到光固化3D打印机,总是觉得眼前一亮。3D打印面世之时,就是从光固化技术SLA(激光扫描)立体光刻技术开始的。因此,完全可以说光固化就是3D打印技术的师祖。
光固化技术,历经三个发展阶段:SLA激光扫描和DLP数字投影,以及新的LCD光源。三者之间的区别,简单来说,是光固化技术特点不同,每一个光固化技术的核心都是围绕光源问题的解决方案,从激光扫描的SLA,到数字投影的DLP,再到最新的LCD打印技术。
所有光固化技术的z轴方向分为两种方案:桌面型都是光源在下,通过窗口和离型膜,成型往上拉出来;工业大型的都是光源在上,成型下沉到液面以下,液面不需要离型膜。


第一代SLA,利用紫外激光(355nm或405nm)为光源,用振镜系统来控制激光光斑扫描,扫过之处的液体树脂就选择性固化了。

SLA是目前应用最为广泛、打印精度和表面质量最高的3D打印方法,成品性能和塑料类似。成品是利用液态UV固化的光敏聚合物,它在紫外激光束的照射下会快速固化。成型过程开始时,可升降的工作台处于液面下一个截面层厚的高度,聚焦后的激光束,在计算机的控制下,按照截面轮廓的要求,沿液面进行扫描,使被扫描的树脂固化,从而得出该截面轮廓的树脂薄片。
成型速度快、精度高、材料利用率高
成本较高,使用材料受限制 ,有气味和轻微毒性
医疗辅助、工业手板、电子行业等
第二代DLP紫外数字投影技术,利用405nm光源,通过德州仪器的数字微镜技术,选择性的将面光源投射到液态树脂使之固化。其中DLP技术包括大名鼎鼎的速度快100倍的CLIP连续打印技术。

图片来源:robotsinthesun.org
和SLA技术相似,不过它是用高分辨率的数字光处理器投影来固化液态光聚合物,逐层地进行光固化,DLP利用投射原理,无论工件尺寸大小都不会改变成型速度。此外,DLP不需要激光去固化成型,取而代之是使用成本极为便宜的灯泡照射。
速度快,成型精度高,材料属性、细节和表面光洁度方面可匹敌注塑成型的耐用塑料部件
对分辨率要求高,打印机要求高
助听器外罩及牙科专业领域
第三代LCD最简单的理解,就是和DLP输出图像的介质不一样,一个是投影,一个是液晶屏。复杂来说,LCD技术分为两种,两种还不一样。其分界线就是光源波长,一个是405nm紫外,一个是400-600nm可见光。

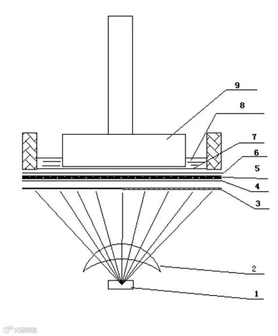
1光源,2聚焦透镜,3菲涅尔透镜,4偏振膜,5液晶屏,6偏振膜,7储液槽底膜,8光固化树脂,9固化成型件托板。
LCD掩膜光固化:用405nm紫外光(和DLP一样),加上LCD面板作为选择性透光的技术,是LCD掩膜技术(LCD masking)或者行业里有很多各自的名字,例如选择数字光处理(mDLP),液晶DLP技术,紫外掩膜固化等等。
对比前代技术的SLA和DLP,价格便宜。
结构简单。因为没有激光振镜或者投影模块,结构很简单,容易组装和维修。
LCD可选范围很少,LCD屏是易耗件。
珠宝首饰,牙科模型,模型建筑,游戏手办等


