SSD,即固态硬盘,随着协议与存储器技术的发展,被广泛应用于诸多领域。
对比传统的机械硬盘基于物理结构、接口协议、读写原理不同,在数据读写的异常保护上,也有了新的方案。
01
数据保护对比
Data Protect Compare
1. 文件系统介绍
即操作系统用以管理数据的模块单元,用以组织数据在存储介质上的存储方式以及检索方式的,常规的文件系统包括:FAT、FAT32、NTFS、ExtFAT、HFS/HFS、Ext2、Ext3、Ext4等,文件系统在管理文件数据有一个最小的数据元,即一次操作的最小单元数据,通常情况大小是512 Bytes,也叫扇区(sector)。
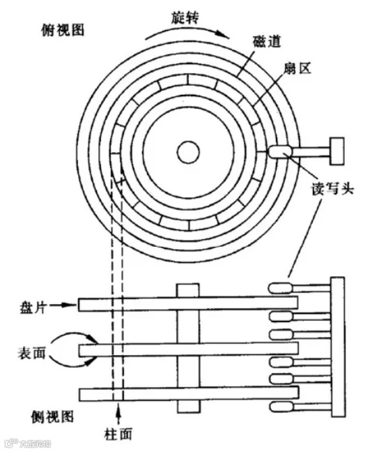
2. 机械硬盘介绍
图 1 磁盘数据结构
传统的机械硬盘,盘区被划分成一个一个圆环,每一个圆环就是一个磁道,圆环上的一段就是扇区,一个扇区模默认大小是512字节,也就是一个Sector,读写过程靠机械摆臂移动磁头到指定的磁道位置。
由于其最小单元与文件系统的最小单元一致,因此在读写过程中出现掉电等异常,通常的保护措施是保证摆臂的位置还原,并减少因为摆臂动力丢失而划伤磁道,并保证下一次上电寻道操作的正常进行。
3. SSD介绍
与传统机械硬盘不同,SSD的结构非常的简单,由控制器及存储器组成,没有了复杂的机械结构,但在数据读写的保护上,需要有一套截然不同的方案,来保证异常场景下的数据恢复,而这种方案的产生主要是由于存储器件的特性使然。
SSD的存储器件主要是一种浮栅结构的非易失存储器NAND,具有容量读写速度快的特点,但是与传统机械硬盘不同的是,这种存储器的最小操作单元是Page,在数据不满一个PAGE的情况下,通常不会立刻写入到NAND内,这个page的大小在4K到16K不等,而这个最小单元也只与存储器本身特性有关,与文件系统的最小单元几乎完全独立,因此就需要一种叫FTL数据映射技术。
图 2 FTL 映射表
FTL管理着逻辑地址到NAND的物理地址的映射关系,而这种映射关系常驻在另一种存储器DRAM内,它的读写速度更快,但却是一种易失存储器,即掉电丢失,因此,在发生异常掉电后,FTL的这种映射关系也会随之丢失,导致SSD出现数据一致性的问题,即是常说的数据丢失。
02
原理
key
如何解决因为异常掉电出现的数据丢失?
1.电容保护
图 3 电容保护
这种方式能保证SSD在掉电后依旧能工作一小段时间,这个时间通常是毫秒级的,在这个时间段内,控制器软件会对关键数据进行进行快速保存,保证数据的一致性。
但是在短短几毫秒的时间里保存所有的关键数据是否可能实现?
答案是不行,一方面由于关键数据的数据量巨大,另方面在于电容能不能保证在每一次掉电都有绝对固定的时间来保证关键数据的保存?答案是否定的,原因在于电容作为消耗品,随使用时间的增加,能够提供的电量也是有波动的,因此为了保证在下一次上电数据的正确性,需要有其他技术方案来保证。
2. 数据扩展信息(META元数据)
图 1 元数据
在电容完全无法解决的问题上,就需要对数据进行元扩展,并以软件的手段对数据进行恢复。
通常方案,对数据元扩展在一个数据单元下进行,这个单元基于不同方案可能有4k,16k,32k等,而这个单元的大小也是操作系统可知的,并且这个单元也只在SSD的FTL层可见,在SSD收到操作系统数据后(LBA为单位,一个Sector),会对数据进行整合,变成成一个数据单元(LPN),4k(或更大),在这些数据单元在拼装成NAND的一个PAGE大小后,便会被写入到NAND内,但是,随之写入的不仅仅是有效数据本身,还有这些数据的META信息。
因此,一旦写入到NAND内,每笔数据即附带了各自的META信息,它也为我们在异常掉电后的数据恢复提供了基础;
这些META信息包含哪些数据?
通常情况这些扩展信息必然包含数据元的逻辑地址,及元数据的时间戳,其他信息基于方案的不同,会有差异。
是否有了META信息,数据恢复就能完美进行?
答案也是否定的,通常的以4K为单位的SSD在数据恢复过程中仅依靠META信息进行显然是不行的,由于SSD容量巨大,要恢复完全,它的时间是系统上电无法忍受的,因此就需要另外一种加速方案;
3. 物理逻辑映射层(PTL)
不同于FTL的LTP(逻辑映射表),PTL记录了每个元数据的物理到逻辑的映射关系,它们存放在NAND的每个数据块的固定位置,上电恢复过程中只需逐个读取这张映射表,即可达到快速恢复FTL映射表的目的,通常与直接读取元数据相比有了几百甚至千倍的速度提升。
4. 时间戳(TAG)
数据的恢复还要依赖的一个扩展信息便是时间戳,它记录每笔元数据的写入顺序,依照这个时间戳的顺序,数据重建过程才能有序进行,如果没有时间戳,重建便会变得无序,数据以及映射表的重建也无从谈起。
图 1 数据重建
到此,SSD的数据恢复基本具备了重建要素,在对元数据及PTL的读取重建后就得到了一张掉电前的最接近真实写入数据的映射表。
03
小结
conclusion
通过本文深入浅出的探讨,以递进式的方式了解了SSD在数据保护方面的各种措施,从不同于传统磁盘的视角看到了新一代存储产品截然不同的技术,然而本文所讨论的技术也只是冰山一角,还有更多的技术细节等待我们发现和探索。
//
往期推荐
尧云科技(西安)有限公司成立于2018年,是雷科防务(股票代码002413)的控股子公司,是一家面向国家信息技术领域自主可控的发展战略,专注于自主存储控制芯片、固态硬盘、通用存储设备、加固存储设备、专用记录设备、专用数据系统解决方案等业务的国家级高新技术企业。
尧云科技在存储控制芯片、计算存储系统架构、信号处理算法等方面有深厚的市场和技术积累,坚持“融合、求是、创新、共赢”的核心价值观,为军工、信创、机要、交通等行业提供专用可靠的数据存储产品,致力成为中国领先的专用数据系统解决方案商。
产品系列
自主可控存储芯片
拥有自主知识产权,已录入《ZF关键软硬件名录》,适配国产DDR、NANDFLASH等关键芯片。
L1610系列芯片采用高速SATA、6Gbps接口与主机通讯,单芯片容量最大支持8TB,读写速度510MB/s以上,达到国内先进水平。
功能特点
国产化芯片
支持国产闪存
温度范围:-55℃~90℃
支持加密功能
应用领域
对数据安全性要求高的保密、安全等领域
大容量、高可靠性的应用场合
产品系列
自主可控存储芯片
现已通过GJB 150A《军用装备实验室环境试验方法》的规定
采用L1610自主可控主控芯片。硬件集成国密SM2、SM3、SM4加密算法,同时具有一键擦除功能,物理销毁功能(满足航天标准)。采用SATA接口,NVME接口,保证了SSD产品安全、高性能的特性。同时对用户数据接口可定制加密,防止数据、固件被恶意篡改。
支持Windows、Linux、中标麒麟、银河麒麟等操作系统,可广泛应用于加固计算机、工控、记录仪、视频监控等领域。
功能特点
支持全国产方案设计
支持SATA、NVME接口
支持软件、硬件自毁功能
支持健康管理以及数据恢复功能。
提供天脉、FPGA平台SATA、NVME驱动
工作温度范围-55℃-90℃
应用领域
加固计算机、工控、记录仪、视频监控等领域
产品系列
嵌入式记录仪设备
基于国产FPGA以及飞腾处理器,掌握了全国产化的产品设计方案,开发了全套完整的基于AXI架构的数据传输架构,实现了serdes、SRIO高速采集存储功能,高速回放以及数据卸载功能,优化了文件系统、SATAHost、NVMEHost、eMMCHost、万兆以太网等关键存储技术。
具有标准3U、6U及各类定制化结构及功能产品,同时可提供完全定制化的软件存储IP,可与多客户端实现功能及数据的无缝对接。
功能特点
支持全国产方案设计
提供IP+服务方案
支持硬件文件系统
采集回放速度最大6.4GB/s
强环境适应性
应用领域
雷达、视频采集存储
产品系列
加固智能设备
采用国产飞腾FT2000+作为处理器,提供丰富的计算资源,最多可使用11个计算模块。系统通过高速交换网络、低速交换网络、管理网络、计算加速扩展网络进行互连;提供国产操作系统;采用VPX加固型硬件架构。
功能特点
高密度计算
异构智能加速
计算存储一体化
全国产可定制化
应用领域
车载、舰载机动式指控信息系统;
提供可扩展、可重构、高集成、高可靠的计算和交换一体化解决方案
产品系列
专用数据系统解决方案
国产化多路硬件平台,具有高性能PCle扩展性,提供专用计算函数库以及多线程调度运行库,支持多浮点加速单元以及图像处理加速;提高核心计算模块加速及多线程计算效率;提供协同计算框架与图像预处理库;实现硬件图形加速的资源调度和图像计算加速;该解决方案已多次在相关领域进行应用。
功能特点
应用系统集成
软件算法开发
专业领域内的全数据流程处理
应用领域
等特种行业的国产化高性能数据计算、图像处理等应用场景
公众号ID:YOTTAC
尧云科技官方微信
长按识别左侧二维码,关注我们

