
建国币第一批次预约兑换明天正式开始啦!
我们总结了关于兑换的注意事项,
已在昨天进行了推送,详情点击下图



预测9月19日开始兑换后会有一个上涨小高峰,
那么抢都抢不到的建国币还会有剩余吗?
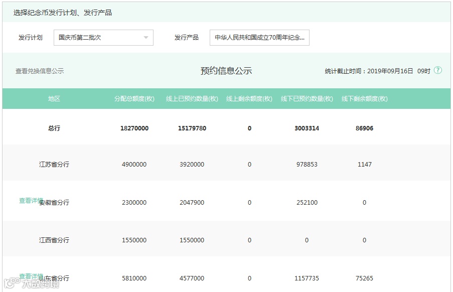
小编根据各大行的预约进度
做了最后统计:
建国币总发行量1.5亿枚
中国建设银行
第一批次

第二批次

中国银行
第一批次

第二批次

中国工商银行
第一批次

第二批次

中国农业银行
第一批次


第二批次



▼▼▼
★ 预约剩余的28万将转到现场兑换中:
根据以往纪念币预约兑换的情况来看,在第一批、二批为预约出去的纪念币会都被分配到现场兑换中去,所以我们上文总结的此次预约剩余量将会全部转到现场兑换中。
★ 公告中的331万做档案留存和装帧销售:
公告中提到的留存档案和装帧销售的额度,是在第二批9000万的额度中,一般会被提前留存下来,也就是说第二批次的预约额度其实并没有9000万。
所以我们在预约中剩余的那28万额度只会被分配到现场兑换中,不会再用于装帧和留存。
在我国,装帧一般都由康银阁负责。有些细心的藏友在公告发出后,就对330万的装帧币表现出了极大的热情。因为有人联想到发行快一年,但依旧没动静的人民币70钞,还有330万装帧迟迟没有动静的原因,是不是在等建国70周年纪念币做“钞—币组合”?

免责声明:分享自钱币头条,网络
如涉及版权问题请作者与我们联系

99%的收藏爱好者都点了"在看"

点"阅读原文"领取赵涌在线委托出售"最强攻略"


