

2015年已经过去了三分之二,我们来看一下这一年出现过的最酷的20个发明
◆
▌1、把任何物体变成索尼PS的控制器
想象一下,你可以利用任何立体的东西来操控一个虚拟战争,台球球杆,保龄球。这项发明可以让你利用任何物体来控制索尼PS平台上的游戏。

◆
▌2、跟随你声音的动画电子书
这个发明是这样的,当你在给你的孩子读电子书的时候,在你读到“龙在吼叫”的时候,你会实时听到一个大龙的叫声。微软的这个专利可以让你通过声音来控制你的动画电子书。

◆
▌3、手机屏幕的全息显示
三星开发出一种新技术,可以在你的手机屏幕上实现画面全息显示,和其他技术不一样的是,这个技术的实现并不需要额外的背光。

◆
▌4、记住你停车位置的技术
苹果申请了一个专利,通过这个专利可以用其标志用户车所停的位置,在用户找不到汽车的时候,可以通过iPhone去寻找车所在的位置。谷歌也有类似的技术。

◆
▌5、可以卷起来的手机
借助柔性显示屏技术,三星已经申请了可以卷起来的手机相关专利,据三星介绍,用户可以像卷报纸那样卷起手机,甚至可以把手机卷起来当花瓶。

◆
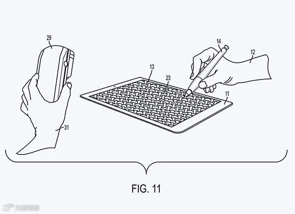
▌6、“感受”到屏幕上的“物体”
据说苹果准备推出一款搭配手写笔的新iPad,如果流言是真的话,用户在iPad上使用触摸笔,会感受到iPad内显示的东西,例如会有纹理和凹凸感。

◆
▌7、“记住”电视节目中最有趣的部分
谷歌开发出了一个技术,可以通过你面部表情记住让你感兴趣的电视节目桥段,然后这个技术可以通过这些记录在YOUTUBE上搜索相关或者同样的内容,让你可以笑得不能自理。

◆
▌8、绘制一个数字油画
通常情况下,你可以用鼠标或者电子笔来绘制图案,但是微软这个技术可以让你用刷子来画画,因为你的屏幕本身就是一个画布。

◆
▌9、学习安全驾驶
雅虎开发出了一个技术,可以监测你驾驶过程中的状态,在有驾驶错误的时候,会提醒你纠正。

◆
▌10、虚拟显示器
这种显示不是通过多屏幕实现的。索尼开发了一种新技术,用户在佩戴了特定的设备以后,可以将显示扩展到其他没有屏幕的地方。绝对黑科技,钢铁侠中的情景就可以实现了。

◆
▌11、用平板来驾驶汽车
谷歌的专利可以让你通过平板来控制汽车,这个真的不危险么?

◆
▌12、自动过滤不好的照片
索尼的新技术可以让用户自动过滤掉不好的照片,那这样的话鉴黄师岂不是要失业了?

◆
▌13、打造你的梦想购物清单
未来的亚马逊或许会根据你的搜索和观看记录,给你完善一份你真正需求的购物清单。PS:这不就CDN所作的事情么?提醒一下,淘宝不要乱搜索东西哇,少年们。

◆
▌14、永远不会被忘记的钥匙
你是否有忘带钥匙或者钱包的经历,谷歌的新技术可以让你免除这个困扰,在你离开你物品一段距离,就会发出报警的声音。

◆
▌15、在家里看全息投影
星球大战很快不再是梦想,三星已经发明了一种全息显示屏,具有360度可视角度,用户可以在家里看到全息投影。

◆
▌16、隐形眼镜就是密码?
用电脑输入密码?用虹膜扫描仪扫眼睛?这些都out,谷歌的新专利可以让你利用你的隐形眼镜扫描你的虹膜,再“告诉”电脑你是你。

◆
▌17、折叠你的智能手机
三星开发出了一种技术来折叠你的智能手机,这跟前面的卷起来有啥差别呢?

◆
▌18、在Facebook之外为你的朋友打上标签
Facebook是可以为好友打标签的,但该公司开发了一个专利,让你在任何图片上给好友打上标签印象。

◆
▌19、用脚来发送短信?
微软刚刚通过了一个专利,就是公司可以通过一种传感器,利用任何部位和动作来实现输入。这就是说,以后你可以用脚来打字?然并卵啊!

◆
▌20、没有GPS也能定位?
你不知道你的具体位置?没关系,上传一个当地拍的照片到谷歌,谷歌会告诉你你所在的位置。

各位看官,如果您觉得我们推送的文章还不错,欢迎转发分享!您的鼓励是我们前进的动力!

