点击蓝字 关注我们
为深入贯彻《中共中央国务院关于全面深化新时代教师队伍建设改革的意见》和《国家职业教育改革实施方案》文件精神,按照教育部等四部门《关于在院校实施“学历证书+若干职业技能等级证书”制度试点方案》等文件要求,杭州朗迅科技有限公司作为1+X证书试点第三、四批职业教育培训评价组织,正稳步推进1+X集成电路开发与测试、1+X集成电路设计与验证、1+X集成电路封装与测试证书试点有关工作。
申报网址:https://vslc.ncb.edu.cn/
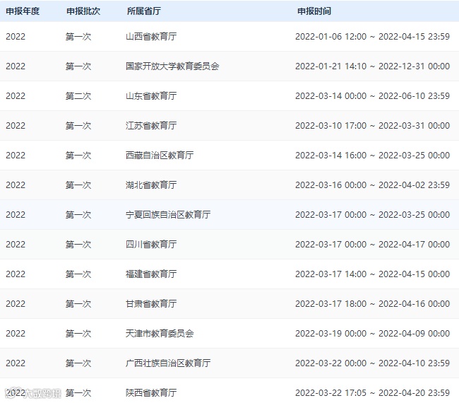
申报时间
关于证书
1+X集成电路开发与测试证书
及对应专业
主要面向集成电路相关行业企业的辅助设计、生产、售前售后维护部门,完成相关制造及前端企业的版图辅助设计、生产工艺管理、质量检测、设备维护,封装测试相关企业的生产管理、测试程序调试、产品质量检验、设备调试维修和改造以及芯片成品使用企业的应用开发等工作。
1
中等职业学校
微电子技术与器件制造、电子信息技术、电子技术应用、物联网技术应用、电气设备运行与控制、机电技术应用、电子电器应用与维修、电子材料与元器件制造、工业产品质量检测技术等专业。
2
高等职业学校
集成电路技术、微电子技术、电子信息工程技术、应用电子技术、智能产品开发与应用、电子产品检测技术、电子产品制造技术、物联网应用技术、嵌入式技术应用、智能互联网络技术等专业。
3
高等职业教育本科学校
集成电路工程技术、电子信息工程技术等专业。
4
应用型本科学校
集成电路设计与集成系统、微电子科学与工程、电子信息工程、电子科学与技术等专业。
1+X集成电路设计与验证证书
及对应专业
主要面向集成电路相关行业及企业的逻辑提取、FPGA程序设计、芯片版图设计等产品开发类部门,完成集成电路产品定义、模块指标制定、模块架构和电路设计、基于FPGA的IC设计、数字和模拟集成电路的逻辑提取、逻辑设计与验证、版图识别、版图设计与验证以及基于Verilog硬件描述语言的集成电路设计与系统设计等开发工作。
1
中等职业学校
微电子技术与器件制造、电子信息技术、电子技术应用、电气设备运行与控制、电子材料与元器件制造等专业。
2
高等职业学校
集成电路技术、微电子技术、电子信息工程技术、应用电子技术、智能产品开发与应用、电子产品检测技术、光电显示技术、嵌入式技术等专业。
3
高等职业教育本科学校
集成电路工程技术、电子信息工程技术等专业。
4
应用型本科学校
集成电路设计与集成系统、微电子科学与工程、电子信息工程、通信工程、计算机科学与技术、电子科学与技术等专业。
1+X集成电路封装与测试证书
及对应专业
主要面向集成电路相关行业企业的产品质量管理、产品参数测试、售前售后维护部门,完成封装测试相关企业的生产管理、晶圆测试参数程序设计、封装电路质量检验、电路测试参数验证、设备调试维修和改造等工作。
1
中等职业学校
微电子技术与器件制造、电子信息技术、电子技术应用、电气设备运行与控制、机电技术应用、电子电器应用与维修、电子材料与元器件制造、工业产品质量检测技术等专业。
2
高等职业学校
集成电路技术、微电子技术、电子信息工程技术、应用电子技术、智能产品开发与应用、电子产品检测技术、电子产品制造技术等专业。
3
高等职业教育本科学校
集成电路工程技术、电子信息工程技术等专业。
4
应用型本科学校
集成电路设计与集成系统、微电子科学与工程、电子信息工程、电子科学与技术等专业。
欢迎广大院校积极申报!
近期各个省厅已经陆续开发了试点申报工作,我们收集了各个院校反馈的问题,并总结归纳了此次微课内容,针对问题做了详细介绍,希望对各个院校的申报工作能有所帮助。
赶紧get本次上新资源
试点院校业务平台操作手册
模块导航:朗迅学堂—培训中心—培训资源
本期内容主要介绍了1+X证书试点和考核站点申报的操作流程及注意事项。
学习方式:
使用朗迅芯云学院在线观看课程:
① 请注册/登录平台账号
http://www.ic-edu.net/#/login
② 请复制以下网址至浏览器,或扫描二维码
http://www.ic-edu.net/course-introduce?courseId=bdb7dcdd-e009-49ef-a50b-11e148409183


