

大盘走出三连阳,春躁行情加速演绎
周一A股三大指数再次集体收涨,盘中有一定分歧,但多方热情较高,最终强势震荡收涨;科技主线背景下,科创50指数全天领涨,大涨1.76%;上证指数如期向上挑战60日线,最终涨0.56%;沪深两市全天成交额1.73万亿,较上个交易日缩量2294亿;一是虽然缩量,但1.5万亿以上的量能都是健康的,二是之前也说过,3400点之前压力不会太大,所以也没那么多人急着抛;三是今天权重动作不大,所以量能也比较稳定。
近期外资集体唱多中国;德意志银行表示,2025年将是中国企业在全球崛起的一年,中国股票估值折价的现象将消失;美国银行的策略师们建议做多中国股票,并预计美国股市在2025年初停止了持续上涨后,其领先优势将继续消退;贝莱德基金也称,对未来12~36个月的中期中国市场保持乐观。
目前,无论是技术层面还是消息层面,都指向多头这一边,二月春季躁动行情如火如荼的进行,赚钱效应较好,盘面操作难度较小,积极把握当下市场中的机会。
重点关注:DeepSeek+应用
DeepSeek的横空出世,有助于显著提升包括中国投资者在内的全球投资者对中国企业科技竞争实力的认知,强化“信心重估牛”逻辑,尤其在科技产业相关领域预计将尤为突出;所以,今天盘面上还是DeepSeek概念的天下,只不过炒作的范围扩散的越来越广。
一是医疗领域的应用,多家数字医疗领域的头部企业先后官宣接入DeepSeek,推动AI医疗加速落地;
二是教育领域的应用,AI有望深度赋能教育提升交付效率,以及提升学员个性化体验;
三是汽车领域的应用,极氪智舱、东风汽车、智己汽车等已完成与DeepSeek大模型深度融合。
龙虎榜热股
1、浙江东方:财通江滨西大道卖出13亿
DeepSeek概念股,尽管有澄清但是仍然扛过分歧完成封板;盘后龙虎榜显示,财通证券杭州江滨西大道继上周五卖出7亿后,今天再度卖出13.22亿,属于老庄趁这波利好疯狂出货;佛山系在里面大手笔做T,分时盘口显示是大烂板,预计需要先行向下调整。

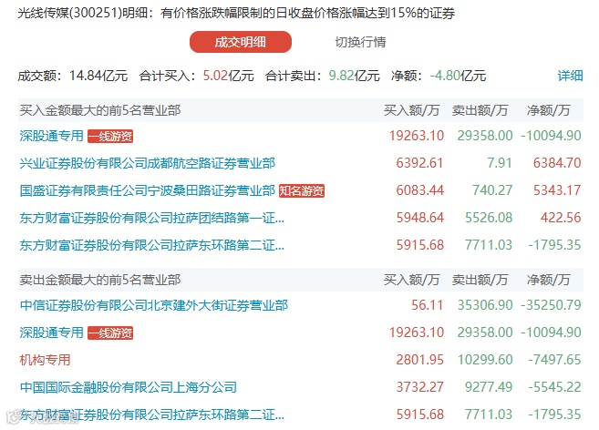
2、光线传媒:宁波桑田路买入6000万
电影《哪吒之魔童闹海》票房(含预售)突破84亿,位列全球影史票房榜29位,超越《美国队长3》。据猫眼专业版预测票房数据显示,最新预测总票房超120.5亿;所以光线传媒再次涨停,盘后龙虎榜显示,宁波桑田路买入6000万,成都系买入6400万,散户跟风买入,量化、机构、北向均开始出货,后续也是调整预期。

3、常山北明:炒股养家卖出6800万
华为概念,超跌反弹二连板;盘后龙虎榜显示,炒股养家做了一波T+1,吃肉离场;量化老样子在里面做T,北向资金分歧比较大但买卖力量均衡,散户开始跟风买入,预计再行冲高后也是调整预期。




