

寒武纪登顶A股股王,科创50强势大涨7.23%
A股主要指数今日集体走强,截止收盘,沪指涨1.14%,收报3843.60点;深证成指涨2.25%,收报12571.37点;创业板指涨3.82%,收报2827.17点;科创50指数涨7.23%,收报1364.60点。沪深两市成交额达到29708亿,较昨日缩量1948亿;
芯片股集体爆发,寒武纪涨超15%,总市值突破6600亿元,中芯国际暴涨超17%,总市值逼近1万亿元,创历史新高;在超越贵州茅台之后,寒武纪的股价整体震荡上行,尤其是尾盘涨势强劲,相较而言贵州茅台盘中一度有所震荡下行。截至28日收盘,寒武纪股价上涨15.73%,每股股价接近1600元,收报1587.91元/股,贵州茅台股价则微跌0.13%,收报1446.10元/股。以此来看,寒武纪每股股价高出贵州茅台141.81元;
总体来看,当前A股市场呈现明显的“资金抱团科技主线”格局,科技成长方向成为增量资金聚焦的核心。以AI算力、半导体、人工智能应用、机器人等为代表的科技板块持续获得主力资金净流入,而周期、军工等板块则遭遇资金大幅流出,市场结构性分化显著,聚焦主线方向。
重点关注:AI软件
近日,DeepSeek正式上线V3.1,其Base模型在V3的基础上增加训练了840Btokens。V3.1—Think在输出token数减少20%—50%的情况下,各项任务的平均表现与R1-0528持平;相比于V3-0324在非思考模式下,能够在输出长度明显减少时保持相同的模型性能;
龙虎榜热股
1、领益智造:四机构合计卖出4.55亿
今天尾盘再度涨停,盘后龙虎榜显示,四机构合计卖出4.55亿,北向买入3.14亿,上海超短买入1.03亿,由于是拉尾盘,且机构资金大举出逃,预计短期要回调。
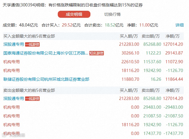
2、天孚通信:章盟主买入3亿
易中天之一,盘后龙虎榜显示,章盟主买入3亿,一机构买入1.11亿,四机构合计卖出6.91亿,北向买入12.70亿,市场抱团的核心品种,预计还未结束。
3、中芯国际:两机构合计卖出11.35亿
芯片制造龙头,今天大涨超17%创新高,盘后龙虎榜显示,两机构合计卖出11.35亿,北向卖出4.62亿,东大名路买入4.27亿,中山东路买入4.12亿,量化买入2.63亿,境外机构买入2.7亿,游资介入,预期短期回调。



