

沪指“七连阳”,即将重返4000点
A股三大指数今日集体小幅上扬,沪指日线七连阳。截止收盘,沪指涨0.47%,收报3959.62点;深证成指涨0.33%,收报13531.41点;创业板指涨0.30%,收报3239.34点。沪深两市成交额达到19245亿,较昨日放量443亿;个股方面,上涨股票数量接近3800只,近百股涨停。商业航天再掀涨停潮;
12月25日,更多反映国际投资者预期的离岸人民币对美元汇率升破“7”,这是去年10月以来首次收复这一整数关口。今年以来,离岸人民币对美元汇率累计升值达到4.6%;人民币走强反映国际资本对中国经济增长的信心增强,前三季度GDP同比增长5.2%,出口结构持续优化,新质生产力表现亮眼;
央行货币政策委员会2025年第四季度例会召开,会议分析了国内外经济金融形势,提及“要继续实施适度宽松的货币政策,加大逆周期和跨周期调节力度,更好发挥货币政策工具的总量和结构双重功能,加强货币财政政策协同配合,促进经济稳定增长和物价合理回升;央行表态和汇率走势共同支撑A股连阳上攻 。
重点关注:人形机器人
优必选发布公告,以“协议转让+要约收购”的组合方式共收购锋龙股份43%股份,股份转让价格、要约收购价格均为17.72元/股,合计总对价达16.65亿元;锋龙股份早盘竞价抢筹金额逼近300亿,是其流通市值的6倍多,收盘封单仍有33.3亿,刺激资金回流机器人赛道;
此前,宇树G1机器人于王力宏成都演唱会完成全球首次群体舞蹈秀,6台机器人同步完成韦伯斯特空翻等高危动作,响应速度达毫秒级,通过激光雷达实现密集环境避障。马斯克转发视频赞誉“令人印象深刻”,海外播放量超654万次;
宁德时代全球首条人形机器人动力电池产线投产,千寻智能研发的“小墨”承担高压插接任务,成功率超99%,效率达人工3倍。智元机器人宣布第5000台量产下线,深入工厂与多元场景作业;短期关注“人形机器人”概念。
龙虎榜热股
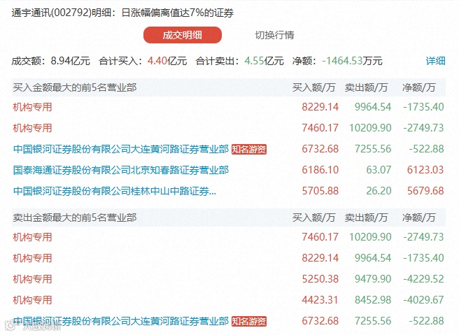
1、通宇通讯:四机构合计卖出1.27亿
商业航天概念,今日再度涨停创新高,也是陈小群深度运作的票,盘后龙虎榜显示,四机构合计卖出1.27亿,陈小群做T减仓523万;后续抛压大概率要加大。
2、天银机电:六机构合计卖出1.04亿
也是炒商业航天概念,但是属于趋势跟风后排股,今日冲高回落,盘后龙虎榜显示,全是机构资金在操作,六家机构合计净卖出1.04亿,分歧比较大,后续有回调预期。
3、天际股份:陈小群买入2.33亿
尾盘冲板,但是没能封住,属于垃圾股炒作类型;盘后龙虎榜显示,陈小群买入2.33亿,章盟主买入1.18亿,桑田路买入5900万,越王大道买入8500万,两家机构合计卖出2.64亿,小棉袄卖出1.17亿,短线超跌反弹修复充分,预期要先回踩。



