前不久,郑爽因为1.6亿天价片酬,日赚208万而广受热议。大家都觉得明星挣钱太厉害了,怪不得现在的年轻人都想当明星。
不过明星看似很光鲜,其实也很脆弱。娱乐圈更新换代的速度相当快,也许今天还爆红,明天就变成黄花菜无人问津了。而且多数明星自己是没有话语权的,拍什么戏穿什么衣服要听公司的,大部分收入也得上交背后的资本。
于是他们尝试走出职业束缚,跨界自己开公司或投资。其中赵薇可以说是跨界最成功的明星之一了,曾以63亿身价成功登上“全球白手起家女富豪榜”,一度被称为娱乐圈“女版巴菲特 ”。
01
50倍杠杆上演“空手套白狼”
然而“女版巴菲特”也有失误的时候,赵薇夫妇原本打算利用一家空壳公司,收购市值百亿的万家文化。但由于监管层的介入,这笔收购以失败告终,还各自被罚款30万元,并且5年内不允许进入证券市场。
2016年底,赵薇投资的龙薇传媒宣布以30.6亿元收购万家文化29%的股份。
然而龙薇传媒于2016年11月2日才成立,注册资本200万元,当时尚未实缴到位,未开展实际经营活动,总资产、净资产、营业收入、净利润都为零。
也就是说这实际是一家刚成立一个月的空壳公司,没有任何主营业务,连注册资本都没有实缴到位。
本来企业之间收购很正常,万家文化的市值为百亿,龙薇传媒的注册资金却只有200万,要是收购成功,无疑是一段蛇吞象的佳话。但赵薇夫妇用来收购的30.6亿的价格中,只有6000万是赵薇夫妇的,剩下的钱全部是从金融机构借来的,杠杆比例高达50 倍。(PS:感觉这是跟马云学的?
)
这样的操作自然也引起了市场和监管层的质疑,随后两家公司协商后同意终止收购交易,并在两天后签署了解除协议。
收购最终终止,导致股价大幅下跌。在赵薇收购消息曝出前后,万家文化的股价曾连续出现大幅上涨,并且换手率极高,有业内人士猜测,尽管收购未成,万家文化背后的资金方,早已借着赵薇的名气拉高出货,但散户们可就损失惨重了。
这次收购也被称为“空手套白狼”割韭菜事件。
02
赵薇770万股权再遭冻结
在“空手套白狼”事件之后,赵薇近期似乎又失手了。
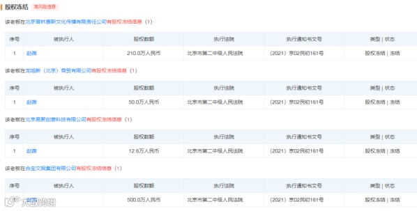
据天眼查APP显示,赵薇名下四家公司的股权被冻结,冻结期限至2024年4月。

这四家分别是北京普林赛斯文化传播有限责任公司、龙旭新(北京)商贸有限公司、北京易聚创意科技有限公司、合宝文娱集团有限公司,被冻结股权数额依次为210万元、50万元、12.6万元、500万元,总计772.6万元。
其中,北京普林赛斯文化传播有限责任公司成立于2002年11月,注册资本300万元,该公司最大股东为赵薇,持股比例70%。
龙旭新(北京)商贸有限公司成立于2011年9月,注册资本50万元,该公司由赵薇全资持股。
北京易聚创意科技有限公司成立于2014年11月,注册资本126万元,赵薇在该公司持股10%。
合宝文娱集团有限公司成立于2015年,注册资本1.11亿元,赵薇持股4.51%。
为什么会冻结了这四家公司的股权呢?有网友说是因为郑爽事件被查出“偷税漏税”了,真的是这个原因吗?
一般而言,股权不是随便就被冻结的,需要达到一定条件:
1、公司或股东将股权对外进行抵押
2、企业申请破产
3、股权有争议
4、在债务官司中,其他资产不足以偿还债务,用股权偿还债务
整体来看,第三种股权有争议的可能性比较大。不过这些钱对于如今的赵薇来说或许都只是毛毛雨,伤害并不大!
03
逆袭背后的商业帝国布局
赵薇原本只是一个靠还珠格格大红后跻身国内一线的女明星,但遭遇“军旗门”和“泼粪门”之后,她彻底醒悟了,娱乐圈花无百日红,吃青春饭注定走不长,不如利用自己的明星效应投身商界玩资本,于是她开始逐步部署自己的商业大计。
和丈夫黄有龙结婚之后,赵薇开始结识商界上层人士,其中包括王健林等一些大佬,而赵薇真正成功还是认识了马云,当时阿里想带着资本进军娱乐圈,赵薇便为马云牵线搭桥,介绍资源。
在2014年,赵薇夫妇用25亿元人民币拿下了阿里影业9.18%的股份,成为阿里影业第二大股东。但他们没持有太久,2016年,阿里影业暴涨后,两人套现23.17亿港币。
虽然自从赵薇夫妇被证监会行政处罚后,马云开始辟谣和赵薇的关系,但细心的网友还是发现了两人已往的细枝末节,关系还是不一般的。
去年蚂蚁集团准备上市的时候,还被查出赵薇以母亲魏启颖的名义成为云锋基金的合伙人,持股市值达到5亿元。
所以说瘦死的骆驼比马大,圈子决定格局,从娱乐圈进入资本圈,赵薇成功完成逆袭。所谓背靠大树好乘凉,资本市场也是如此。
关注我们,了解不一样的商业故事~
推荐阅读
第七次人口普查,14亿人口大国的新挑战,内卷化和老龄化成为重大危机!
比尔盖茨离婚的真相:是为了躲避富人税?
以上部分文字、图片素材整理于网络
如有侵权请联系删除

