
来源:金红 雷锋网
在去年苹果推出的最新12寸MacBook中,续航时间提升了一倍达到9个小时,不过苹果的续航能力依然屡受诟病。而根据其最新申请的专利显示,苹果正在计划利用新的电池技术来提升续航时间。

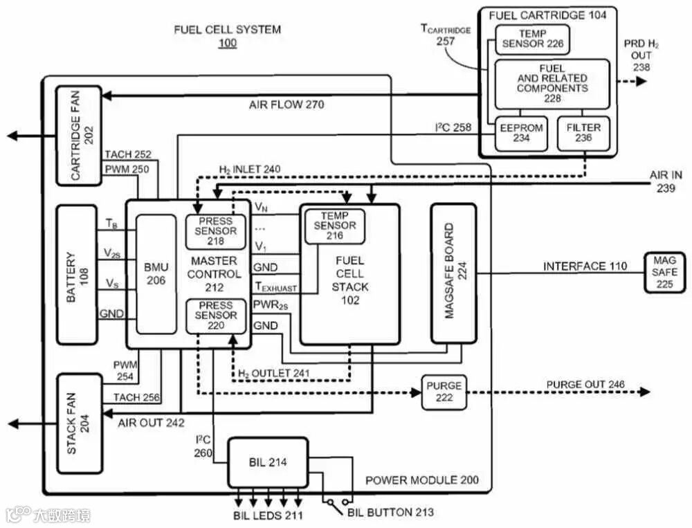
美国专利局近日公布了苹果在今年三月份申请的燃料电池专利,根据专利内容文件显示,这项专利将可能应用在未来的 MacBook等设备 上,并可让续航时间在不使用外接电源的状态下使用时间延长至一周。
据悉,这不是苹果公司第一次提交类似的专利技术申请,此次的专利申请是2010年申请另外两个专利的延续。不过,苹果在相关技术上做了提升。
根据公开的专利图文显示,苹果计划利用氢燃料来产生电能,给电子设备供电。苹果正在开发供电系统和设备的功能连接方式,以及后续采用何种方式添加氢燃料。图中还提到了苹果在 MacBook 上使用的电源接头专利 MagSafe,因此极有可能该专利将应用于新的MacBook上。
目前全世界的智能手机和笔记本电脑等设备,主要采用锂电池。但是在电池储能方面,锂电池技术在过去多年中进展缓慢,储能越大,体积就越大,给电子产品设计带来难题。
燃料电池原理是一种电化学装置,其组成与一般电池相同。其单体电池是由正负两个电极(负极即燃料电极和正极即氧化剂电极)以及电解质组成。不同的是一般电池的活性物质贮存在电池内部,因此,限制了电池容量。而燃料电池的正、负极本身不包含活性物质,只是个催化转换元件。因此燃料电池是名符其实的把化学能转化为电能的能量转换机器。
燃料电池具有发电效率高、环境污染少等优点。不过如果要保证一定的续航时间,燃料电池的体积就会比较大,或者也是为什么苹果未将其首先应用于iPhone上。
其实在上个月底,英国“智能能源公司”(Intelligent Energy)就已宣布成功开发了一款氢燃料电池,可以给苹果iPhone 6手机的电池充电,续航时间长达一周。据悉这家公司开发的氢燃料电池体积超薄,不过不知道真的能否跟得上iPhone变薄的速度。谁知道新的iPhone会有多薄呢。
---END---
微型电动车标准化技术工作委员会于7月5日在北京成立,欢迎各微型电动车厂商参与标准化工作,联系电话:010-83520995。
协会及联盟会刊《电源工业》现征集广告及稿件
内容包括:电源、新能源、电动车、微型电动车产业的新产品、新技术、新动态,应用案例,技术趋势、行业热点,对以上行业的政策解读、分析、评论等。
联系电话:010-63531554
投稿邮箱:ad@powermagazine.cn
刊物网站:www.powermagazine.cn


