
日前,昭通市消防救援支队上半年申报的“集装箱式真火实战训练装置、回燃实验演示装置、轰燃实验演示装置、可变向的消防水枪、模块化的多层民用建筑火场排烟演示装置、船外机螺旋桨保护罩、水域救援抛绳包、动力艇快速移动装置”等共计9项发明创造获得国家知识产权局颁发的《实用新型专利证书》和《外观设计专利证书》。这些专利涵盖了消防器材、灭火技术和安全装备等多个方面,既有改进功能、提升性能的改良性器材,也有立足于灭火救援实际需求的自主研发性装备,解决了部分难题,提升了灭火救援效率。
这是继2022年云南省消防救援队伍人才工作会议在昭通成功组织召开后,昭通市消防救援支队在推进专业化建设工作中取得的新发展、焕发的新风采、展现的新成效。“申请这些专利不是为了发明而发明,目的只有一个:为了提高救援的能力和效率。消防设备的发明创新,要做到从实战中来,到实战中去。”昭通消防救援支队相关负责人说道。而昭通市消防救援支队也将继续从专业化上找准突破点,从实战化上找准关键点,以科技创新为引擎,聚焦主责主业,创新模式升级,持续提升核心主业的硬核战斗力。
链接
船外机螺旋桨保护罩
船外机螺旋桨保护罩示意图
救援船艇行驶在救援水域中时,由于水体中常混杂有砂石,绳索等杂物,船外机的螺旋桨在高速旋转过程中,容易被砂石等撞击或被水草、绳索等杂物缠绕导致无法运转,进而使救援船艇无法实施水域救援工作,严重影响救援效率。该保护罩通过对拉梁及水刀的合理设置及结构强化,不仅有效避免了船外机的螺旋桨在船艇行驶过程中,石块等杂物对螺旋桨的损坏,提高了船外机的使用寿命,还极大降低了落水人员安全风险,为全国全省水域救援培训保驾护航。
动力艇快速移动装置
动力艇快速移动装置示意图
在进行水域救援时,很多时候,水域边缘距离运输冲锋舟的车辆所能到达的位置较远,而单个救援冲锋舟的重量在100kg-150kg左右,长度一般大于2米,宽度一般超过1.5米,搬运时,通常需要至少3名救援人员才能完成,而为了实现快速救援的目的,一般安排至少5名救援人员共同协作完成搬运。因此,当水域岸边距离车辆可抵达的位置较远时,需要救援队员消耗大量的体力来完成搬运,而通过加装动力艇快速移动装置,成功解决了此类问题。
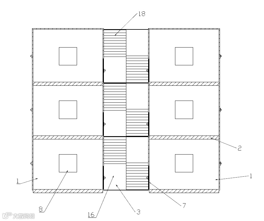
集装箱式真火实战训练装置
集装箱式真火实战训练装置示意图
现有的真火训练装备在集装箱内布置各种场景,让消防员进行各种场景下的真火训练,但是现在的真火训练装备缺少对于不慎跌落到下一层或者低于水平面的场所的遇难人员的救援训练。该集装箱式真火实战训练装置,使消防救援人员真实体验在黑暗、高温、浓烟环境,充分运用火场测温工具,掌握读烟、识烟技巧和破拆进攻时机,利用多功能水枪水流变换和门控技术等紧急避险措施,如何在中性面以下躲避烟气侵袭,让消防员提前适应火场中突然跌落的情况以及快速进行队员互救,也能快速的对遇难人员进行救援。提高了消防员对于民房建筑室内火灾的火场经验,降低消防员在执行灭火救援任务时的伤亡率。
回燃实验演示装置
回燃实验演示装置示意图
现在消防救援人员对于回燃现象的学习,多是通过理论结合视频讲解,学习过程较为抽象,缺乏理论和实践相结合的演示道具。该装置可使训练人员直观感受到回燃现象:通风不良蓄积大量的烟气,燃烧处于缺氧状态,如增加通风,开口处流出脉动式热烟气,有烟气被吸入室内,热烟气容易发生爆炸性或快速燃烧。亦可使学员自行操作控制回燃现象的发生。
轰燃试验演示装置
轰燃试验演示装置示意图
轰燃标志着火灾进入全面发展阶段。该轰燃现象实验演示装置,使消防救援人员直观感受轰燃现象、发生条件及所产生的危害,可以直观地告知消防员应该在轰燃发生的哪一个阶段进入火场救援,强化了烟火特性教学讲解和火灾教育宣传。
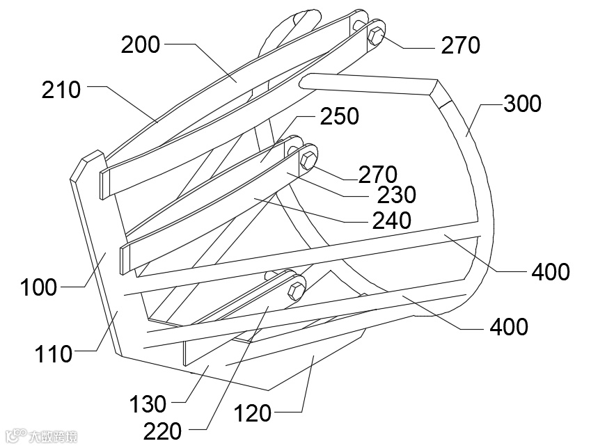
可变向的消防水枪
可变向的消防水枪示意图
现有的消防水枪大多是直线型的水枪,少数的带有弯头结构的水枪,主要是用于隐蔽环境内或受限空间的死角,需要消防人员手扶水枪操作,而当需要从着火楼层的下一层或者上一层向着火层喷水作业时,需要消防员将身体探出窗外以瞄准作业,且由于水枪喷水时压力较大,不仅非常不便于消防员的操作,且有发生意外坠落的风险,同时,长时间支撑水枪,对消防员的体力消耗会较大,影响作业效果。该水枪含底座,实现了消防员在窗户上安装架设该水枪,不需要长时间耗费体力控制,便可在起火层上一层或者下一层对着火房间内进行喷水,以实现降温及控制火势的目的,为消防员进入着火楼层创造相对安全的条件。
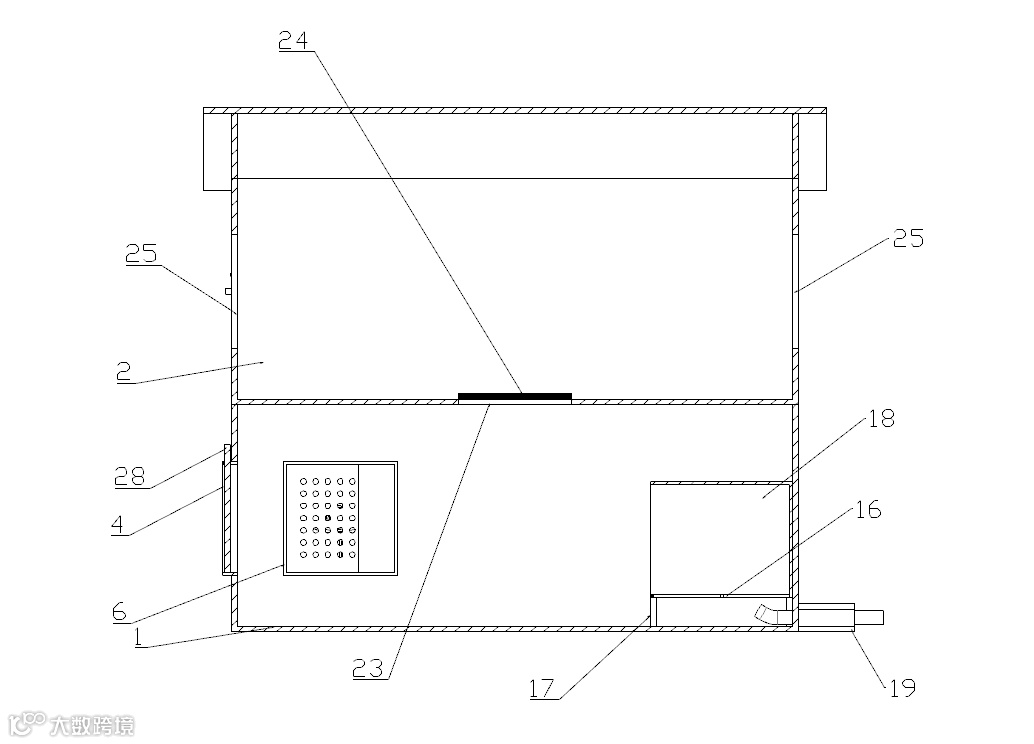
模块化的多层民用建筑
火场排烟演示装置
模块化的多层民用建筑火场排烟演示装置示意图
消防员掌握了烟气的性状、规律、燃烧物的性质,才能够有效地自我防护,才能够准确、安全地实施救援。该装置使用透明亚克力板制作,可以拼装出单把疏散楼梯或多把疏散楼梯,也可拼上电梯模块,模拟电梯单元楼中烟气流通的情况;同时可进行其他的排列组合,组成单层楼房、多层楼房、电梯楼梯混用型的楼房。使学员更加直观的了解到多层民用建筑发生火灾后的烟气流动情况,从而选择性地运用最有利的排烟方法进行排烟作业。
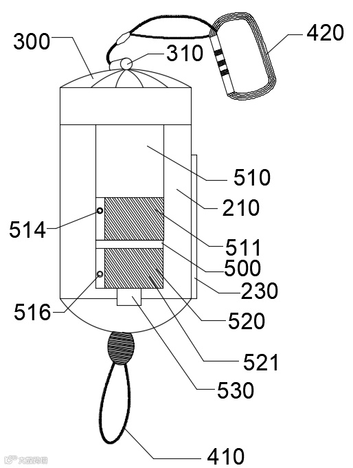
水域救援抛绳包
(同时申请外观设计专利)
水域救援抛绳包示意图
现有的抛绳包大多采用的是腰部固定,为了防止抛绳包的掉落,一般设置至少2个连接扣,当救援人员位于水中时,拆卸下来十分不便,一边要防止自己下沉,同时还要克服水的浮力,将位于腰部的抛绳包拆卸下来,个别绳包拆卸时不能实现单手拆卸,给位于激流中的救援人员带来安全风险,急需改善。介于这些问题,支队通过采用新型材料和设计进行改良,通过插绊式和粘贴式挂于胸前,大大增强了消防员的操作使用性和佩戴舒适度。
▌来源:昭通消防
▌编辑:赵珺珺
▌校对:李子涵
▌审核:柴春雨
点击查看⬇️

