长租社区必须配备安防监控系统,包括视频监控、门禁管理等功能。这一体系能保障住户安全、提升社区品质,同时助力运营方实现社区管理、降低风险,为租户营造安全舒适的居住环境。但在传统安防监控系统下,公共安全仍高度依赖人力盯防——监控画面堆积成海,却只能被动回查;异常事件频发,却因响应延迟而错失处置良机;专职安保团队盯看,人力成本持续攀升。低效、高耗、漏判等传统监控系统正让安全管理陷入“看得见却管不住的困境”。如何用低成本激活现有设备,让AI代替人脑“秒级”识别风险?魔方寓视AI安防系统应运而生。
魔方寓视AI安防系统依托人工智能、大数据与物联网技术,打造全天候、全场景的智慧安防解决方案,为公寓、长租社区、产业园区及公共安全保驾护航!

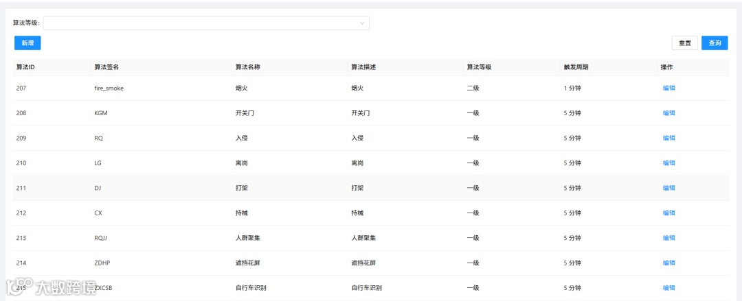
在长租社区安全管理中,魔方寓视AI安防系统作为"智慧守护者",基于自主研发的视觉大模型算法,为社区公共区域提供全天候智能监控解决方案。系统深度聚焦长租社区管理中的典型痛点,通过AI智能分析实现多维度精准识别:系统可智能实时监测工作人员睡岗、脱岗、电动车违规进入电梯、高空抛物等危险行为。同时还能智能识别消防通道占用、人员聚集、区域入侵、烟火等20余种风险场景。以“云眼”替代人眼,通过7×24小时无间断风险预警,构建起"监测-预警-处置"的闭环安防体系,提升社区安全管理智能化水平,为住户创造更安全、更安心的居住环境。


1.利旧兼容:无缝接入现有监控设备,零硬件改造成本

2.轻量化云端方案:零硬件部署,低成本接入AI安防
魔方寓视AI安防系统采用全栈云端AI分析技术,无需本地部署额外智能硬件,直接赋能现有监控设备,实现"开箱即用"的极简部署体验。系统依托轻量化云端架构,支持快速接入和弹性扩展,通过统一管理平台整合视频监控等资源,提供一站式云端AI分析与管控。其操作界面简洁直观,使用门槛低,大幅降低部署成本和运维难度,显著提升管理效率,让长租社区的智能化升级更简单、更经济。

3.进化升级:模型持续自学习,安防能力越用越强
魔方寓视AI安防系统具备自进化能力,通过机器学习持续优化算法模型,不断提升异常识别和环境适应能力,实现智能化水平的动态升级。

魔方公寓上海虹桥店接入魔方寓视AI安防系统,通过接入门店摄像头数据,全面覆盖前台、楼道及公共区域,实现24小时智能化安全管控。实现多项安全管理功能:在前台区域,实时监测工作人员离岗、睡岗等异常行为,并智能识别人员聚集情况,确保服务规范;在楼道及公共区域,系统高精度检测烟,可第一时间发现火灾隐患,同时智能识别消防门未关闭、通道堆物等安全隐患,推送告警信息至管理人员。

魔方寓视AI安防系统的深度应用,显著提升了门店的安全管理效率,降低了人力巡检成本,同时大幅减少安全隐患响应时间,为住户营造更加安全、智能的居住环境。
【技术内核】
✔️自研技术团队+行业顶尖大模型双擎驱动
✔️ 核心功能智能进化,每月迭代升级不间断
✔️ AI硬核科技加持,实现全链路自动化管理
【服务护航】
✅ 专属顾问1v1深度咨询,量身定制解决方案
✅ 7×24小时智能监测运维,实时响应突发状况
✅ 全周期技术赋能,助您轻松驾驭业务全局
【系统保障】
🔧 复杂场景适应专家,多家国央企级客户验证
🔧 金融级安全防护体系,系统稳定性承诺
🔧 前沿技术+贴身服务,打造企业数字新基建
来源:魔方智联数字科技
(文章内容仅为作者个人观点,不代表所在企业观点)
2025年5月21月
第九届地新引力峰会·住房租赁论坛
安居有道 租赁有为
联系我们,立即参与
↓↓↓↓

