项目规划 VS 现实:从 “网红打卡点” 到施工停滞
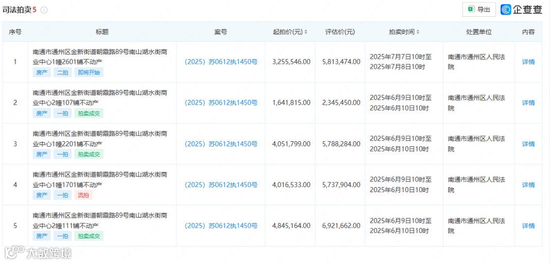
曾被寄予厚望的南山湖水街二期旺角中心,规划蓝图十分亮眼:定位 “超越一期的网红集群”,通过天桥与一期连通,欲与万达广场形成 “三足鼎立” 格局;2022 年高调推出商铺,主打 “水街铺王” 概念,甚至大家都期待二期开业。
但现实却狠狠打脸:官方公众号停更近一年,2023 年 9 月最新进度显示项目仍在玻璃幕墙施工阶段;招商进展成谜,盒马鲜生等品牌入驻无望,一期商场更被网友吐槽 “黄金时段多家餐饮关门”“租金高、客流少”,商户生存艰难。
❓ 高溢价成交是 “价值洼地” 还是资本博弈?❓
一边是开发商债务危机、项目推进停滞,一边是核心商铺千万级溢价成交,市场对此争议不断:
支持者认为:南山湖板块作为通州核心区,万达广场、地铁规划等配套加持,商业潜力仍被资本看好;
⚠️这起拍卖如同一个缩影,折射出通州商业地产的复杂现状:优质地段资产仍具吸引力,但开发商资金链、项目运营等风险不容忽视。南山湖水街二期能否打破 “规划美好、落地艰难” 的魔咒?这场千万级交易究竟是 “抄底” 还是 “接盘”?后续进展值得持续关注。
📝 今日话题
你觉得水街商铺高溢价成交的原因是什么?南山湖板块商业未来能起飞吗?评论区聊聊你的看法!
小编工资已与
挂钩,一
三分钱
求!打!赏!
寻根通城丨酥脆飘香,风雅西亭
老城心跳重启倒计时!通州原钟楼地块即将开发建设
寻根通城 | 千年堤畔,烟火骑岸
通州这道美食靠实力火出圈!你吃过了吗?
【图解】来了!2025年通州城区学校施教区范围出炉
商务合作电话(同微信)13776957238
通州在线《特别军事夏令营》火热报名中
点击下方图片了解详情
名额有限,速冲!
更多精彩内容请关注
通州皮哥视频号
“通州皮哥”
▍爆料(投稿)有奖:您身边的大小事/烦心事/感人事均可,采纳就有红包,请向通州在线网回复:爆料
【🔥 通州人的线上根据地,火速集合!🔥】
关注 “我爱大通州” 的你,是否渴望一个 真实、纯粹的通州本地交流圈?
↓↓↓请点阅读原文访问【通州在线手机端】免费发布供求
通州在线《特别军事夏令营》火热报名中
点击下方图片了解详情
名额有限,速冲!
更多精彩内容请关注
通州皮哥视频号
“通州皮哥”
▍爆料(投稿)有奖:您身边的大小事/烦心事/感人事均可,采纳就有红包,请向通州在线网回复:爆料
【🔥 通州人的线上根据地,火速集合!🔥】
关注 “我爱大通州” 的你,是否渴望一个 真实、纯粹的通州本地交流圈?
更多精彩内容请关注
通州皮哥视频号
“通州皮哥”
【🔥 通州人的线上根据地,火速集合!🔥】
关注 “我爱大通州” 的你,是否渴望一个 真实、纯粹的通州本地交流圈?
【🔥 通州人的线上根据地,火速集合!🔥】
关注 “我爱大通州” 的你,是否渴望一个 真实、纯粹的通州本地交流圈?
【🔥 通州人的线上根据地,火速集合!🔥】
关注 “我爱大通州” 的你,是否渴望一个 真实、纯粹的通州本地交流圈?
↓↓↓请点阅读原文访问【通州在线手机端】免费发布供求
↓↓↓请点阅读原文访问【通州在线手机端】免费发布供求


