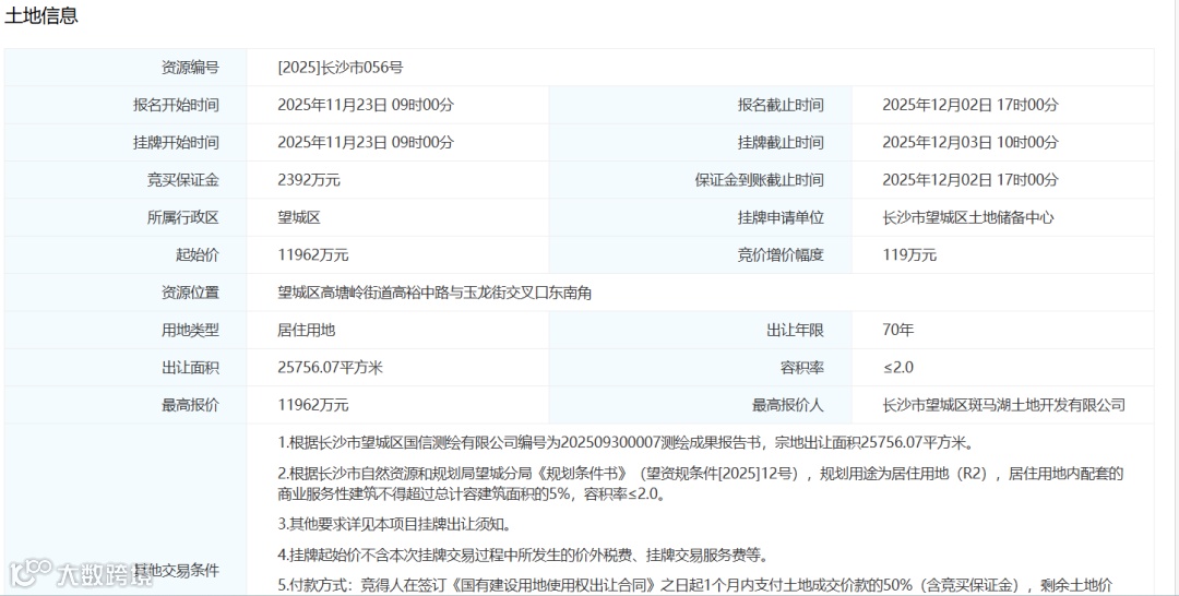
今日(12月03日),望城区成交两宗涉宅用地——[2025]长沙市056位于望城区高塘岭街道高裕中路与玉龙街交叉口东南角,[2025]长沙市057号位于望城区雷锋大道与取忠路交叉口西南角。楼面价分别为2322元/㎡和2740元/㎡,竞得者分别为长沙市望城区斑马湖土地开发有限公司和长沙望达智造产业发展有限公司。
成交信息
[2025]长沙市056号楼面价2322元/㎡
[2025]长沙市057号楼面价2740元/㎡
(来源:长沙市国土资源局网上交易系统)
地块特殊摘牌条件:
1.落实望城区智慧城市建设要求。
2.项目建设须按相关文件落实装配式建筑、绿色建造和教育等配套要求。
3.实现“交房即交证”。
4.对住宅阳台统一封闭设计,并在住宅交付前实施完毕。
5.落实望城区住建局关于浅层地热能利用试点要求。
6.住宅(毛坯)销售均价按长沙市政策进行价格监制。

(宗地位置)
[2025]长沙市057号地块出让面积5.71万方,容积率≤2.2,计容建面约11.42万方。成交总价34430万元,成交楼面价楼面价约2740元/平米。由长沙望达智造产业发展有限公司竞得。
(来源:长沙市国土资源局网上交易系统)
地块特殊摘牌条件:
1.落实望城区智慧城市建设要求。
2.项目建设须按相关文件落实装配式建筑、绿色建造和教育等配套要求。
3.实现“交房即交证”。
4.对住宅阳台统一封闭设计,并在住宅交付前实施完毕。
5.落实望城区住建局关于浅层地热能利用试点要求。
6.住宅(毛坯)销售均价按长沙市政策进行价格监制。

(宗地位置)
区位表现
国家级望城经开区
产业兴盛·人口吸附力强大
地块所处的望城经开区,成立于 2000年,2014年升级为国家级经济技术开发区,是长沙建设国家中心城市的重要区域。园区全境纳入国家级湖南湘江新区、长株潭“两型社会”综合配套改革试验区、国家自主创新示范区和环洞庭湖生态经济圈四大国家发展战略范畴,是长沙对外开放的新门户、城市发展的新中心、产业聚集的新高地。
2024 年,园区实现技工贸总收人1419 亿元,规模工业总产值同比增长 10.4%,在国家级经开区综评中挺进全国百强、跃居 92 位。
(望城经开区俯瞰实景)
(部分入驻企业)
新材料先进制造产业现有规上企业175家,形成了以中信藏卡、泰嘉新材、展通科技、金龙铜业、永杉锂业、黑金刚、金能源、德赛电池、桑特液压、吉成新材为代表的产业集群。园区是全球最大铝轮毂生产基地、全球最高消防云梯生产基地、全国唯一专业飞机起落架生产基地;园区的电镜、高压开关、硬质合金在世界各地建设领域大放异彩。
“产业兴则人口聚”、“产业兴则百姓富”,望城经开区凭借强势的产业布局和基础,可以产生巨大的人口虹吸效应,可以为房地产市场提供巨大的人口红利,可吸附高层次人才、职工来对位房地产市场需求,"以产聚人、以业留人",望城经开区成功地实现了从"产业动能"到"人口动能"的转化,并最终形成 "城市发展动能" 的良性循环。
来源/克而瑞湖南
撰写/彭辉
审核/刘芳、蔡嫣
版权申明:本文版权归克而瑞湖南机构所有,未经许可与授权,严禁转载。
如需转载和合作,请添加“CRICCS0731”微信号。
免责声明:本文中的内容和意见仅供参考,并不构成对所述城市的出价或评估,我司对使用本文中内容所引发的任何直接或间接损失概不负责。
土地成交 |持续深耕!润和城再次出手摘得月亮岛正地铁口地块
土地成交 ▏润和城重仓大泽湖,解码“教育+地铁”双核驱动的价值逻辑
土地成交 | 溢价49%,园康&信宇1.12万元/㎡刷新今年主城楼板价纪录
土地成交 ▏中轴线旁成交一宗商业地,梅溪湖添一所研究院
土地成交 ▏嘉信地产以22.98%溢价率竞得洋湖地块,再掀土拍热潮

