


南京林业大学
西南石油大学

中国航天科技集团公司第五研究院
河北地质大学
北华航天工业学院
内蒙古工业大学
大连海事大学
江苏科技大学
江苏海洋大学
自然资源部第二海洋研究所
安徽大学
东华理工大学
华北水利水电大学
中南林业科技大学
云南大学
西安科技大学
长安大学

湖北文理学院
-
伊犁师范大学



-
北京建筑大学

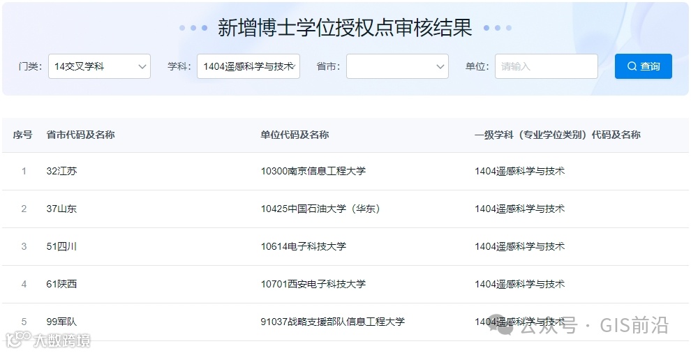
南京信息工程大学
中国石油大学(华东)
电子科技大学
西安电子科技大学
战略支援部队信息工程大学

河海大学
宁波大学
中国地质大学(武汉)
宁夏大学


来源:国务院学位委员会办公室
- END -
1:500、1:1000、1:2000航测技术设计书(文档可下载)
无人机航测从正射、三维建模到房屋、地形、立面采集技术流程(CC+EPS+CASS3D)
近500G航测和激光雷达数据集下载
利用ArcGIS确定一张照片的拍摄位置及方向
空域申请 | 无人机航测UOM系统合法飞行申请流程




