综合申报终于来了!
国家税务总局批准,北京10月1日起正式执行五税合一综合申报,全国各地正在稳步推进。
综合申报实现了一张报表、一次申报、一次缴税、一次凭证,对缓解企业资金压力、节省纳税时间、减轻企业负担有很大帮助。
五税合并申报10月起执行
自2020年10月1日起,纳税人需申报缴纳企业所得税(预缴)、城镇土地使用税、房产税、土地增值税、印花税中一个或多个税种时,可选择综合申报。
综合申报主要适用于——企业所得税按实际利润额按季预缴的查账征收企业,暂不涵盖按月预缴企业、核定征收企业和跨地区经营汇总纳税企业。
印花税按季或者按次计征。实行按季计征的,纳税人应当于季度终了之日起十五日内申报并缴纳税款。
为什么要实行综合申报?
根据《国家税务总局关于开展2020年“便民办税春风行动”的意见》和《国家税务总局关于进一步深化税务系统“放管服”改革优化税收环境的若干意见》要求,为持续优化税收营商环境,切实减轻企业申报负担,经国家税务总局批准,国家税务总局北京市税务局决定实行综合申报,即企业所得税(预缴)、城镇土地使用税、房产税、土地增值税和印花税合并申报并缴纳税款。
综合申报是进一步减少报送资料、优化申报流程、服务纳税人的重要举措,也是转变税收征管方式和深化“放管服”改革的重要体现。
上海、山东等多地推行税种综合申报
采用综合申报,北京并不是首例,早在7月底,国家税务总局发布了《关于进一步支持和服务长江三角洲区域一体化发展若干措施的通知》,通知中就提出五税合一综合申报。

通知中第三点便是综合申报:推行“五税合一”综合申报。进一步简并征期,将城镇土地使用税、房产税、印花税(按次申报的除外)、土地增值税等四个税种统一按季申报。纳税人在申报上述四个税种和企业所得税时,可选择通过电子税务局进行税种综合申报,实现“一张报表、一次申报、一次缴款、一张凭证”。
另外,上海、山东等地区也发布税种综合申报通知:
综合申报流程详解 轻松学
以山东省电子税务局为例
一、税种综合申报
功能操作:登录山东省电子税务局,点击“我要办税”—“税费申报及缴纳”—“税种综合申报”进行操作。
以企业所得税为例,填写完成后,点击其它申报表,填写界面从一个税种切换到另一个税种时,系统自动暂存数据,免于手工点击“暂存”按钮。
报表填写完成后,系统自动校验各报表填报逻辑,相关数据自动汇总到税种综合申报表中。
以上涉及的税种单独申报功能模块仍然保留,大家也可以通过“我要办税”—“税费申报及缴纳”下功能模块单独申报。
系统根据纳税人税种认定信息,在功能列表中显示五税,纳税人填写需要申报的申报表,填写完成后数据自动汇总到税种综合申报表中,点击“申报”按钮一次性提交申报,系统自动显示各税种申报结果。
二、主附税费合并申报
功能操作:点击“我要办税”—“税费申报及缴纳”—“主附税费合并申报”,“征收项目”栏根据纳税人的税费种认定情况,在列表展示:增值税、消费税、城市维护建设税、教育费附加、地方教育费附加、水利建设专项收入和文化事业建设费。其中消费税和文化事业建设费没有税费种认定信息的不展示。
纳税人依次点击“填写申报表”按钮填写申报信息,完成后点击浏览器“关闭”按钮,返回主附税费合并申报页面。
所有税费种都填报完申报信息后,点击“确认主附税费合并申报”按钮进行申报比对,比对通过后申报信息写入核心征管系统,比对不通过的,在下方显示比对不通过的原因。
三、多税费种税款一次缴纳
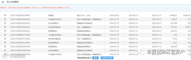
功能操作:点击“我要办税”—“税费申报及缴纳”—“网上申报缴税”。
可选择多条待缴款信息,一次性完成税款缴纳,系统按照各税费种的应缴数额自动累计,自动分笔缴纳入库。已经签署税银三方协议、设置成税款自动扣款的,征期内系统自动扣款缴纳。
四、多税费种缴税一张凭证
功能操作:点击“我要办税”—“证明开具”—“开具税收完税证明(表格式)”。
可自主选择需要汇总打印的项目,选择后点“汇总打印”,可同时打印各税费种缴款信息,加盖税务机关电子印章。
纳税人可以在电子税务局自行打印《税收完税证明》(表格式)作为完税凭证(一票多税),不同打印设备造成的色差不影响效力。
内容来源:北京税务、税来税往、山东税务、上海税务、山东省税务局征管和科技发展处
更多财税信息,请关注【自贸试验区云账户】http://www.ftacloud.com/,一键包办您的工商财税业务,线上操作,快速便捷,为您解决创业路上的后顾之忧!

自贸区云账户APP ios、adnroid均已上线
大家可以搜索
“自贸区云账户——正式版”安装体验
往下拉~



