好会计4月版本更新如期而至,根据大家的反馈,在数电票源文件采集、日记账智能记账、资产管理、自定义报表都进行了迭代和优化,一起来看看是不是更好用了~
数电票源文件采集(PDF/XML)
按合规要求,数电票需要能提取到PDF及XML文件归档备查。
这个版本好会计支持多种数电票采集方式(数字税务账户取票、扫发票二维码、上传PDF、Excel导入、拍照识别),均可以进行PDF和XML文件提取,以便于大家后续归档。(注意是数电票哦)
有两种方式可以进行采集:
一、批量发起采集
首先需要开通【税务数字账户】取票并验证账号密码,点击【批量操作】-【数电票采集原件】开始批量采集附件。

如果是通过拍照识别(OCR识别)的票据,可以选择将已有的PNG附件替换为PDF文件,系统会自动完成替换。

采集完成,数电票的PDF和XML文件均会采集到。

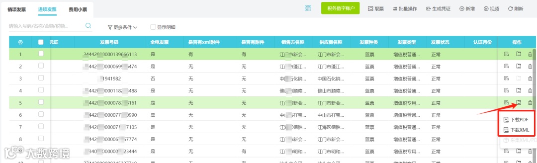
二、单独某张发票采集
选中需求的发票,在操作栏中点击【采集XML/PDF】。

采集完成后可分别下载XML/PDF文件。

这次更新好会计根据大家日常工作的操作习惯,增加了智能推荐/自动化功能:
一、智能推荐收支类型
新增智能推荐模型,获取日记账后根据系统模型自动推荐收支类型,生成记账凭证;

二、记忆历史操作
推荐的收支类型手工修改后,相同业务下次按记忆的内容推荐。
例如某公司,日记账摘要(超网-贷记转出),对方户名(某某商业有限公司),备注(“空”),系统推荐"采购付款",若手工修改为"预付账款",则下次相同“摘要、对方户名、备注”的记录会推荐为"预付账款"。

三、自定义模版绑定收支类型
收支类型可根据需求绑定自定义模版,绑定后按自定义凭证模板生成凭证。

一、卡片打印

1、快速打印,对打印格式要求不高的用户可以使用固定格式;

2、按显示打印,需要自定义打印内容的用户可以使用。

二、报表打印
1、折旧摊销汇总表/折旧摊销明细表,支持按显示打印&按模板打印;

2、资产明细账支持按显示打印&按模板打印。

1、财务函数优化
支持多辅助核算、支持多币种(包括余额函数、发生额函数、净额函数)。

2、报表结果支持联查追溯
报表结果联查科目余额表/辅助余额表,联查科目明细账/辅助明细账,可追溯到凭证、业务单据。


以上就是好会计的主要更新啦,目前提供免费试用,长按扫码申请,享有一对一指导和实时在线问题解答服务~

福利:
免费试用软件 免费看直播
体验机器人做账 全电发票
了解新咨询 规避财税风险
购买享优惠 福利多多
详情联系 13140359618(微信同号)

