高分子材料也称为聚合物材料,是以高分子化合物为基体,再配有其他添加剂(助剂)所构成的材料。高分子材料的结构决定其性能,对结构的控制和改性,可获得不同特性的高分子材料。高分子材料独特的结构和易改性、易加工特点,使其具有其他材料不可比拟、不可取代的优异性能,从而广泛用于科学技术、国防建设和国民经济各个领域,并已成为现代社会生活中衣食住行用各个方面不可缺少的材料。
GPC是一种特殊的液相色谱,所用仪器实际上就是一台高效液相色谱(HPLC)仪,主要配置有输液泵、进样器、色谱柱、浓度检测器和计算机数据处理系统。
与HPLC最明显的差别在于二者所用色谱柱的种类(性质)不同:HPLC根据被分离物质中各种分子与色谱柱中的填料之间的亲和力而得到分离,GPC的分离则是体积排除机理起主要作用。
当被分析的样品通过输液泵随着流动相以恒定的流量进入色谱柱后,体积比凝胶孔穴尺寸大的高分子不能渗透到凝胶孔穴中而受到排斥,只能从凝胶粒间流过,最先流出色谱柱,即其淋出体积(或时间)最小;中等体积的高分子可以渗透到凝胶的一些大孔中而不能进入小孔,比体积大的高分子流出色谱柱的时间稍后、淋出体积稍大;体积比凝胶孔穴尺寸小得多的高分子能全部渗透到凝胶孔穴中,最后流出色谱柱、淋出体积最大。
因此,聚合物的淋出体积与高分子的体积即分子量的大小有关,分子量越大,淋出体积越小。分离后的高分子按分子量从大到小被连续的淋洗出色谱柱并进入浓度检测器。
光谱分析是一种根据物质的光谱来鉴别物质及确定它的化学组成,结构或者相对含量的方法。按照分析原理,光谱技术主要分为吸收光谱,发射光谱和散射光谱三种;按照被测位置的形态来分类,光谱技术主要有原子光谱和分子光谱两种。红外光谱属于分子光谱,有红外发射和红外吸收光谱两种,常用的一般为红外吸收光谱。
红外光谱的原理,在之前的推送中已经详细介绍过了,此次着重介绍红外光谱在高分子材料研究中的应用。主要有以下两种:
1)聚合物的分析与鉴别。聚合物的种类繁杂,谱图复杂。不同的物质,其结构不一样,对应的图谱也不同,因此可以根据分析结果与标准谱图进行对比才能得到最终结果。
2)聚合物结晶度的测度。由于完全结晶聚合物的样品很难获得,因此不能仅用红外吸收光谱独立测量结晶度的绝对量,需要联合其他测试方法的结果。
光照射样品分子或原子时,外层电子吸收一定波长紫外光,由基态跃迁至激发态而产生的光谱。紫外光波长范围是10-400 nm。波长在10-200 nm范围内的称为远紫外光,波长在200-400 nm的为近紫外光。对于物质结构表征主要在紫外可见波长范围,即200-800 nm。
在无机非金属材料的推送中已经详细介绍了相关原理,此次着重介绍其在高分子材料中的应用。
1定性分析:尤其适用于共轭体系的鉴定,推断未知物的骨架结构,还可以与红外光谱、核磁共振波谱法等配合进行定性鉴定和结构分析。比较吸收光谱曲线与最大吸收波长的关系,进行定性测试。
2定量分析:根据Lambert-Beer定律,一定波长处被测定物质的吸光度与物质的溶度呈线性关系。通过测定溶液对一定波长入射光的吸光度求出该物质在溶液中的浓度和含量。
质谱是指广泛应用于各个学科领域中通过制备、分离、检测气相离子来鉴定化合物的一种专门技术。质谱法在一次分析中可提供丰富的结构信息,将分离技术与质谱法相结合是分离科学方法中的一项突破性进展。在众多的分析测试方法中,质谱学方法被认为是一种同时具备高特异性和高灵敏度且得到了广泛应用的普适性方法。质谱是提供有机化合物分子量与化学式的方便与可靠方法,也是鉴别有机化合物的重要手段。
原理:试样气化后,气体分子进入电离室。电离室的一端安有阴极灯丝,灯丝通电后产生电子束。分子在电子束冲击下,失去电子,解离成离子和进一步被打碎为不同质量数的带电荷碎片离子,这样的离子源是质谱仪最常用的,称为“电子轰击离子源”。
1高分子材料的单体、中间体以及添加剂的分析。如下图的质谱图,可以确定该未知物分子含有1个羧基和1个甲基,其余部分只能是-CO2或者-C3H4。不过后者的可能性更大些。
2聚合物的表征。每个高分子化合物都具有不同的分子式和分子结构,质谱图就像是高分子材料的“身份证”。根据其质谱图,可以确定是哪种高分子材料。
X射线是一种波长很短(约为10-8~10-12米),介于紫外线和伽马射线之间的电磁辐射。由德国物理学家伦琴于1895年发现。X射线能够穿透一定厚度的物质,并能使荧光物质发光、照相胶乳感光、气体电离。
之前已经详细介绍了XRD的原理、设备和制样方法等,此次将着重介绍XRD在高分子结晶度的应用或者计算。
天然纤维素结晶度的计算公式有以下四种(刘治刚,中国测试):
根据下图可以看出,天然纤维素的4个衍射晶面半峰宽较大,衍射峰重合度较高,晶相与非晶相重合度较大,导致无定型峰定位困难。
天然纤维素的XRD图
小角X射线散射(SAXS)——晶体在原子尺寸上的排列
晶体中的原子在射入晶体的X射线的作用下被迫强制振动,形成一个新的X射线源发射次生X射线。
如果被照射试样具有不同电子密度的非周期性结构,则次生X射线不会发生干涉现象,该现象被称为漫射X射线衍射。X射线散射需要在小角度范围内测定,因此又被称为小角X射线散射。
①块状试样:块状试样太厚,光束无法通过,因此必须减薄;
②薄膜试样:如薄膜试样厚度不够,可以用几片相同的试样叠加在一起测试;
③粉末试样:粉末试样应研磨成无颗粒感,测试时,需用非常薄的铝箔(载体)包住,或把粉末均匀搅拌在火棉胶中,制成合适厚度的片状试样;
④纤维试样:对于纤维状试样,应尽可能剪碎,如同粉末试样那样制备;
⑤颗粒状试样:对于无法研磨的粗颗粒状试样是比较麻烦的。一个方法是将颗粒尽可能切割成相同厚度的薄片,然后整齐的平铺在胶带上;另一个方法是将颗粒熔融或溶解,制成片状试样,但前提是不能破坏试样原有的结构;
⑥液体试样:溶液试样须注入毛细管中测试。制备溶液时,需注意:
在天然的和人工合成的高聚物中,普遍存在小角X射线散射现象,并有许多不同的特征。小角X射线散射在高分子中的应用主要包括以下几个方面:
①通过Guinier散射测定高分子胶中胶粒的形状、粒度以及粒度分布等;
②通过Guinier散射研究结晶高分子中的晶粒、共混高分子中的微区(包括分散相和连续相)、高分子中的空洞和裂纹形状、尺寸及分布等;
③通过长周期的测定研究高分子体系中片晶的取向、厚度、结晶百分数以及非晶层的厚度等;
⑤通过Porod-Debye相关函数法研究高分子多相体系的相关长度、界面层厚度和总表面积等;
经过2500℃碳化处理的PAN基碳纤维的试样的试样呈现典型的微孔-石墨两相结构,微孔有明锐界面,石墨基体结构均匀,没有微密度起伏;经过1340℃碳化处理的PAN基碳纤维的呈现对Porod规律的正偏离,表明碳纤维中除存在微孔外,在乱层石墨基体上存在1 nm以下小尺寸的微密度不均匀区。
导热系数也叫导热率,是指在稳定传热条件下,1m厚的材料,两侧表面的温差为1度(K,℃),在1秒钟内(1S),通过1平方米面积传递的热量,单位为瓦/米·度(W/(m·K),此处为K可用℃代替)。导热系数是表示材料热传导能力大小的物理量。
导热系数是针对均质材料而言的,对于多孔、多层、多结构、各向异性材料,可以叫做平均导热系数。导热系数与材料的种类、结构、密度、湿度、温度、压力等因素有关。
热扩散系数的定义:热扩散系数又叫导温系数,它表示物体在加热或冷却中,温度趋于均匀一致的能力,单位为平方米/秒( m2/s) 。在导热系数高的物质中热能扩散的很快,而导热系数低的物质中热能则扩散的较慢。这个综合物性参数对稳态导热没有影响,但是在非稳态导热过程中,它是一个非常重要的参数。
热扩散系数是表示材质均温能力大小的物理量。热扩散系数与材料的导热系数、密度、比热容等因数有关。热扩散系数采用非稳态(瞬态)法测量,在稳态导热中不起影响。
原理:激光法直接测试的是材料的热扩散系数,其基本原理示意图如下:在炉体控制的一定温度下,由激光源发射光脉冲均匀照射在样品下表面,使试样均匀加热,通过红外检测器链接测量样品上表面相应温升过程,得到温度(检测器信号)升高和时间的关系曲线。
应用:瞬态法适用于高导热系数的材料,如金属、合金、陶瓷以及多层材料等。
稳态热流法
原理:将一定厚度的样品放入两个平板间,在其垂直方向通入一个恒定的单向热流,使用校正过的热流传感器测量通过样品的热流,传感器在平板与样品之间与样品接触。当冷板和热板的温度稳定后,测得样品厚度、样品上下表面的温度和通过样品的热流量,根据傅里叶定律即可确定样品的导热系数。
应用:该法适用于导热系数较小的固体材料、纤维材料与多空隙材料,例如各种保温材料;
针对材料导热系数测试,除了需要有对应的测试方法和测试设备,还需要有对用的标准来规范测试方法、测试过程、测试条件、测试样品、测试范围等信息。
在材料导热系数的测试领域,常用的导热系数测试标准主要采用美国材料试验协会(ASTM)的 ASTM-D5470,ASTM-E1461,ASTM-E1530,ASTM C518-04等。
对于电子器件而言,高分子绝缘材料具有独特的结构和易改性、易加工的特点,使其具有其他材料不可比拟、不可取代的优异性能。但是一般高分子材料都是热的不良导体,其导热系数一般都低于 0.5 Wm-1K-1。一些常见的高分子在室温下的导热系数如下表所示。
基本概念:在拉伸试验中,保持这种受力状态最终,就是测量拉伸力直至材料断裂为止,所承受的最大拉伸应力称为拉伸强度。
实验原理:拉伸实验是对材料沿纵轴方向施加静态拉伸负荷,使其破坏。通过测定试样的屈服力破坏力和材料标距间的伸长来求得材料的屈服强度、拉伸强度和伸长率。
拉伸应力:试样在计量标距范围内,单位初始横截面上承受的拉伸负荷。
拉伸强度:在拉伸试验中试样直到断裂为止,所承受的最大拉伸应力。
拉伸断裂应力:在拉伸应力-应变曲线上,断裂时的应力。
拉伸屈服应力:在拉伸应力-应变曲线上,屈服点处的应力。
断裂伸长率:在拉力作用下,试样断裂时,标线间距离的增加量与初始标距之比,以百分率表示。
弹性模量:在比例极限内,材料所受应力与产生响应的应变之比。
由应力-应变的相应值彼此对应的绘成曲线,通常以应力值作为纵坐标,应变值作为横坐标。应力-应变曲线一般分为两个部分:弹性变形区和塑性变形区,在弹性变形区,材料发生可完全恢复的弹性变形,应力和应变呈正比例关系。曲线中直线部分的斜率即是拉伸弹性模量值,它代表材料的刚性。弹性模量越大,刚性越好。在塑性变形区,应力和应变增加不在呈正比关系,最后出现断裂。
基本概念:试样破坏时的最大压缩载荷除以试样的横截面积,称为压缩强度极限或抗压强度。压缩试验是测定材料在轴向静压力作用下的力学性能的试验,是材料机械性能试验的基本方法之一。与拉伸试验相似,通过压缩试验可以作出压缩曲线。
压缩实验室最常见的一种力学试验,是钯试样置于万能试验机的两压板之间,并在沿试样两端面的主轴方向,以恒定速率施加一个可以测量的大小相等相反的力,并使试样沿轴向方向缩短,而径向方向增大,产生压缩变形,直到试样破裂或者变形达到规定的如25%的数值为止。施加的负荷由试验机上直接读得。
压缩屈服应力:指应力-应变曲线上第一次出现应变增加而应力不增加的转折点(屈服点)对应的应力,以MPa表示。
压缩强度:指在压缩试验中试样承受的最大压缩应力,以MPa表示,它不一定市试样破坏瞬间所承受的压缩应力。
定应变压缩应力:指规定应变时的压缩应力,即与应变为25%时对应的应力值,以MPa表示。
压缩模量:指在应力-应变曲线的线性范围内,压缩应力与压缩应变的比值,以MPa表示,取应力-应变曲线上两点的应力差与对应的应变之比。
(1)试样的细长比:(试样高度与试样截面的最小回转半径之比)是最大的影响因素。由于试样受压时,其上下端面与试验机压板之间产生较大的摩擦力,阻碍试样上下两端面的横向变形,试样高度越小,影响程度越大。
(2)实验速度:一般来讲,随着实验速度的增加,压缩强度与压缩应变值均有所增加。实验速度在1-5mm/min时变化较小。压缩试验的同一试样必须在同一实验速度下进行,并且最好选用较低的实验速度。
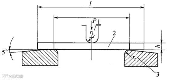
试验时将一规定形状和尺寸的试样置于两支坐上,并在两支坐的中点施加一集中负荷,使试样产生弯曲应力和变形。这种方法称静态三点式弯曲试验。(另一加载方法为四点式,这里不介绍。)
挠度:弯曲试验过程中,试样跨度中心的定面或底面偏离原始位置的距离。
弯曲应力:试样在弯曲过程中的任意时刻,中部截面上外层纤维的最大正应力。
弯曲强度:在到达规定挠度值时或之前,负荷达到最大值时的弯曲应力。
定挠弯曲应力:挠度等于试样厚度1.5倍时的弯曲应力。
弯曲屈服强度:在负荷-挠度曲线上,负荷不增加而挠度骤增点的应力。
冲击试验是用来度量材料在高速冲击状态下的韧性或对断裂的抵抗能力。
(1)摆锤式:试验安放形式有简支梁式(charpy)----支撑试样两端而冲击中部;悬臂梁式(Izod)---试样一端固定而冲击自由端。
(3)高速拉伸法。此方法虽较理想,可直接转换成应力—应变曲线,计算曲线下的面积,便可得冲击强度,还可定性判断是脆性断裂还是韧性断裂,但对拉力机要求较高。

高分子材料具有大分子链结构和特有的热运动,决定了它具有与低分子材料不同的物理性态。高分子材料的力学行为最大特点是它具有高弹性和粘弹性。在外力和能量作用下,比金属材料更为强烈地受到温度和时间等因素的影响,其力学性能变化幅度较大。
高聚物受力产生的变形是通过调整内部分子构象实现的。由于分子链构象的改变需要时间,因而受力后除普弹性变形外,高聚物的变形强烈地与时间相关,表现为应变落后于应力。除瞬间的普弹性变形外,高聚物还有慢性的粘性流变,通常称之为粘弹性。高聚物的粘弹性又可分为静态粘弹性和动态粘弹性两类。
静态粘弹性指蠕变和松弛现象。与大多数金属材料不同,高聚物在室温下已有明显的蠕变和松弛现象。
高分子材料的蠕变即在一定温度和较小的恒定外力(拉力、压力或扭力等)作用下、高分子材料的形变随时间的增加而逐渐增大的现象。
下图蠕变曲线,t1是加荷时间,t2是释荷时间。从分子运动和变化的角度来看,蠕变过程包括下面三种形变:当高分子材料受到外力作用时,分子链内部键长和键角立刻发生变化,这种形变量是很小的,称为普弹形变。当分子链通过链段运动逐渐伸展发生的形变,称为高弹形变。如果分子间没有化学交联,线形高分子间会发生相对滑移,称为粘性流动。这种流动与材料的本体粘度有关。在玻璃化温度以下链段运动的松弛时间很长,分子之间的内摩擦阻力很大,主要发生普弹形变。在玻璃化温度以上,主要发生普弹形变和高弹形变。当温度升高到材料的粘流温度以上,这三种形变都比较显著。由于粘性流动是不能回复的,因此对于线形高聚物来说,当外力除去后会留下一部分不能回复的形变,称为永久形变。

蠕变与温度高低和外力大小有关,温度过低,外力太小,蠕变很小而且很慢,在短时间内不易觉察;温度过高、外力过大,形变发展过快,也感觉不出蠕变现象;在适当的外力作用下,通常在高聚物的玻璃化温度以上不远,链段在外力下可以运动,但运动时受到的内摩擦力又较大,只能缓慢运动,则可观察到较明显的蠕变现象。
蠕变是材料弹性与粘性的相互作用结果,材料弹性好,其蠕变应力大,蠕变温度高,如果粘性大于弹性则反之,让我们可以把握实际可能出现的情况。所以一般来讲,特别是塑料或者压敏胶,材料加工要蠕变好(流动性好),而材料应用则需蠕变差(材料稳定,蠕变意味着材料发生变化)。蠕变涉及到材料结构、分子量、分子链等等因素。避免蠕变,就是想方法让材料稳定,如提高弹性让临界应力大,添加抗氧剂让耐老化性能好,分子结构稳定。
所谓应力松弛,就是在固定的温度和形变下,聚合物内部的应力随时间增加而逐渐衰减的现象。这种现象也在日常生活中能观察到,例如橡胶松紧带开始使用时感觉比较紧,用过一段时间后越来越松。也就是说,实现同样的形变量,所需的力越来越少。未交联的橡胶应力松弛较快,而且应力能完全松弛到零,但交联的橡胶,不能完全松弛到零。
线形聚合物的应力松弛的分子机理如图所示,拉伸时张力迅速作用使缠绕的分子链伸长,但这种伸直的构象时不平衡的,由于热运动分子链会重新卷曲,但形变量被固定不变,于是链可能解缠结而转入新的无规卷曲的平衡态,于是应力松弛为零。交联聚合物不能解缠结,因而应力不能松弛到零。
定义:材料抵抗其他较硬物体压入其表面的能力。
目的:测量材料的适用性,间接了解材料的磨擦性能、拉伸性能、固化程度等力学性能
常用的硬度测试方法:邵氏硬度、洛氏硬度,硬度体现的是产品的坚硬程度。在施加荷重的状态下,测定坚硬的圆珠凹陷时的抗衡性的实验。如果塑料中胶含量较多的话,冲击强度将会增加,但硬度会下降。
布氏硬度起源于1900年,是最早被广泛接受的测试方法。它的原理是使用球压头D通过一定的压力F在材料表面产生压痕,再用光学系统测量压痕直径d,最后通过经验公式计算可得到布氏硬度值,如图所示。
④对样品表面施加力F(必须缓慢增加,且适当保持以保证塑性变形)
布氏硬度早期的压头材料为硬化钢(符号HBS),不适用于非常硬(>450HB)的材料,容易变形,最终会导致测试结果误差大。ISO和ASTM标准先后推荐使用WC(碳化钨,符号HBW)球来做所有的布氏硬度测试适用测试范围达650HB,更加耐用。
压痕过小,压痕难以准确的测量,并且压头损坏的风险变大;压痕过大,硬度测试的灵敏度降低。因此,标准规定了压痕尺寸的上下限,压痕直径与压头直径的比值d/D应在0.24和0.6之间。在测试过程中要注重选择合适的球压头直径和载荷大小与被测试的材料匹配。
硬度测试产生压痕的过程会引起残余应力和加工硬化,过于靠近边缘会导致材料不足以限制压痕周围的变形区,因此,若压痕位置不当,测试结果易产生能够误差。
布氏硬度测试要选择好标尺(载荷大小与球压头直径的组合)。通常采用压痕相似性原理来设计布氏硬度的标尺。
压痕相似性原理:对于不同的压头直径和载荷组合,当压入角相同时,材料的硬度值才具有可比性。对于相同的材料,当载荷与压头直径平方的比值(K=F/D² )相同时,压入角相同,所求得的硬度值也相同。
压入角28°与74°之间硬度值变化很小,44°(d/D=0.375)是最理性的状况。对同一材料而言160HBW10/500大约相当于180HBW10/3000。因此,常见的比值,不同比值下测量结果不具备可比性。如表2,HB30与HB10、HB5标尺下所得的硬度值不可以做比较。

K值得选择具有一定的要求,通常高硬度材料选用较大K值,低硬度材料选用较小K值。常用的K值选择如表3。

布氏硬度测试过程中,试验力易引起样品的扭曲、变形和移动,导致误差的产生。因此ASTM样品厚度要达到压痕深度的10倍。不同标尺要求的样品最小厚度如表4所示。

相对较宽的测试范围8~650HBW;不同测试力之间硬度值可以对比 (对于相同的F/D2)压痕较大;对样品表面状况不敏感;测试大块材料硬度;对光学测量误差不敏感;非常适合于大晶粒材料的测试;与拉伸强度之间有较好的对应关系。
大的压痕意味着不能区分出局部区域的硬度值变化;不适合于涂层和薄片样品的测试;不适合于高硬度材料的硬度测试;通过光学显微镜测量压痕,不同操作者对测量的影响较大;不建议测试弧形表面。
适用于铸铁、锻造件、各种退火及调质的钢材,有色金属、硬质合金、陶瓷、不锈钢等,广泛应用在汽车和航空等行业,试验室和车间的样品测试和质量控制。可测平面和圆柱形工件,不宜测定太硬、太小、太薄和表面不允许有较大压痕的试样或工件。
洛氏硬度起源于20世纪初,是由洛克威尔(S.P.Rockwell)提出来的学术概念。洛氏硬度测试的原理是以压痕塑性变形深度来确定硬度值。

根据材料选择一定的标尺(HRA、HRB、HRC等)
采用洛氏硬度测试方法时,需要根据不同的标尺和样品情况来对试样表面进行处理。
与洛氏硬度相同,压痕距离边缘至少为压痕直径的2.5倍(并且ISO6508规定距离边缘不小于1mm),两压痕之间的距离至少为压痕直径的3倍。
洛氏硬度测试对样品尺寸有要求,样品厚度不能小于残余压痕深度的10倍,且背面不能出现明显的变形痕迹。由此样品的厚度决定了载荷的选择,载荷必须保证其所引起的变形小于样品的最小厚度。对于每一种硬度试验,都存在最小可测量厚度。根据不同压头类型,分别为:
压头尖端破裂(通常导致硬度读数偏高);被测试材料或者夹具轨道的变形(通常导致硬度读数偏低);过大的振动(通常导致硬度读数偏低);表面制备质量差(注意制备也包括测试零件的底部和试台);压头和样品表面的压入角度(不能超过2o 偏差)
不需要通过光学测量就可以得到硬度值;快速简单;不同操作者对结果影响不大;表面粗糙度对结果影响较小。
洛氏硬度测试具有30种不同的标尺,几乎覆盖所有材料的硬度测试,以下是其一些典型的应用:
常规洛氏:端淬试验、齿轮、钢棒、紧固件、汽车部件、轴承、热处理工件、硬质合金等。
表面洛氏:薄钢板、线、小直径棒、镀锡钢片、涂层、硬化层。
SEM——通过SEM对材料断口、裂纹、磨痕等进行观察,进而评价其力学性能
自从1965年第一台商品扫描电镜问世以来,经过40多年的不断改进,扫描电镜的分辨率从第一台的25nm提高到现在的0.01nm,而且大多数扫描电镜都能与X射线波谱仪、X射线能谱仪等组合,成为一种对表面微观世界能够经行全面分析的多功能电子显微仪器。在材料领域中,扫描电镜技术发挥着极其重要的作用,被广泛应用于各种材料的形态结构、界面状况、损伤机制及材料性能预测等方面的研究。
扫描电镜由电子枪发射出来的电子束,在加速电压的作用下,经过磁透镜系统汇聚,形成直径为5nm,经过二至三个电磁透镜所组成的电子光学系统,电子束会聚成一个细的电子束聚焦在样品表面。在末级透镜上边装有扫描线圈,在它的作用下使电子束在样品表面扫描。
由于高能电子束与样品物质的交互作用,结果产生了各种信息:二次电子、背反射电子、吸收电子、X射线、俄歇电子、阴极发光和透射电子等。这些信号被相应的接收器接收,经放大后送到显像管的栅极上,调制显像管的亮度。由于经过扫描线圈上的电流是与显像管相应的亮度一一对应,也就是说,电子束打到样品上一点时,在显像管荧光屏上就出现一个亮点。
扫描电镜就是这样采用逐点成像的方法,把样品表面不同的特征,按顺序,成比例地转换为视频信号,完成一帧图像,从而使我们在荧光屏上观察到样品表面的各种特征图像。
波谱仪是利用布拉格方程2dsinθ=λ,从试样激发出了X射线经适当的晶体分光,波长不同的特征X射线将有不同的衍射角2θ。波谱仪是微区成分分析的有力工具。波谱仪的波长分辨率是很高的,但是由于X射线的利用率很低,所以它使用范围有限。
能谱仪是利用X光量子的能量不同来进行元素分析的方法,对于某一种元素的X光量子从主量子数为n1的层跃迁到主量子数为n2的层上时,有特定的能量ΔE=En1-En2。能谱仪的分辨率高,分析速度快,但分辨本领差,经常有谱线重叠现象,而且对于低含量的元素分析准确度很差。
(2) 能谱仪的结构比波谱仪简单,没有机械传动部分,因此稳定性和重复性都很好。
(3) 能谱仪不必聚焦,因此对样品表面没有特殊要求。
但是能谱仪的分辨率比波谱仪低;能谱仪的探头必须保持在低温状态,因此必须时时用液氮冷却。
1观察材料的界面形态:高分子的表面物理形态和化学结构是决定材料性能的基本因素,也是影响高分子材料的摩擦性能、光学性能、吸水性和生物相容性等的主要因素。
2聚合物的增韧机理研究中的应用:高分子聚合物的断裂一般分为脆性断裂和韧性断裂。脆性断裂的断面较光滑而韧性断裂的断面较粗糙,聚合物的增韧就是把聚合物的断裂方式由脆性断裂转变为韧性断裂,使聚合物在受到拉伸时有较高的断裂伸长率,在受到冲击时不易破坏。
TEM——基本形貌、结晶结构、高分子的组装形貌等信息
在光学显微镜下无法看清小于0.2微米的细微结构,这些结构称为亚显微结构或超细结构。要想看清这些结构,就必须选择波长更短的光源,以提高显微镜的分辨率。
电子显微镜(Transmission electronmicroscope,缩写TEM),简称透射电镜,是把经加速和聚集的电子束投射到非常薄的样品上,电子与样品中的原子碰撞而改变方向,从而产生立体角散射。散射角的大小与样品的密度、厚度相关,因此可以形成明暗不同的影像。通常,透射电子显微镜的分辨率为0.1~0.2nm,放大倍数为几万~百万倍,用于观察超微结构,即小于0.2微米、光学显微镜下无法看清的结构,又称“亚显微结构”。
电子枪:发射电子。由阴极,栅极和阳极组成。阴极管发射的电子通过栅极上的小孔形成射线束,经阳极电压加速后射向聚光镜,起到对电子束加速和加压的作用。
中间镜:二次放大,并控制成像模式(图像模式或者电子衍射模式)。
CCD相机:电荷耦合元件,将光学影像转化为数字信号。
在实际操作TEM之前,要求所测试样必须满足一定的条件,针对不同类型的试样有不同的制取方法。
高分子材料的特殊制样方法
聚焦离子束技术(Focused Ion beam,FIB)是近年来发展起来的新技术,它是利用电透镜将离子束聚焦成非常小尺寸的离子束轰击材料表面,实现材料的剥离、沉积、注入、切割和改性。聚焦离子束技术(FIB)利用高强度聚焦离子束对材料进行纳米加工,配合高倍数电子显微镜实时观察,成为了纳米级分析、制造的主要方法。要保证样品的纯度,不受环境和人为制样处理的污染,一般使用FIB进行样品的制备。
FIB是一种专业的制样方法,与人工制样的人为影响因素多等缺点相比,FIB能够观察到样品缺陷与基材的界面情况,利用FIB就可以准确定位切割,制备缺陷位置截面样品,完全满足对制样的需求。聚焦离子束(FIB)技术是利用高强度聚焦离子束对材料进行纳米加工,实现样品表面分子和元素种类的空间分布信息,成为了纳米级分析、制造的主要方法。
(3)以无机成分为主,否则会造成电镜严重的污染,高压跳掉,甚至击坏高压枪;
(1)需要电解减薄或离子减薄,获得几十纳米的薄区才能观察;
(2)如晶粒尺寸小于1μm,也可用破碎等机械方法制成粉末来观察;
(4)块状样品制备复杂、耗时长、工序多、需要由经验的老师指导或制备;样品的制备好坏直接影响到后面电镜的观察和分析。所以块状样品制备之前,最好与TEM的老师进行沟通和请教,或交由老师制备。
理论:根据电子显微学理论,加速电压越高,理论空间分辨率越高。
缺陷:对于不同的试样,高加速电压同时会带来辐照损伤等问题,影响实际分辨率。
影响因素:加速电压固定后,影响透射电子显微镜分辨率的因素可归结为球差、象散和色差。
偏光显微镜是研究晶体光学性质的重要仪器,同时又是其他晶体光学研究法(油浸法、弗氏台法等)的基础。偏光显微镜是利用光的偏振特性对具有双折射性物质进行研究鉴定的必备仪器,可做单偏光观察,正交偏光观察,锥光观察。将普通光改变为偏振光进行镜检的方法,以鉴别某一物质是单折射(各向同行)或双折射性(各向异性)。双折射性是晶体的基本特征。因此,偏光显微镜被广泛地应用在矿物、化学等领域。
研究晶体光学性质所使用的显微镜装有起偏镜(下偏光镜、前偏光镜)和检偏镜(上偏光镜、后偏振镜、分析镜)。自然光经起偏镜后成为在某一固定方向上振动的偏振光。由于装有起偏镜和检偏镜,故将此类显微镜称为偏光显微镜。
光线从偏振片通过呈光学各向同性的聚合物熔融态或无定形态时不改变偏振方向,因此,用偏光显微镜观察时,视野是全暗的。光线通过呈光学各向异性的聚合物结晶态或取向态时会分解成偏振方向相互垂直的两束光。因此,用偏振显微镜观察时,会呈现特征的视野。
在一定温度下,球晶的生长是等速的,用偏光显微镜可以进行等温结晶动力学的研究,方法是测定球晶半径随时间变化的关系。
扫描探针显微镜(Scanning Probe Microscope,SPM)是扫描隧道显微镜及在扫描隧道显微镜的基础上发展起来的各种新型探针显微镜(原子力显微镜,静电力显微镜,磁力显微镜,扫描离子电导显微镜,扫描电化学显微镜等)的统称,是国际上近年发展起来的表面分析仪器,是综合运用光电子技术、激光技术、微弱信号检测技术、精密机械设计和加工、自动控制技术、数字信号处理技术、应用光学技术、计算机高速采集和控制及高分辨图形处理技术等现代科技成果的光、机、电一体化的高科技产品。
扫描探针显微镜原理:基于量子的隧道效应,利用探针与样品在近距离(<0.1 nm)时,由于二者存在电位差而产生隧道电流,隧道电流对距离非常敏感,控制探针在被检测样品的表面进行扫描,同时记录下扫描过程中探针尖端和样品表面的相互作用,就能得到样品表面的相关信息。显然,利用这种方法得到被测样品表面信息的分辨率取决于控制扫描的定位精度和探针作用尖端的大小(即探针的尖锐度)。
STM要求扫描的范围从10 nm到1微米以上,可以用来观察原子水平的样品形貌。
扫描探针显微镜的应用:扫描探针显微镜正在迅速地被应用于科学研究的许多领域,如纳米技术,催化新材料,生命科学,半导体科学等。如材料表面形貌、相组成分析;材料表面各种缺陷、污染情况分析;材料表面力性能研究;材料表面电、磁性能研究。
材料科学是科学技术发展的重要基础学科之一, 其中, 高分子材料作为材料科学中一个重要的研究方向, 已经渗入到生活以及工业领域内的方方面面, 发挥着不可替代的重要作用。科学技术的飞速发展, 对高分子材料的需求也日益增长, 同时, 也对高分子材料的性能提出了更高的要求, 高性能化以及复合化成为了高分子材料发展的重要方向。