
一、认租房源公示
http://zjj.sz.gov.cn/zfxx_ggfw/house.html?code=BAPZ20211228&batchSignCode=IDZnjB1g0UKbwhxP
二、选房结果公示
http://zjj.sz.gov.cn/zfxx_ggfw/publicity.html?code=BAPZ20211228&batchSignCode=IDZnjB1g0UKbwhxP
深圳市宝安区住房和建设局
2021年7月12日
选房结果:
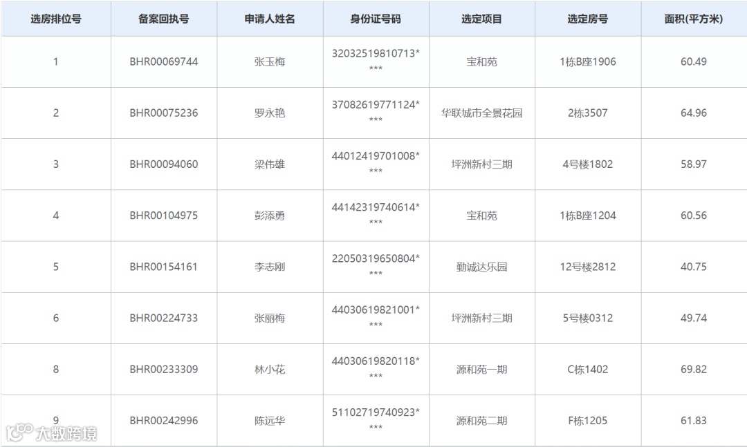
最前几位选房

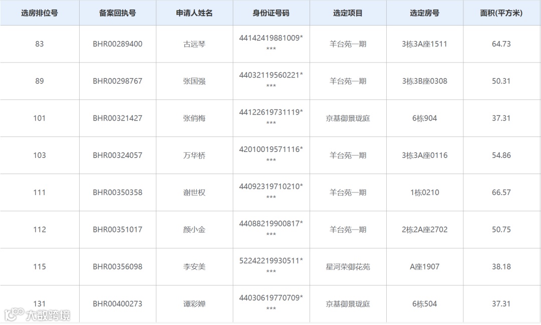
最后几位选房

认租房源:


① 5月12日认租|关于面向宝安区户籍在册轮候特殊困难家庭配租公共租赁住房有关事项的通告
http://www.baoan.gov.cn/jshej/zwfw/zfly/tzgg/content/post_8786936.html
② 6月10日审核|关于宝安区户籍在册轮候特殊困难家庭认租资格核查结果的公示
http://www.baoan.gov.cn/jshej/zwfw/zfly/tzgg/content/post_8856628.html
③ 7月8日选房🔗关于宝安区户籍在册轮候特殊困难家庭配租公共租赁住房选房有关事项的通告
④ 7月13日选房结果|关于面向宝安区户籍在册轮候特殊困难家庭配租公共租赁住房选房结果的公示
http://www.baoan.gov.cn/jshej/zwfw/zfly/fpxx/content/post_8967970.html
加群互动都是公益免费的,如果你想加入深圳公租房群、可售型人才和安居房群,请关注公众号“风云知道”回复关键词,或者添加“租住小帮手”微信备注“加群”。


