
一、案例工程简介
万博汇名邸三期裙房、塔楼及地下室建安工程,由1栋超高层写字楼和3栋商业裙楼组成,总建筑面积约144282.84m²,其中地上建筑面积约108673.04m²。A#栋塔楼按5A甲级写字楼标准设计,地上49层,地下3层,建筑构造物最高点217m,塔楼为钢筋混凝土框架-核心筒结构。
在新技术应用的推动下,开展了一些列技术科研活动,截止目前项目已经获得全国建筑业绿色施工示范工程、湖南省绿色施工示范工程、全国建设工程项目施工安全生产标准化工地等。
二、新技术应用推广项目



创新技术


单元式玻璃幕墙轨道安装施工技术

防漏浆对拉螺杆施工技术

电梯井定型化提升操作架施工技术
三、成效分析
1、进度管理
本工程从2014年08月01日进场开工至2017年12月19竣工验收,总工期为1236天,万博汇项目体量大,并且设备多且复杂,除了编排科学合理的进度计划及施工方案以外,充分应用新技术优化施工工艺以缩短各工序时间显得尤为重要。
在工程的整个建设过程中大力推广新技术应用,对方案的编制及现场施工工序的衔接起到了充分优化的作用。同时通过科学技术控制现场施工质量及安全文明管理,有效地减少了质量缺陷及返工现象的出现,降低了安全隐患及事故发生的概率,确保工期按时间节点有序推进,整个工期提前了104天。
2、质量管理
本工程从设计到施工阶段都充分融入了新技术应用理念,按照新技术的标准要求认真执行,做到事前有措施、事中有控制,有效减少质量缺陷的出现,保证了结构安全可靠并满足使用功能。比如混凝土裂缝控制技术,可以很好的控制并防止混凝土裂缝及渗漏的出现,对结构安全及防水功能提供了有力的技术保障。现已经取得 “湖南省建筑工程质量常见问题专项治理示范观摩工地”、 “长沙市优质结构工程”2016、2017 “全国建设工程优秀QC小组三等奖”等证书。
3、安全管理
在建设过程中,借助新技术应用进一步完善施工工艺、规范操作流程、提高作业效率,减少了盲目操作、野蛮施工等不良行为的出现,实现现场文明施工、安全作业、无安全事故发生的目标。施工过程中无重大人员伤亡事故发生,死亡事故为〇,轻伤事故频率在1.5‰以下。项目于2017年评为“湖南省建筑施工安全生产标准化考评年度项目考评优良工地”、“全国建设工程项目施工安全生产标准化工地”。
4、绿色施工
推广新技术应用充分考虑绿色施工的要求,达到“四节一环保”的目的,本工程已创建“第五批全国建筑业绿色施工示范工程”、“湖南省绿色示范工程”,从而真正实现了预期“节能、节地、节水、节材和环境保护”的目标。
四、创新技术应用
(一)、悬臂环形轨道安装单元幕墙施工技术(企业工法,省级工法)
1、概况
项目塔楼六层及以上采用单元式玻璃幕墙,单元式板块6400块,塔楼6层以下为框架幕墙。
本幕墙工程划分为四个施工段:第一施工段:1-5层、第二施工段:6-21层、第三施工段:22-36层、第四施工段:37-屋顶层。
2、创新点
在楼层周边安装悬臂环形轨道进行单元幕墙安装,并在环形轨道上安装电动葫芦进行幕墙安装。
3、技术原理
在楼层周边安装悬挑工字钢(悬臂梁),悬臂梁下安装一圈闭合式环形轨道,环形轨道采用工字钢,电动葫芦通过行走小车在工字钢下翼缘进行来回行走,实现单元幕墙块体的运输与安装。

屋顶悬臂环形轨道系统

楼层悬臂环形轨道系统

单元板块出楼层吊装

屋顶悬臂环形轨道系统设计简图
4、工艺流程
悬臂环形轨道系统设计及验算→立柱、悬臂梁及环形轨道加工→预埋件安装→悬臂梁安装及校正→环形轨道安装及校正→行走电动葫芦安装及调试→悬臂环形轨道系统试吊及验收→幕墙单元板块运输及安装。
5、实施效果
采用以往拔杆法吊装每天安装30樘单元板块需要花费20个人工,通过本工法进行单元板块的安装每天正常吊装60樘,节约人工近50%,设备机械费用经分摊三次以上后比传统方法节约近30%,节约工期40%,从而节约了工程管理的各项成本。通过减少人、机、料的投入减少了各种废料的产生以及二氧化碳的排放,对环境保护也起到了一定的作用。
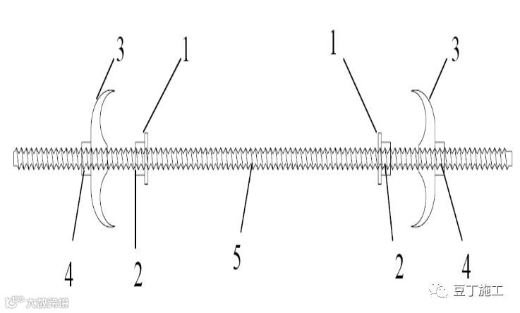
(二)、防漏浆对拉螺杆施工技术
1、概况
本项目现浇混凝土墙、柱、梁采用竹(木)胶合板作为侧模,通常设置对拉螺杆来保证侧模板的整体性和稳定性,对拉螺杆型号有φ12mm、φ14mm、φ16mm,剪力墙螺杆间距为460*460。在同一对拉螺杆孔位多次安拆对拉螺杆,会出现对拉螺杆孔尺寸越来越大,再加上混凝土浇筑过程中,水泥浆液沿对拉螺杆流出,发生漏浆现象。
2、创新点
在普通对拉螺杆的基础上进行了改进,创新性地在普通对拉螺杆上增设止浆片,能有效防止混凝土浇筑过程中浆体沿对拉螺栓孔流出,可免除流出的浆体对模板及已完工构件造成污染,同时也避免了漏浆部位存在的局部麻面或蜂窝等质量问题。

防漏浆对拉螺杆设计图

防漏浆对拉螺杆实体

剪力墙模板采用该螺杆
3、技术原理
基层清理及放线等准备工作完成后,依线同时安放两侧的侧向模板,而后将对拉螺杆穿过并连接俩侧的侧向模板,稍微拧紧第二紧固螺帽以使止浆垫片紧贴侧向模板的外边,然后安放次楞及主楞,山形卡卡住主楞,拧紧第一紧固螺帽,调整所安装模板的垂直度及位置偏差,检验合格后浇筑混凝土。
4、实施效果
对于混凝土墙、柱、梁施工模板,采用本工艺能防止混凝土浇筑后浆体沿对拉螺杆孔流出对模板及已完工构件造成污染,同时也避免了混凝土拆模后对拉螺杆孔部位的混凝土质量由于漏浆的影响常出现局部的麻面或蜂窝等质量问题,响应了环境友好、资源节约的号召,节省了人力物力。扣除成本,节约成本98130元。
(三)、电梯井定型化提升式操作架施工技术
1、概况
本工程塔楼电梯井尺寸很大,而在模板搭设过程中,为便于洞口处梁、柱、墙侧模的安装,需在洞口处搭设脚手架。塔楼电梯井截面尺寸最大者达8350×2650mm,低区电梯从负二层至三十五层均须设置,高区电梯从负二层至四十九层均须设置。为便于洞口边剪力墙模板的安装,采用在电梯井处搭设型钢梁作为支承构件的钢管扣件式脚手架方案。
2、创新点
本工程电梯井截面尺寸大,为便于洞口边剪力墙模板的安装,发明一种定型化提升式电梯井操作架。
3、技术原理
电梯井内定型化提升式操作架采用了定型化型钢底座、固定式操作架体的设计,由底部型钢底座及上部操作架体组成。架体支承梁为多道工字钢,型钢底座由型钢框架及多道支承梁导架组成,架体为双排钢管扣件式脚手架。整个架体支撑一端搁置在剪力墙预留洞中,一端搁置在电梯井道边梁上,型钢底座与支承梁采用滚动轴承连接。

定型提升式操作架底部构造

支承梁导架大样

现场组装操作架

操作架大样
4、实施效果
本技术与传统的工艺相比,由于电梯井定型化提升式操作架的逐层提升、重复使用,节约了大量钢管、扣件租赁费及操作工人人工费,产生了较好的经济效益。此外,本工法响应了环境友好、资源节约的号召,具有良好的社会效益。总计有2个低区电梯井、2个中区电梯井、2个高区电梯井。采用电梯井定型化提升式操作架,型钢底座与支撑梁的材料、电梯井的钢管、扣件人工搭设、拆除、提升相比传统落地式钢管扣件脚手架能节省费用162807元。
效益分析
1、概况
万博汇名邸三期工程具有工程量大、工期要求紧、质量要求高、技术难度多、场地狭小等特点。在施工过程中,本工程共应用建筑业10项新技术中的9大项27小项,自主创新3项。
通过新技术的应用节约直接成本904.84万元、间接成本382.6万元(业主专业分包),共计1287.44万元,节约了工期104天。间接节约大量劳动力以及社会资源,具有良好的经济和社会效益。并且提高了工程施工质量、保障施工安全、降低了工程成本。响应了国家倡导的环保节能,绿色施工,管理信息化等技术在施工中的应用。实现了施工单位与建筑、设计、监理单位之间全过程协调管理,为企业树立了良好形象。在人才培养方面,我项目有3位到公司学习了BIM技术,项目一级建模师考取者有8人,经过一系列实践应用,我项目已经具备土建、机电、消防、装饰、三维空间技术一体的专业素质化团队。
2、效益指标

万博汇名邸三期建安工程投资大,社会影响深,通过在设计、施工、监理等单位树立精品意识,严把项目设计关、进度关、质量关、安全关坚持科学规划,严格管理,依法运作。对于此重点项目,集团公司对于此项目必将关注度高,将集中优秀的管理团队、施工队伍及资源,打造我集团公司的精品工程。同时对于建筑业10项新技术而言,涉及面广量大,对推动建筑业技术进步,提高工程质量将起到积极促进作用,通过项目本身,能有力地促进我公司的建筑业结构升级和提升品牌效应,培养自己的技术骨干,具有很强的社会效益和经济效益。
本文系转载,文章内容仅代表作者观点,版权归原作者所有,如有侵权,请联系删除,我们会在第一时间处理


