
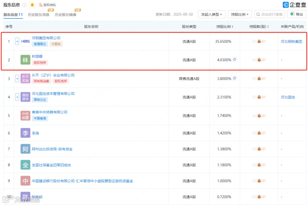
河钢集团旗下上市公司河钢资源股份有限公司(简称河钢资源),或将迎来股权结构的重大调整。据阿里资产司法平台信息显示,广东省广州市中级人民法院已启动对该公司第二大股东林丽娜所持全部股份的司法拍卖程序,涉及股份总数达2631.2878万股,占公司总股本的4.03%。如果拍卖成功,这意味着林丽娜将退出河钢资源的股东序列。
河钢资源股份有限公司隶属于河钢集团,始建于1950年,是中国生产制造推土机等工程机械系列产品及零部件的大型国有企业。1999年6月, 宣工集团独家发起募集设立了“河北宣化工程机械股份有限公司”,于同年7月14日在深圳证券交易所上市。
2017年6月重组完成后,公司通过全资子公司四联香港间接控股南非帕拉博拉矿业有限公司(PMC),实现了布局铜、铁等优质矿产资源的良好开端。2019年12月,为专注打造全球化资源类上市平台、实现战略转型,公司名称变更为河钢资源股份有限公司(股票简称:河钢资源,股票代码:000923)。
公司通过四联香港间接控股PMC开展铜、铁矿石和蛭石的开采、加工、销售,产品分别销往北美、西欧以及东亚区域,以上优质资源为公司可持续发展提供稳定的盈利保障。
据河钢资源2025年半年报,公司实现营业收入28.22亿元,归属于上市公司股东的净利润2.62亿元,展现出强劲的经营实力。
信息参考/河钢资源官网、淘宝拍卖平台、企查查等,
中国钢铁之家资源库
已有2万+成员入驻的钢铁专业人才库
定期发布行业技术、装备、采购招标、人才招聘
现招募会员(开通阅览人才资料及电话的权限)
1000元/人/年,欢迎加入寻找发展机遇!
免费扫码加入我们!
钢铁之家简介
钢铁之家隶属于北京立华钢联科技有限公司,公司成立于2009年,拥有全资子公司钢铁之家河北冶金科技有限公司,我们是一家国内权威的钢铁行业专业技术服务机构,集网站、期刊、会议、培训等服务为一体,自成立以来十年期间成功举办了80多场焦化、烧结、炼铁、炼钢、轧钢、低碳环保、智能制造等涉及钢铁生产各个工序的技术交流及专业培训,受到各大钢铁公司及相关单位的高度认可和一致好评。并与各省金属学会、钢铁工业协会、北京科技大学、东北大学、武汉科技大学、安徽工业大学、中南大学、燕山大学、及各大钢铁研究院所有诸多合作,为国内多家钢厂生产线提供有效的技术解决方案,致力服务于我国钢铁工业的技术进步。
在立足钢铁行业技术、资讯科技综合服务基础上,全面打造“品牌”理念和“创新”服务体系,专注钢铁产业链纵各环节的关键资源整合和助推企业的经营管理服务,为钢铁产业链的健康优化提供最有价值的贡献。

