曲轴位置传感器的作用就是确定曲轴的位置,也就是曲轴的转角。它通常要配合凸轮轴位置传感器一起来工作--确定基本点火时刻。
一、安装位置
传感器安装在发动机后部飞轮平面上或曲轴前端皮带轮旁边。
二、 工作原理
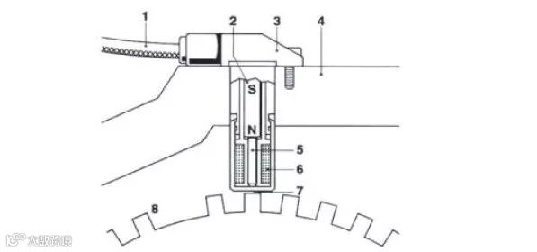
曲轴位置传感器跟脉冲盘相配合,用于无分电器点火系统中提供发动机转速信息和曲轴上止点信息。转速传感器由一个永久磁铁和磁铁外面的线圈组成。脉冲盘是一个齿盘,原本有60 个齿,但是有两个齿空缺。脉冲盘装在曲轴上,随曲轴旋转。当齿尖紧挨着转速传感器的端部经过时,铁磁材料制成的脉冲盘切割着转速传感器中永久磁铁的磁力线,在线圈中产生感应电压,作为转速信号输出。

三、故障现象及判断方式
故障现象:不能起动,突然熄火等。
一般故障原因:人为故障,接触不良。
维修注意事项:维修过程用压入的方法而不是用锤击的方法安装。
简易测量方法:(卸下接头)把数字万用表打到欧姆档,两表笔分别接传感器2#、3#针脚,20℃时额定电阻为860Ω±10%。(接上接头)把数字万用表打到交流电压档,两表笔分别接传感器2#、3#针脚,起动发动机,此时应有电压输出。(建议用车用示波器检查,可以查看。DG-6 被动型的是正弦波图形(如图);DGU主动型的是方波图形。)

转速传感器波形
针脚定义:
1 #:传感器电源
2 #:传感器信号
3 #:传感器接地


