
01
纳税期限调整,征期申报方式大改!
一、实行综合申报
自2020年10月1日起,纳税人需申报缴纳企业所得税(预缴)、城镇土地使用税、房产税、土地增值税、印花税中一个或多个税种时,可选择综合申报。综合申报主要适用于企业所得税按实际利润额按季预缴的查账征收企业,暂不涵盖按月预缴企业、核定征收企业和跨地区经营汇总纳税企业。
纳税人可通过北京市电子税务局进行综合申报。
二、调整印花税纳税期限
印花税按季或者按次计征。实行按季计征的,纳税人应当于季度终了之日起十五日内申报并缴纳税款。
三、施行时间
本公告自2020年10月1日起施行。
02
上海、山东等多地推行税种综合申报
一、多地推行税种综合申报
采用综合申报,北京并不是首例,早在7月底,国家税务总局发布了《关于进一步支持和服务长江三角洲区域一体化发展若干措施的通知》,通知中就提出五税合一综合申报。
通知中第三点便是综合申报:推行“五税合一”综合申报。进一步简并征期,将城镇土地使用税、房产税、印花税(按次申报的除外)、土地增值税等四个税种统一按季申报。纳税人在申报上述四个税种和企业所得税时,可选择通过电子税务局进行税种综合申报,实现“一张报表、一次申报、一次缴款、一张凭证”。
另外,上海、山东等地区也发布税种综合申报通知:
上海
上海除采用综合申报外,还调整了相关税种纳税期限,以下是政策内容节选:
二、调整相关税种纳税期限
(一)城镇土地使用税和房产税
城镇土地使用税和房产税实行按季申报缴纳,纳税人应当于季度终了之日起十五日内申报并缴纳税款。
(二)土地增值税
房地产开发企业转让开发建造的房地产,土地增值税实行按季申报缴纳,纳税人应当于季度终了之日起十五日内申报并缴纳税款。
(三)印花税
印花税按季或者按次计征。实行按季计征的,纳税人应当于季度终了之日起十五日内申报并缴纳税款。
三、施行时间
本公告自2020年7月1日起施行,其中第二条关于纳税期限的有关规定,2020年7月1日至12月31日期间,纳税人可选择按原纳税期限和方式申报缴纳税款。
山东
通告原文(节选):
一、办理对象
1、税种综合申报:纳税人申报缴纳企业所得税、城镇土地使用税、房产税、土地增值税、印花税中的一个或者多个税种时,可以通过“税种综合申报”功能填写相应申报表,相关数据自动汇总到税种综合申报表,实现五个税种一个入口一次综合申报。
2、主附税费合并申报:纳税人申报缴纳增值税、消费税、城市维护建设税、教育费附加、地方教育附加、水利建设专项收入和文化事业建设费时,可以通过“主附税费合并申报”功能,填写完增值税和消费税申报表后,主税已申报信息自动带入到城建税、教育费附加、地方教育附加税(费)申报表中,完成所有申报表填报后,实现七个主附税费一次性合并申报。
二、办理方式
1、税种综合申报
登录山东省电子税务局,点击“我要办税”—“税费申报及缴纳”—“税种综合申报”进行操作。
系统根据纳税人税种认定信息,在功能列表中显示企业所得税、城镇土地使用税、房产税、土地增值税、印花税申报表,纳税人填写需要申报的申报表,填写完成后相关数据自动汇总到税种综合申报表中,点击“申报”按钮一次性提交申报,系统自动显示各税种申报结果。
2、主附税费合并申报
登录山东省电子税务局,点击“我要办税”—“税费申报及缴纳”—“主附税费合并申报”进行操作。
系统根据纳税人税费种认定信息,在功能列表显示增值税、消费税、文化事业建设费、城市维护建设税、教育费附加、地方教育附加和水利建设专项收入申报表,纳税人依次点击“填写申报表”按钮填写申报信息,完成后点击浏览器“关闭”按钮,返回主附税费合并申报页面,点击“确认主附税费合并申报”按钮一次性提交申报,系统自动显示各税费种申报结果。
03
税种综合申报流程
今天我们就以山东省电子税务局为例,为大家详整理了一份操作说明,详细解答综合申报流程分享给大家!
一、税种综合申报
功能操作:登录山东省电子税务局,点击“我要办税”—“税费申报及缴纳”—“税种综合申报”进行操作。
以企业所得税为例,填写完成后,点击其它申报表,填写界面从一个税种切换到另一个税种时,系统自动暂存数据,免于手工点击“暂存”按钮。
报表填写完成后,系统自动校验各报表填报逻辑,相关数据自动汇总到税种综合申报表中。
点击右上角“申报”按钮,系统展示本次需要申报的税种情况。点击确定后一次性完成申报,系统显示各税种的申报结果。
说明:
1、以上涉及的税种单独申报功能模块仍然保留,大家也可以通过“我要办税”—“税费申报及缴纳”下功能模块单独申报。
2、系统根据纳税人税种认定信息,在功能列表中显示五税,纳税人填写需要申报的申报表,填写完成后数据自动汇总到税种综合申报表中,点击“申报”按钮一次性提交申报,系统自动显示各税种申报结果。
二、主附税费合并申报
功能操作:点击“我要办税”—“税费申报及缴纳”—“主附税费合并申报”,“征收项目”栏根据纳税人的税费种认定情况,在列表展示:增值税、消费税、城市维护建设税、教育费附加、地方教育费附加、水利建设专项收入和文化事业建设费。其中消费税和文化事业建设费没有税费种认定信息的不展示。
纳税人依次点击“填写申报表”按钮填写申报信息,完成后点击浏览器“关闭”按钮,返回主附税费合并申报页面。
所有税费种都填报完申报信息后,点击“确认主附税费合并申报”按钮进行申报比对,比对通过后申报信息写入核心征管系统,比对不通过的,在下方显示比对不通过的原因。
大家在操作的时候,可以根据反馈信息,点击“查看申报表”按钮调整申报数据,重新点击“确认主附税费合并申报”按钮触发比对,比对通过的申报信息写入核心征管系统,状态栏显示“申报成功”。
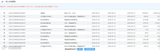
三、多税费种税款一次缴纳
功能操作:点击“我要办税”—“税费申报及缴纳”—“网上申报缴税”。
可选择多条待缴款信息,一次性完成税款缴纳,系统按照各税费种的应缴数额自动累计,自动分笔缴纳入库。已经签署税银三方协议、设置成税款自动扣款的,征期内系统自动扣款缴纳。
四、多税费种缴税一张凭证
功能操作:点击“我要办税”—“证明开具”—“开具税收完税证明(表格式)”。
可自主选择需要汇总打印的项目,选择后点“汇总打印”,可同时打印各税费种缴款信息,加盖税务机关电子印章。
纳税人可以在电子税务局自行打印《税收完税证明》(表格式)作为完税凭证(一票多税),不同打印设备造成的色差不影响效力。
附录:作废申报
温馨提示:若申报成功后发现申报数据有误,可通过作废申报表后重新申报。
操作步骤:
登录“山东省电子税务局”→“我要办税”→“税费申报及缴纳”→“税种综合申报”→“作废申报”→“申报作废”→填写“申报作废原因说明”→“作废”→“确定”即可。
04
一图读懂税种综合申报
看完文章记得给奥奥点亮“在看”哦~
这样才能及时看到奥奥精心准备的内容
希望我们永远不走散

丨本文由东奥会计在线(ID:dongaocom) 整理发布,本文来源:北京税务、上海税务、山东税务。若须引用或转载,请注明以上信息。



