
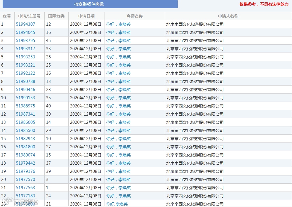
春节档电影《你好,李焕英》,其实在两个多月以前,也就是2020年12月8日,“你好,李焕英”已经被45个全类别申请了商标注册。
这部上映10天票房超40亿元,春节大火的电影《你好,李焕英》注册了全类商标,而它的主要“对手”唐人街探案也早已由万达影视注册了32个相关商标,商标类别涉及25类、32类、33类等。贺岁档们集体给大家上了一节知识产权课。
《你好,李焕英》于2021年2月12日大年初一全国上映。早在两个多月前,2020年12月8日,已由北京京西文化旅游股份有限公司申请了45个类别全类商标。
北京京西文化旅游股份有限公司除了申请了45个类别你好,李焕英。同时还有45个类别我和我的家乡已申请。从官方公布的信息来看,《你好,李焕英》有七个出品方,18个联合出品方。
而这45件“你好,李焕英”商标的申请人,北京京西文化旅游股份有限公司(简称北京文化)就是七个出品方其中之一。如此有商业头脑,这次一举申请45件“你好,李焕英”商标也就不难理解了。
商标全类保护是指申请人在办理商标注册时指定所有类别的商品及服务,使其商标在全部类别受到保护。共计45个类别。
依据我国《商标法》第51条规定:“注册商标的专用权,以核准注册的商标和核定使用的商品为限。”这条规定,界定了注册商标的保护范围,一般的注册商标只在其所在的类别受到法律保护,所谓的全类保护则是指在全部类别受到保护。全类注册是一种保护性投资行为。
可以放心打造自己的品牌,大胆实施品牌化战略,进行多元化、跨行业的发展。避免发生企业壮大后,生产经营的范围中可能会扩大到以前没有规划的行业或者商品,却发现自己使用多年的商标在这个领域被别人注册尴尬情况。如果发生这种情况,重新注册势必给企业带来非常大的负面影响。
申请全类注册也为以后认定驰名商标创造条件(商标的注册类别和注册范围、地域是认定驰名商标的一个重要因素),有利于把牌子做强做大。
有利于提高品牌的无形价值,可以要求评估品牌价值,以品牌资产来投资其他行业或者申请贷款,这些对企业来讲是非常重要的。

商标全类注册后,不仅提高了消费者和商家对您企业的识别和信任能力,同时也提高了企业品牌的地位和在市场中的竞争力,更容易吸引其它股东的投资,促使企业更快更强的发展。
可以将品牌有偿转让或授权许可给其他企业使用,从而为公司创造利益,更快地提高品牌的知名度和无形价值。
可以保证他人在任何一个行业都不能用我们的商标,从而有效保护品牌的良好声誉。如果不全类注册,别人为了利用您的名气马上会想到在其它类别抢注您的品牌,沾您的光,搭您的便车。还可能在您的行业对立面使用该品牌,对品牌声誉、销售带来极其恶劣的影响。
免责声明:本文转自网络,版权归原作者及原出处所有。如涉及版权问题,请及时与我们留言联系,我们会在第一时间回复您并进行处理。
若您对注册国际商标感兴趣或有任何疑问,请拨打全国免费专家咨询电话:400-626-6267。