点击蓝色字体☝关注沈阳本地宝并设置星标,获取最新信息~
大家都还记得自己
是什么时候拿到驾照的吗?
需要注意一下驾照的有效期哦
需要提前多久办理期满换证?
如何办理?在哪办理?
今天一起来了解下吧
需要提前多久办理期满换证?
·机动车驾驶人应当于机动车驾驶证有效期满前九十日内,申请机动车驾驶证有效期满换证
·如已超过有效期但未满11个月的,可通过交管12123APP继续申请换证业务
·超过有效期满11个月,未满1年的,需到机动车驾驶证核发地车辆管理所申请换证
·网上办理期满换证业务,需先到指定医院(体检医院)进行体检并获取《机动车驾驶人身体条件证明》
办理材料
·申请人身份证原件
·近6个月内证件照片(近6个月内在交管服务网点或通过"交管12123"APP 上传电子照片的免于提交)
·近6个月内体检信息(医疗机构上传电子信息的免于提交)
·委托代理人办理的,代理人须提供身份证明原件、委托书
长按识别/扫描下方二维码
进入并关注公众号【沈阳本地宝】
在对话页面输入并发送【驾照】
可以获取“交管”12123APP下载入口
沈阳线下办理地点查询等
办理流程
1.能力测试
70周岁(含)以上办理期满、转入换证的,需参加【能力测试】。携带身份证件前往能力测试网点参加测试
2.体检
·办理期满、超龄、因身体条件变化等换证的,需参加体检。携带身份证件前往指定医疗机构参加体检
·持C5准驾车型的驾驶人,前往经省级卫生健康行政部门认定的专门医疗机构参加体检
3.审验学习
·办理期满、转入换证时,持AB类驾驶证存在记分记录、非AB类驾驶证存在发生交通事故造成人员死亡承担同等以上责任未被吊销机动车驾驶证情形的,需先参加审验学习
·持AB类驾驶证,被扣9分以下的,可通过"交管12123"APP在线申请参加网络学习;被扣9至11分的,携带身份证件前往教育网点参加现场学习
图源:摄图网_500532420 仅配图
4.申请
·期满、转入、超龄、损毁换证、遗失补证及延长准驾车型资格的,可通过"交管12123"APP在线办理
·自愿降低准驾车型、身体条件变化、信息变更及合并办理注销实习准驾车型换证的,携带身份证件前往指定业务网点申请
5.受理制证
业务受理并制作驾驶证
线下网点查询
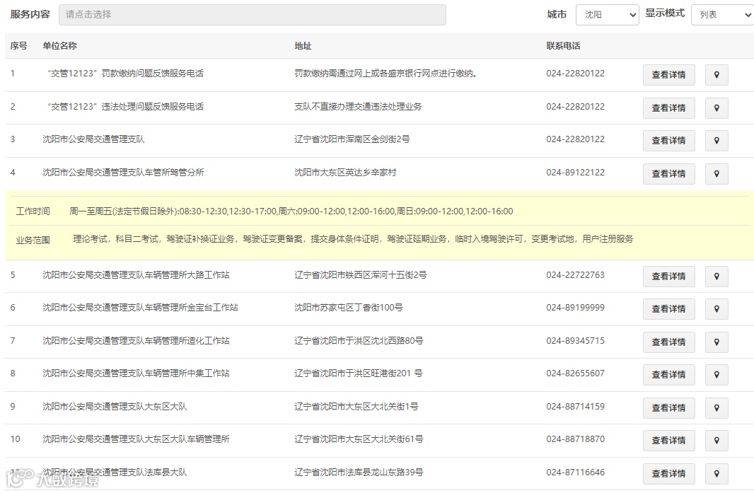
1.进入交通综合服务管理平台,选择“辽宁”
https://gab.122.gov.cn/m/index/
图源:交通综合服务管理平台(下同)
2.点击“服务导航”
3.城市选择”沈阳“,可以获取沈阳线下办事网点,以及该网点业务办理范围、办理时间、网点地址及咨询电话等相关信息
-END-
右下角,您点赞和推荐
小编工资涨2毛
小编有话说
为了不错过我们的推文
欢迎大家点击星标哦,简单几步操作👇
➤推荐服务:
点击公众号菜单栏或聊天对话框回复关键词:【❎不是留言区】

向下滑动查看更多↓↓
回复【演唱会】获取沈阳演唱会最新排期表
回复【事业单位】获取沈阳事业单位招聘信息
回复【新阳卡】获取沈阳新阳卡申领指南
回复【故宫】获取沈阳故宫博物院门票购买入口
回复【九一八】获取沈阳九一八历史博物馆预约入口
回复【人才驿站】获取沈阳人才驿站申请指南
回复【景区】获取沈阳景区预约购票指南
回复【地铁】查看沈阳地铁最新时刻表
回复【补贴】获取沈阳补贴汇总
回复【购房补贴】获取沈阳购房补贴申请指南
回复【契税补贴】获取沈阳契税补贴政策
回复【公租房】获取申请流程、摇号名单查询
回复【公积金】获取沈阳公积金提取和贷款指南
回复【医保】获取沈阳医保办事指南
▌说明:本文由沈阳本地宝整理发布,未经允许请勿转载!如涉及侵权或对版权有疑问,请邮件联系kangsuhang@bendibao.com
▌来源:交通综合服务管理平台,交管12123APP
▌编辑:苏玖(康苏杭)
▌文章及封面图源:摄图网(已获平台授权)
▌商务合作:电话:4009999087 QQ:4009999087 微信:点击查看
注:手机QQ添加时,若无法找到,请选择“找公众号”即可添加
戳阅读原文,进入沈阳办事指南

