
多用电表的表盘
表盘包括刻度和调节两个部分

刻度部分
有三条主要刻度线,最上面是一条欧姆表的刻度,零刻度线在最右侧,左大右小,刻度不均匀。
中间刻度线是直流和交流公用,零刻度线在左侧,从左至右读数均匀增加。测直流电流,直流电压,高压交流电的数值。
最下面刻度线是2.5V交流电压刻度线,零刻度线在左侧,左密右疏,刻度不均匀。
调节部分
a.指针定位螺丝(机械调零旋钮):它的作用是使指针指在左侧的零刻度线上,通常都是调好的,不用动,万一要调,要使用螺丝刀调节。
b.选择开关:它的作用是选择测量项目和量程,它带有箭头,箭头所指表明该表的作用和量程。
c.欧姆调零旋钮:它的作用是,在多用电表当做欧姆表使用时,将红、黑表笔直接相接(短接),调整指针使之指在欧姆表的零刻线。欧姆档每次换挡后都要调零
测量前,先检查表针是否停在左端的"0"位置,如果没有停在"0"位置,应用小螺丝刀轻轻地转动表盘下面中间的定位螺丝,使指针指零,通常称为机械调零。然后将红表笔和黑表笔分别插入正(+)、负(-)测试笔插孔。
测量电流或电压时,应把选择开关旋到相应的测量项目和量程上,电路中的电流应从红表笔流入,黑表笔流出。读数时,要注意选择的量程。
读数:测量值=(表盘指针示数÷表盘满偏示数)×倍率.
欧姆表是根据闭合电路欧姆定律制成的,它的原理如下图所示,G是电流表(表头),内阻为Rg,满偏电流为Ig,电池的电动势为E,内阻为r。电阻R是可变电阻,也叫调零电阻。
1.当红、黑表笔相接时,相当于被测电阻Rx=0,调节R的阻值,使 ,则表头的指针指到满刻度,所以指针指在电流的满偏处,定为电阻刻度的零点。Rg+r+R是欧姆表的内阻。
2.当红、黑表笔不接触时,相当于被测电阻Rx=∞,电流表中没有电流,表指针不偏转,此时指针所指的位置定为电阻刻度的∞点。
3.当红、黑表笔间接入被测电阻Rx时,通过表头的电流 ,改变Rx,电流I随着改变,每个Rx值都对应一个电流值,在刻度盘上直接标出与I值对应的Rx值,就可以从刻度盘上直接读出被测电阻的阻值。
特别提醒:
由于I与Rx不成线性关系,所以欧姆表的刻度是不均匀的,从表盘上看,"左密右疏",电阻零刻度是电流最大刻度,电阻"∞"刻度是电流零刻度。

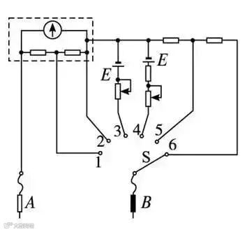
ⅰ接入1.2接入的电阻为表头分流是电流表,接1时并联的电阻更小能分更多的电流所以它的量程大。
Ⅱ接入3.4是欧姆表,内阻大量程大。
ⅲ接入5.6是电压表,6的阻值高,分的电压大,两量程大。
(1)机械调零: 用螺丝刀调整定位螺丝进行机械调零。
(2)选择合适倍率:将选择开关打在Ω档适当位置(选择合适的倍率)。以使指针指在中央附近1/3刻度范围,所选倍率比待测电阻的估计值小一个数量级。如果不知道待测电阻的估计值,可以按倍率从大到小依次实验直到指针指到中央附近。
(3)欧姆调零: 将红、黑表笔短接,调整欧姆调零旋钮使指针指在欧姆表零刻度线位置。若“欧姆零点”旋钮右旋到底也不能调零,应更换表内电池。
(4)测量读数: 将待测电阻从电路中拆下,将欧姆表的两个表笔搭接在待测电阻两端,如果指针在中央附近,表针示数乘以倍率,即为待测电阻的阻值。如果指针靠近左右两端,可根据“大量程大角度偏,小量程小角度偏”规律选择合适倍率重新调零,按步骤(3)(4)进行。
(5)将选择开关调至off 档或交流电压最高档位置,拔出表笔。
读数原则
测量值=表盘指针示数×倍率
特别提醒:
(1)测电阻时,待测电阻要与别的元件断开,切不要用手接触表笔;
(2) 合理选择欧姆挡的量程,使指针尽可能指在表盘中央附近; 若指针偏角太大,应换低挡位;若指针偏角太小,应换高挡位,这一点与用多用电表测电流、电压时不同
(3)使用欧姆表测电阻时,每次换倍率均要重新调零。
二极管是一种半导体元件,它的特点是电流从正极流入时电阻比较小,而从正极流出时电阻比较大。
①机械调0(左侧0)。
②选挡:将选择开关旋至低倍率的 欧姆挡(例如“×10Ω挡)。
③电阻调0(右侧0)。
④测量:将黑表笔接触二极管正极,红表笔接触二极管负极。
⑤读数:将指针示数乘以倍率得测量值。
①机械调0(左侧0)。
②选挡:将选择开关旋至高倍率的 欧姆挡(例如“×100Ω挡)。
③电阻调0(右侧0)。
④测量:将黑表笔接触二极管负极,红表笔接触二极管正极。
⑤读数:将指针示数乘以倍率得测量值。
(1)选档。
(2)测量。
(3)读数。
注意事项
(1)将电流表串联在待测电路中。
(2)量程应大于通过小灯泡电流的估计值。
(3)电流应从红表笔流入电表。
(4)读数时先看量程再看小格,要正视表针(垂直表盘正对表针)。
(1)选档。
(2)试测选量程。
(3)测量。
(4)读数。
(1)用一主尺最小分度为1mm,游标上有20个分度的卡尺测量一工件的长度,结果如图所示.可以读出此工件的长度为______mm.

(2)某万用表的欧姆档共有R×1、R×10、R×100、R×1k档,当用R×10档测某一电阻时,指针指在如图(乙)所示的位置,则该电阻的阻值是______Ω.若要测量1kΩ左右的电阻,量程应选______档读数较准确.
解决本题的关键掌握游标卡尺读数的方法,主尺读数加上游标读数,不需估读.
解析
1、游标卡尺的主尺读数为:10.4cm=104mm,游标尺上第1个刻度和主尺上某一刻度对齐,所以游标读数为1×0.05mm=0.05mm,所以最终读数为:104mm+0.05mm.
2、多用电表测电阻时,读最上面的刻度,读数是20,乘以倍数是,20×10Ω=200Ω,若要测量1kΩ左右的电阻,量程应选×100档读数较准确.
故答案为:(1)104.05 (2)200,×100.
2.如图为多用表欧姆档的原理图,其中电流表的满偏电流为300μA,内rg=100Ω,调零电阻的最大阻值R=50kΩ,串联的固定电阻R=50Ω,电池电动势E=1.5V.用它测量电阻Rx,能准确测量的范围是 ( )

A.30kΩ~80kΩ
B.3kΩ~8kΩ
C.300Ω~800Ω
D.30Ω~80Ω
欧姆表的中值电阻附近刻度最均匀,读数误差最小,求解出该欧姆表的中值电阻即可.
解析
欧姆表的中值电阻附近刻度最均匀,读数误差最小;
欧姆表的中值电阻R中等于欧姆表的内电阻R总,根据闭合电路欧姆定律,满偏时:Ig=
半偏时,
Ig=
联立解得:R中=R总=
故选B.
赞是一种鼓励 分享是最好的支持
放 到 你 的 朋 友 圈 里,朋 友 们 会 感 激 您


