

长春的一模考试刚刚结束不久,不少同学也对自己目前学习的情况有了一个清晰的认知。帮帮整理了省内15所热门大学的录取分数线,看看目前距离你的目标专业还差多少分吧!
先根据考生一模成绩,换算成2024年的高考分数,具体换算方法:
2024高考分=考生分数-一模本科线+2024吉林省高考本科线
比如:理科生一模考了450分,那一模成绩换算成高考分就是:
450-294+345(2024吉林省理科本科线)=501
一模成绩换算成2024年高考分数的话是501分,历史组同样这样换算。
换算完之后,大家就可以对照吉林省内大学2024年各专业的录取分数线,看看能够上哪些大学。
🙋还不会换算成绩的家长,可以点击下方的文章仔细查看
注:以下数据来源学校官网







一般计划(普通类)
历史类:录取最低分580/1536位,商务英语专业;
历史学(日知试验班)录取最低分607/678位。

物理类:录取最低分581/9206位,心理学专业;
生物科学(郝水试验班)录取最低分628/3081位;
数学与应用数学(陆家羲试验班)录取最低分632/2724位;
物理学(陆家羲试验班)录取最低分628/3081位。


一般计划(公费师范)
历史类:录取最低分605/733位,学前教育(公费师范)专业。

物理类:录取最低分621/3792位,化学(公费师范)、生物科学(公费师范)专业。

优师专项计划
历史类:录取最低分593/1050位,英语(优师专项)专业。

物理类:录取最低分605/5682位,化学(优师专项)、生物科学(优师专项)专业。

公费师范生和优师专项计划都在提前批段录取,但一般来说,前者录取分数会高于后者。
2024年起,国家在6所教育部直属师范大学实施本研衔接师范生公费教育(本科4年,教育硕士研究生2年),支持符合条件的公费师范生免试攻读本校全日制教育硕士研究生再履约任教。
国家专项计划
历史类:录取最低分528/4756位,俄语专业。

物理类:录取最低分540/16983位,环境科学与工程类专业。

中外合作办学
历史类:录取最低分560/2579位,物流管理(中外合作办学)专业。

物理类:录取最低分546/15749位,物流管理(中外合作办学)专业。

历史(普通类)本科批3个专业组,共录取396人。
物理(普通类)本科批6个专业组,共录取1638人。
普通历史类——不限选科
普通历史类——不限选科(地方专项计划)
普通物理类——不限选科
普通物理类——不限选科(国家、地方专项计划)
普通物理类—选考化学
普通物理类—选考化学(中外合作办学)
普通物理类—选考化学(国家专项计划)
普通物理类—选考化学(地方专项计划)
普通物理类—选考化学、生物
少数民族预科班
艺术类
提前批
国家专项
地方专项
预科班
本科批
吉林普通本科批(历史组)
吉林普通本科批(物理组)
吉林艺术普通本科批
物理类乡村振兴计划
物理类地方专项
物理类本科批
物理类中外合作
历史类本科批
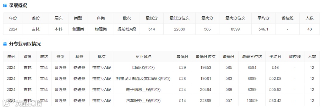
吉林省提前批A段
吉林普通本科批(物理组)
吉林普通本科批(历史组)
吉林普通本科批(艺术类)
吉林普通本科批(体育类)

历史类提前批
历史类本科批
物理类提前批
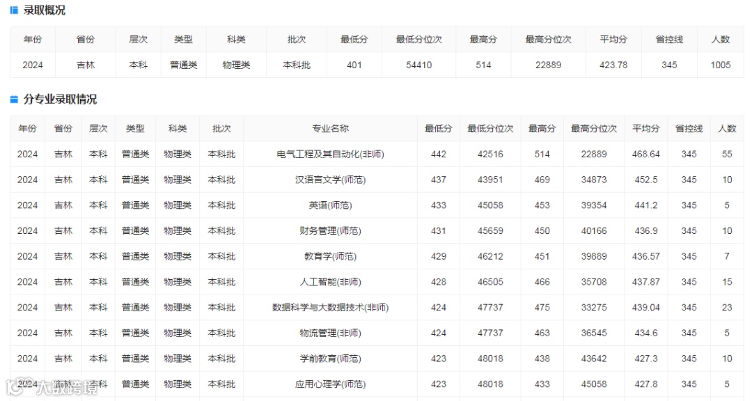
物理类本科批


注:家长可点开图片后扫描


