近期,不少小伙伴在后台问通妹
驾驶本到期了怎么办?
HPV疫苗怎么预约?
新冠疫苗哪里有苗?
别急,郭郭这就来一一为大家解答!


所以
就吐血整理了这份
石家庄办事、游玩、出行等全攻略
一定要存起来呀
(本文图片居多,点击图片可查看大图)
办事指南篇
我国公民身份证根据办理时
不同年龄段的有效时长也是不同的
每张身份证的背面都有“有效期时长”
①十六周岁至二十五周岁的,发给有效期十年的居民身份证;
②二十六周岁至四十五周岁的,发给有效期二十年的居民身份证;
③四十六周岁以上的,发给长期有效的居民身份证;
④未满十六周岁的公民,自愿申请领取居民身份证的,发给有效期五年的居民身份证。
什么情况需要换领新证
①居民身份证有效期满、公民姓名变更或者证件严重损坏不能辨认的,应当申请换领新证;
②居民身份证登记项目出现错误的,公安机关应当及时更正,换发新证;
③领取新证时,必须交回原证;
④居民身份证丢失的,应当申请补领。
收费标准
首次申领居民身份证就不用再缴纳20元的工本费。据了解,首次申领居民身份证包括以下5种情形:未满16周岁首次申领的;年满16周岁首次申领的;港澳台同胞迁入内地定居首次申领的;华侨回国定居首次申领的;外国人、无国籍人加入或恢复中国国籍首次申领的。
此次免费的范围仅限于“首次申领”,如果是到期换证或者丢失补领等其他情况,还是要按照规定缴纳相应费用的,有效期满换领的需缴纳工本费20元,证件损坏换领、丢失补领的,需缴纳40元。
办理时限
按照《河北省公安机关便民利民二十项措施》的规定,公民申领、换领、补领居民身份证,市区和县城区派出所由60日缩短至18个工作日内办结,其他派出所缩短至20个工作日内办结。
办理地点




(滑动可查看)
临时身份证也是有有效期的!
《中华人民共和国临时居民身份证管理办法》
规定,临时居民身份证的有效期限为三个月
有效期限自签发之日起计算~
办理指南
在办理居民身份证时,应当采集人像信息和指纹信息,填写《居民身份证申领登记表》,核对居民身份证登记项目,核对无误后签字确认,交纳证件工本费。
1、申请人到常住户口所在地公安机关(一般为公安派出所)办理申领手续
2、公安派出所将公民个人信息核准后报送县(市)公安局或设区的公安分局审核签发,并负责制作证件
3、公安机关在收到申请后的3日内将证件发给申领人
4、领取了临时居民身份证的公民在领取居民身份证时,应当交回临时居民身份证
办理地点
桥西分局
地址:桥西区兴华街9号
中山派出所
地址:永安街51号
裕西派出所
地址:工农路90号
合作路派出所
地址:迎春巷4号
注:以上地址信息仅供参考,临时身份证的办理只需到当地派出所办理即可!
办理时限及费用
临时居民身份证制发1个工作日内办结。
依据国家发改委、财政部(发改价格[2003]2322号)文件规定,办理临时身份证,收取工本费每证10元。
办理条件
1、机动车驾驶证有效期满换证;
2、达到规定年龄换证;
3、自愿降低准驾车型换证;
4、机动车驾驶人信息发生变化换证;
5、机动车驾驶证损毁换证。
办理流程
驾驶证有效期满换证
申请人需到医疗机构体检、申请人的身份证明原件,代理人代理时还应提交代理人身份证明原件和机动车驾驶人与代理人共同签字的《机动车驾驶证申请表》
达到规定年龄换证
申请人的身份证明原件、原机动车驾驶证原件,代理人代理时还应提交代理人身份证明原件和机动车驾驶人与代理人共同签字的《机动车驾驶证申请表》
因身体条件变化降低准驾车型换证
申请人的身份证明原件、原机动车驾驶证原件,代理人代理时还应提交代理人身份证明原件和机动车驾驶人与代理人共同签字的《机动车驾驶证申请表》
驾驶证转入换证
身份证明原件、原机动车驾驶证原件,属于同时申请补领机动车驾驶证的可以不提交原机动车驾驶证原件。
办理流程
业务办理流程
1、申请人需到医疗机构体检
注意:办理驾驶证转入换证、驾驶证遗失补证业务时,属于同时申请有效期满换证,达到规定年龄换证和因身体条件变化降低准驾车型换证的申请人需到医疗机构体检。
2、当事人到业务大厅排队叫号后,按次序到窗口办理受理、交费、制证等业务。业务大厅未启用排队叫号系统的按照导办员指引到窗口办理。
3、当事人领取机动车驾驶证,业务办结。其他换驾驶证业务
办理以下三项换证业务时是不需要进行体检的:
自愿降低准驾车型换证;驾驶人信息发生变化换证;驾驶证损毁换证。
所需资料为:
申请人的身份证明原件、原机动车驾驶证原件、代理人代理时还应提交代理人身份证明原件和机动车驾驶人与代理人共同签字的《机动车驾驶证申请表》
注意:驾驶证损毁换证是不需要机动车驾驶证原件的。
办理地点
石家庄市公安交通管理局车辆管理所第一分所
地址:石家庄市石获南路(原市车管所院内)
联系电话:85858255
石家庄市公安交通管理局车辆管理所第二分所
地址:石家庄市东二环南路189号(东二环与南二环交汇处)
联系电话:85858350
石家庄市公安交通管理局车辆管理所第三分所
地址:石家庄市石获南路(原市车管所院内)
联系电话:85858430
办理时限及费用
办理时限
1个工作日核发机动车驾驶证。
办理费用
驾驶证工本费:10元。
疫苗篇
可预约九价疫苗
石家庄长安传控门诊可以预约九价疫苗
预约时间:开始时间5月21日上午11:00,结束时间为当天23:59,若预约人数先满,将以预约满额的时间作为结束时间
预约人数:本次预约为45人份
接种费用:本次预约服务为三针剂一次性预约,共计3999元,单针剂费用1333元(含疫苗1308元及25元接种服务费)
可打新冠疫苗社区
石家庄谈固社区卫生服务中心
2021年5月18日,我中心有安徽智飞龙科马重组蛋白疫苗三针剂疫苗到位。请携带身份证前来排队接种,无需预约。
接种对象:未接种第一针的居民,可前来接种(携带身份证、接种凭证或者河北健康码小程序可以查询接种凭证)。
接种时间:5月18日8:00开始接种,直到最后一针接种结束。
谈固中心临时接种地点:谈固北大街与北宋路石家庄市妇产医院谈固院区南门(院内)。
接种后需要留观30分钟,登记签字后方可离开。
此次接种为重组新冠病毒疫苗(CHO细胞),与前段时间接种的新冠疫苗类型不同,这两种不能混打。重组新冠病毒疫苗(CHO细胞),需接种3剂,第2剂尽量在接种第1剂次后4至8周内完成,第3剂尽量在接种第1剂次后6个月内完成。
注意事项:佩戴口罩,自觉出示河北健康码,配合测温、登记、留观。
宁安社区卫生服务中心
5月18日接到安徽智飞龙科马重组(CHO)新冠疫苗500人次。
接种人员要求:本次疫苗用于第一针接种。
接种时间:5月18日上午9:00开始
温馨提示:
请携带身份证或提前填写懂苗服务小程序个人资料,以便减少您排队时间
接种前注意事项:
1、接种前身体状况良好无不适,无发热,急性病期患者建议延迟接种;
2、有过敏史、严重慢性病、普通慢性病急性发作期、精神系统疾病例如癫痫、孕期、哺乳期不适合接种
请广大辖区居民抓紧时间进行接种,以免错过接种时机。
接种地址:福源老年公寓
咨询电话:86252478
疫苗接种单位名单





(滑动可查看)
更多疫苗详情,点击下方名片或搜索“石家庄本地通”,后台回复“疫苗”,可查看!
HPV疫苗与新冠疫苗相关
HPV疫苗和新冠疫苗可以同时接种吗?
根据《新冠疫苗新冠病毒疫苗接种技术指南(第一版)》和《HPV疫苗说明书》,目前不推荐HPV疫苗和新冠疫苗同时进行接种。
HPV疫苗和新冠疫苗接种间隔是多久?
根据《新冠疫苗新冠病毒疫苗接种技术指南(第一版) 》,建议HPV疫苗与新冠病毒疫苗的接种间隔应大于14天。
是否要求三针HPV疫苗打完才可以接种新冠疫苗?
没有要求,HPV疫苗和新冠疫苗可以交替接种。接种间隔应大于14天。
两种疫苗接种时间冲突怎么办?可以推迟接种HPV疫苗吗?
根据《HPV疫苗说明书 》,在推荐的接种程序上,HPV疫苗可以短时间推迟接种。具体如下:
国产二价疫苗:第2剂可在第1剂之后的1-2个月内接种,第3剂可在第1剂后的5-8月内接种。
进口二价疫苗:第2剂可在第1剂之后的1-2.5个月之间接种,第3剂可在第1剂后的5-12月之间接种。
进口四价和九价疫苗:三针应在一年内完成。
虽然可以推迟接种,建议大家在没有特殊原因的情况下,最好按期尽早接种。
HPV疫苗推荐接种程序:
二价疫苗:0、1、6月,第一针打完后,1个月之后打第二针,6个月之后打第三针。其中国产二价疫苗,对9-14岁女性也可以选择采用0、6月分别接种1剂次的免疫程序。
四价、九价疫苗:0、2、6月,第一针打完后,2个月之后打第二针,6个月之后打第三针。
特别提示:以下人群不能接种
1.妊娠期间避免接种,哺乳期妇女慎用;
2.急性严重发热性疾病应延后接种;
3.对本品或四价HPV疫苗的活性成分或任何辅料成分有超敏反应者禁用;
4.注射本品或四价HPV疫苗后有超敏反应症状者,不应再此接触本品;
5.如有其他不适于接种的疾病,请咨询专业医生。
便民篇
万能热线 12345
| 水、电、气、网 | 电话号码 |
| 供水热线 | 86112211 |
| 供电热线 | 95598 |
| 新奥燃气 | 95158 |
| 供热服务监督热线 | 66688993 |
| 电信宽带 | 10000 |
| 联通宽带 | 10010 |
| 移动宽带 | 10086 |
| 长城宽带 | 0311-95079 |
| 交通工具 | 电话号码 |
| 车票查询及预订电话 | 0311-95105105 |
| 火车票客服热线 | 12306 |
| 石家庄公交服务热线 | 96599 |
| 地铁热线 | 66526666 |
| 石家庄站咨询电话 | 0311-80943070 |
| 石家庄北站咨询电话 | 0311-87924012 |
| 客运总站 | 0311-87025775 |
| 白佛客运站 | 0311-68091235/68091239 |
| 运河桥客运站 | 0311-68091122/68091117 |
| 南焦客运站 | 0311-68091070 |
| 汽车客运北站 | 0311-68091188 |
| 正定机场客服热线 | 0311-96360 |
| 河北航空客服热线 | 0311-96699 |
| 春秋航空客服热线 | 95524 |
| 中国国际航空客服热线 | 95583 |
| 中国东方航空客服热线 | 95530 |
| 中国南方航空客服热线 | 400-669-5539 |
| 交管热线 | 85858000 |
| 社保、医保、公积金 | 电话号码 |
| 人力资源社会保障电话 | 12333 |
| 住房公积金热线 | 12329 |
| 石家庄医疗保险中心的统一查询电话 | 0311-12333/0311-83865000 |
| 住房和建设稽查大队 | 87018315 |
| 医院名称 |
电话 |
| 河北省人民医院 | 85989696 |
| 河北医科大学第一医院 | 85917000 |
| 河北医科大学第二医院 | 87046901 |
| 河北医科大学第三医院 | 88603908 |
| 河北医科大学第四医院 | 86095588 |
| 河北省中医院 | 69095114 |
| 河北省儿童医院 | 85911234 |
| 河北省胸科医院 | 86911072 |
| 白求恩国际和平医院 | 87978133 |
| 河北省妇幼保健中心 | 85683866 |
| 解放军第260医院 | 87970500 |
| 石家庄市第一医院 | 83612320 |
| 石家庄市第二医院 | 87882119 |
| 石家庄市第三医院 | 85990999 |
| 石家庄市第四医院 | 85281699 |
| 石家庄市第五医院 | 85925600 |
| 石家庄市第六医院 | 80990777 |
| 石家庄市第七医院 | 87672099 |
| 石家庄市第八医院 | 68026900 |
| 公安分局 |
电话 |
| 石家庄市公安局 | 88686222 |
| 长安区分局 | 85189600 |
| 桥西区分局 | 85188818 |
| 新华区分局 | 87723110 |
| 裕华区分局 | 86122691 |
| 藁城区分局 | 88380018 |
| 栾城区分局 | 88034247 |
| 鹿泉区分局 | 82012110 |
| 矿区分局 | 82072108 |
| 所在区 |
地址 | 电话 |
| 桥西大队违法办 | 新石北路389号 | 85858467 |
| 新华大队违法办 | 友谊大街186号 | 85858820 |
| 长安大队违法办 | 中山东路470号 | 85858530 |
| 裕华大队违法办 | 雅清街34号 | 85858550 |
| 高新区大队违法办 | 黄河大道195号 | 85858580 |
| 环城大队违法办 | 谈南路15号 | 85858864 |
| 机动大队违法办 | 中华南大街476号交管局一楼大厅 | / |
| 矿区大队 |
矿区平涉路 | 85858994 |
| 循环园区大队 | 循环化工园区工业西街 | 85858872 |
| 火车站大队 | 火车站北进站口西行一百米 | 80943243 |
| 服务大厅 |
电话 |
| 石家庄市公安局出入境服务大厅 | 0311-86862518 |
| 裕华区公安局出入境服务大厅 | 0311-89628789 |
| 新华区公安局出入境服务大厅 | 0311-85188042 |
| 长安区公安局出入境服务大厅 | 0311-85189707 |
| 桥西区公安局出入境服务大厅 | 0311-85188870 |
| 高新区公安局出入境服务大厅 | 0311-68021335 |
| 鹿泉区公安局出入境服务大厅 | 0311-82188266 |
| 藁城区公安局出入境服务大厅 | 0311-88163211 |
| 栾城区公安局出入境服务大厅 |
长安区民政局婚姻登记处
联系电话: 0311-85999379
地址:义南路5号
办公时间:周一至周六上午: 9:00-12:00 下午: 13:00-17:00
裕华区民政局婚姻登记处
联系电话: 0311-86578320
地址:石家庄市体育南大街356号付1号
办公时间:周一至周六上午: 9:00-12:00下午: 13:00-17:00 (法定 节假日除外)
桥西区民政局婚姻登记处
联系电话: 0311-83810725
地址:新石中路377号物联网大厦B座3楼
办公时间:周一至周六9:00- 17:00 (法定节假日除外)
新华区民政局婚姻登记处
联系电话: 0311-86270153 0311-86270154
地址:新华区康乐街1号新华大厦3楼
办公时间:周一至周六上午9: 00-12: 00 下午1: 00-5:00
石家庄高新技术产业开发区婚姻登记处
联系电话: 0311-68021076
地址:石家庄高新区管委会北院行政服务局二楼婚姻登记窗口
办公时间:周一到周日夏季.上午9:00一下午6:00 其他,上午9:00-下午5:00
栾城区民政局婚姻登记处
联系电话: 0311-69129873
地址:栾城区石栾大街808号
办公时间:周一到周五8.30-17.30无午休
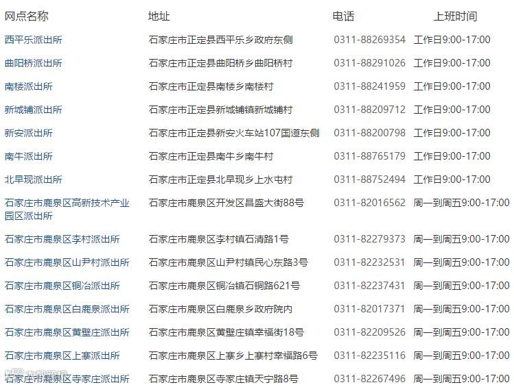
石家庄市鹿泉区民政局婚姻登记处
联系电话: 0311-82108098
地址:石家庄市鹿泉区北斗路幸福巷2号
办公时间:周一到周五8: 30-17: 30无午休
藁城区民政局婚姻登记处
联系电话: 0311-88163259
地址:仁爱路16号
办公时间:周一-至周五9: 00-17: 00
石家庄市井陉矿区婚姻登记处
联系电话: 0311-87510099
地址:矿区南纬路100号妇幼保健计划生育服务站
办公时间:周一到周五 上午8:00-11:30下午1:30-5:30(夏季) 上午8:00-11:30 下午2:30-5:30
新乐市民政局婚姻登记处
联系电话: 0311-88677787
地址:新乐市长寿路231号民政局
办公时间:周一至周五上午8: 30-12点下午13: 30-17: 30周六上午9: 00-11: 30下午14: 00-16: 30
正定县婚姻登记中心
联系电话: 0311-88014466
地址:正定县广惠路33号
办公时间:周一至周六上午: 9:00-12:00 下午: 13:00-17:00 (法定节假日除外)
元氏县民政局婚姻登记处
联系电话: 0311-84624702
地址:元氏县蟠龙路114号
办公时间:周一到周五 上午8:30-12:00下午13:30-17:30夏季上午8:30-12:00下午14:30-17:30
赵县民政局婚姻登记处
联系电话: 0311-84932626
地址:赵县平棘大街66号(妇幼保健院)
办公时间:周一到周五上午8: 30-12:00 下午13:30-17:30
晋州市民政局婚姻登记处
联系电话: 0311-84316381
地址:晋州市和平街153号
办公时间:周一至周五上午: 8:30-12:00 下午: 1:30-5:30
赞皇县婚姻登记处
联系电话: 0311-84227870
地址:赞皇县妇幼保健四楼
办公时间:周一到周五上午8:30-12: 00下午1:30-5:30
无极县婚姻登记处
联系电话: 15630483608
地址:无极县无极路与人和街交叉口南行20米路西二楼
办公时间:周一到周五上午8: 30-12: 00下午1: 30-5: 30
平山县民政局婚姻登记处
联系电话: 0311-82911341
地址:平山县妇幼保健院四楼
办公时间:周一到周五(冬季)上午8: 30-12: 00下午1: 30-5: 30 (夏季) 上午8: 30-12: 00下午2: 30-5: 30
灵寿县民政局婚姻登记处
联系电话: 0311-82523365
地址:灵寿县北环路妇幼保健院西侧临街门]市
办公时间:周一到周五上午8: 30-12: 00下午2: 00-5: 00
高邑县民政局婚姻登记处
联系电话: 0311-89200620
地址:高邑县政务中心千秋路9号
办公时间:周一到周五.上午8:30-12:00 下午13: 00-17:30 14:30-17: 30 (夏季)
深泽县民政局婚姻登记处
联系电话: 0311-83526399
地址:深泽县府前东路198号妇幼保健院内
办公时间:周一到周五上午8:30-12:00 下午1:30-5:30
井陉县民政局婚姻登记处
联系电话: 0311-82022598
地址:井陉县微水镇井陉商厦四楼
办公时间:周一到周五上午8:30-下午5:30周六、日上午9:00一到11:30
行唐县婚姻登记处
联系电话: 0311-82996311
地址:行唐县妇幼院四楼
办公时间:周一到周五上午8: 30- 12:00 下午1: 30-5:30
灵寿县民政局婚姻登记处
联系电话: 0311-82523365
地址:灵寿县北环路妇幼保健院西侧临街门市
办公时间:周一到周五上午8: 30-12: 00下午2: 00-5: 00
| 教育局 | 电话号码 |
| 石家庄市教育局 | 0311-86036653 |
| 桥西区教育局 | 0311-89653000 |
| 新华区教育局 | 0311-87832435 |
| 长安区教育局 | 0311-85995837 |
| 裕华区教育局 | 0311-86578976 |
| 石家庄市行政审批局 工作时间预约电话(区号0311) |
|||
| 事 项 | 联系电话 | 事 项 | 联系电话 |
| 综合受理事项 | 86137263 | 城市建设事项 | 86137052 |
| 护士、医师和法律工作者类事项 | 86137159 | 投资及粮食收购事项 | 86137152 |
| 第二类医疗器械事项 | 86137009 | 交通运输事项 | 86137259 |
| 商事登记事项 | 86137247 | ||
| 县(市、区)、开发区(园区)行政审批局 工作时间预约电话(区号0311) |
|||
| 单位名称 | 预约电话 | 单位名称 | 预约电话 |
| 晋州市 | 84314801 | 长安区 | 85996701 |
| 新乐市 | 88581072 | 桥西区 | 68005255 |
| 正定县 | 88024134 | 新华区 | 86270105 |
| 井陉县 | 82022069 | 裕华区 | 86578031 |
| 无极县 | 85580977 | 藁城区 | 88163201 |
| 深泽县 | 69136133 | 鹿泉区 | 82183999 |
| 行唐县 | 82988865 | 栾城区 | 85501211 |
| 灵寿县 | 69135955 | 高新区 | 68021606 |
| 平山县 | 82930006 | 循环化工园区 |
69098891 |
| 赵 县 | 84953106 | 石家庄经济技术开发区 | 67093036 |
| 元氏县 | 86531180 | 晋州经济开发区 | 84365860 |
| 高邑县 | 84038168 | 鹿泉经济开发区 | 82190633 |
| 赞皇县 | 87192036 | 平山西柏坡经济开发区 | 82912937 |
| 井陉矿区 | 85417061 | 元氏经济开发区 | 86530830 |
| 银行 |
电话号码 |
| 中国银行 | 95566 |
| 工商银行 | 95588 |
| 农业银行 | 95599 |
| 建设银行 | 95533 |
| 交通银行 | 95559 |
| 招商银行 | 95555 |
| 邮政储蓄银行 | 95580 |
| 光大银行 | 95595 |
| 广发银行 | 4008308003 |
| 中信银行 | 95558 |
| 浦发银行 | 95528 |
| 民生银行 | 95568 |
| 华夏银行 | 95577 |
| 平安保险 | 95511 |
| 人寿保险 | 95519 |
| 太平洋保险 | 95500 |
| 支付宝 | 95188 |
| 微信支付、理财通 | 95017 |
| 快递 | 电话号码 |
| 申通 | 95543 |
| 圆通 | 95554 |
| 中通 | 95311 |
| 顺丰 | 95338 |
| 韵达 | 95546 |
| EMS | 11183 |
| 邮政包裹 | 11185 |
| 德邦 | 95353 |
| 天天 | 4001888888 |
| 百世汇通 | 4009565656 |
| 淘宝网 | 0571-88158198 0571-8815785 |
| 京东商城 | 950618 |
| 当当网 | 4001066666 |
| 亚马逊 | 国际:86-28-65332666 国内:4008105666 |
| 唯品会 | 4006789888 |
| 拼多多 | 400-8822-528 |
| 外卖送餐 | 电话号码 |
| 美团外卖 | 1010-9777 |
| 饿了么 | 1010-5757 |
| 必胜客 | 4008-123-123 |
| 肯德基 | 400-882-3823 |
| 麦当劳 | 400-851-7517 |
| 德克士 | 400-630-9907 |
| 生活热线 | 电话号码 |
| 交通事故报警台 | 122 |
| 天气预报 | 12121 |
| 短信报警平台 | 12110 |
| 交通运输服务监督热线 | 12328 |
| 安全生产举报投诉热线 | 12350 |
| 电信用户申诉热线 | 12300 |
| 劳动争议仲裁 | 89691887 |
| 劳动监察热线 | 89631890 |
| 职工维权热线 | 12351 |
| 消费者申诉举报热线 | 12315 |
| 旅游投诉 | 12301 |
| 纪检、监察热线 | 12388 |
| 城管热线 | 12319 |
| 环保热线 | 12369 |
| 税务热线 | 12366 |
| 法律援助热线 | 12348 |
| 妇女儿童维权热线 | 12338 |
| 儿童紧急救助热线 | 4000069958 |
| 纳税服务热线 | 12366 |
| 交通运输服务监督热线 | 12328 |
| 国土资源咨询举报热线 | 12336 |
| 文化市场举报热线 | 12318 |
| 邮政业消费者申诉热线 | 12305 |
| 电话号码查询 | 114 |
| 医保热线 | 83865000/83865007 |
| 信访热线 | 67265238(白)87042935(晚) |
| 紧急求助(24小时) | 紧急求助(24小时) |
| 报警电话 | 110 |
| 医疗急救 | 120 |
| 火警 | 119 |
| 森林火警 | 95119 |
| 交通事故 | 122 |
| 紧急救援 | 999 |
| 水上遇险求救 | 12395 |
(滑动可查看)
近日,石家庄高新区管委会、裕华区、桥西区、长安区等政府网站在“政民互动”“政务咨询”栏目中,对有关学校建设、划片入学等教育问题进行了集中回复。
高新区
问:石家庄高新区泊水湾大地幼儿园是普惠园吗?每个月有保教费补贴吗?在哪查询高新区有哪些普惠幼儿园?
高新区文教局回复:泊水湾大地幼儿园是普惠幼儿园,没有保教补贴,可以拨打66571706咨询有关普惠幼儿园。
问:高新区东仰陵九年一贯制学校、岗当北中学什么时候建成?建成以后,具体怎么划片?傲湖小区能划进去吗?
高新区文教局回复:东仰陵九年一贯制学校目前正在启动建设,预计小学部下半年交付使用。岗当村北侧规划为教育用地,尚未启动建设。无法确定建设和完成时限。具体划片,政策还未出台。
问:家住绿朗时光小区,东仰陵新规划的九年义务学校建好后,我们会不会划分到片区内?
高新区文教局回复:需学校投入使用后,根据当年的义务教育招生政策确定招生方案。
问:岗当北中学是公办中学,请问是初中还是高中?
高新区文教局回复:岗当中学是公办初中。
裕华区
问:二十里铺配套小学已经发布征地公告,请问有没有建设时间及大概的竣工时间等相关工作计划?谢谢!!
裕东街道回复:预计今年开工建设。
问:家庭住址是新天地自然康城,孩子父母共有房产,孩子和母亲的户籍均在石家庄,但孩子父亲户籍不在。这种情况上片内的神兴小学有问题吗?会不会被调剂?
教育局回复:按照市教育局招生政策,一个成人与孩子,在自己房产名下的,属于房户一致。
问:请问贾村小学今年能建好开始招生吗?
方村镇回复:按照规划,拟定贾商路南侧小学今年九月面向贾村居民招生。
问:南岭小区南边贾商路建的是什么学校?公立还是私立?
方村镇回复:南岭小区南边贾商路建的是一所小学、一所中学学校,学校完工后移交至教育局,由教育局划片招生。
桥西区
问:请问17中南校区和17中新校区将来定位是什么样的?片区会有调整吗?具体调整的时间点是什么时候?
桥西区教育局回复:17中南校区初中高中都有,新校区初中高中都有,片区不变。将于今年9月调整到位。
长安区
问:您好,我住在工人街12号院,孩子可以在哪里上小学呢?
长安区教育局回复:经了解,工人街12号院属于栗胜路小学招生范围。
问:远洋风景长安小区是否与教育局在谈签约学校?请问现在进行到什么流程了?要签约哪所学校?
长安区教育局回复:经了解,远洋风景长安小区未与长安区教育局谈签约学校。
问:请问下,现在石府二区初中片内是23中吗?需要摇号入学吗?如果上不了会调剂到哪个学校?
长安区教育局回复:按照长安区2020年度招生地图,石府二区划片学校为23中学,23中学属于公立学校不需要摇号入学。此范围内外来务工人员随迁子女需要调剂到89中。
问:石家庄九十三中学2022年能招生吗?
长安区教育局回复:由于连续两年的疫情影响,第93中学建设周期调整为2021年7月至2023年6月。目前项目正在准备启动财政评审和招标。
问:请问金茂悦项目配建小学是否是河北师大附小的分校?该小学的日常管理和教学任务是否是河北师大附小负责?
长安区教育局回复:长安金茂悦项目中规划配建有一所小学,该配建学校为公办学校,建成后移交政府,由长安区教育局统一管理,不是河北师大附小分校。
问:在御江景城买了房,孩子现在上幼儿园,买房的时候说规划小区有一个小学,请问这个小区的小学什么时候会投入建设并使用?
长安区教育局回复:经了解,目前该配套小学开发单位正在办理施工手续,待手续完备后可开工建设,预计2023年可实现招生。
出行篇
自2021年4月5日至2022年4月3日,继续实施工作日(因法定节假日放假调休而调整为上班的星期六、星期日除外)高峰时段区域限行交通管理措施。

限行规则
石家庄市(包含栾城区、赞皇县、灵寿县、元氏县、平山县、赵县、高邑县、行唐县、新乐市);
限行的机动车车牌尾号分为五组,工作日周一至周五每天7:00-19:00;法定节假日和公休日不限行;
尾号为字母的按最后一位数字管理;
限行区域:三环路古城路(含)以内道路。
限行措施:对小型载客汽车、非营运客车及轻型、微型载货汽车(以上均含外埠号牌和临时号牌车辆)实行每天车牌尾号轮流限行的方式,尾号为英文字母或汉字的以最后一位数字为准;特殊时段限行措施另行通知;对进入限行区域道路行驶的中型、重型载货汽车执行通行证和轮流限行车牌尾号规定。限行不包含以下车辆:1、公共汽车、出租车、长途客运车(含旅游客车)、残疾人专用车、经公安交管部门核定的校车,以及持公安交管部门核发《班车通行证》的通勤班车;2、执行任务的警车、消防车、救护车、军车;3、环卫、园林、道路养护的专项作业车辆,以及殡葬专用车辆、邮政专用车辆、金融运钞车,持公安交管部门核发《抢修通行证》的抢险车;4、悬挂新能源号牌的纯电动汽车、插电式混合动力汽车燃料电池汽车,经批准的其他应急车辆。
限行处罚
违反限行规定的,按闯限行处罚,罚款 100元。
外地车限行规定
载客汽车
1、在工作日7:00至9:00、17:00至19:00时段(法定节假日及周六、周日除外),外埠号牌载客汽车禁止通行二环路(含主路、辅路)以内道路。出租车、公交车、通勤班车、以及执行任务的军车、警车、抢险车、救护车、外地来石旅游的专用客车等车辆除外。
2、禁止中型、大型载客汽车在槐安路主路(时光街至东二环)通行。
每日限行措施,点击下方名片或搜索“石家庄本地通”,后台回复“限行”,可每日查看!
限行日历
详细限行日历如下,限行规则随时可能调整如有变动请以最新通知为准!








石家庄地铁运营线路

石家庄地铁1、2、3号线首末班车
2021年4月26日起,地铁车站首末班车时刻如下:




3号线工作日首末班车时间

3号线双休日(节假日)首末班车时间

票价查询

市区班车
亚太大酒店-机场
亚太大酒店、华庭酒店、汇金酒店、客莱快捷酒店、北方大厦、易居酒店、石家庄机场T2航站楼
运行时刻:05:00-21:00(每30分钟一班发往机场)。
运行时间:约60分钟
票价:40元/人
石家庄火车站东广场-机场
石家庄火车站东广场、西美五洲酒店、石家庄机场T2航站楼
运行时刻:05:00-21:00(每30分钟一班发往机场)
运行时间:约60分钟
票价:20元/人
机场-金圆大厦
石家庄机场T2航站楼、中华大街联盟路口、希岸酒店、金圆大厦、中华大街工农路口、中华大街槐安路口
运行时刻:09:30--23:00 每30分钟一班车,23:00以后根据航班落地时间发车,直至末航班结束。
运行时间:约60分钟
票价:20元/人
河北省体育馆-机场
河北省体育馆、民航大酒店(民航大酒店对面路南公交站牌)、白佛客运站(林夕漫居商务酒店门口)、天山海世界(天山大街与长江大道交口西行150米路北)、石家庄机场T2航站楼
运行时刻:05:00-21:00(每30分钟一班发往机场)
运行时间:约60分钟
票价:20元/人
三甲医院篇
主城区的部分三甲医院及重点科室,就近择医、对症下药,会事半功倍哦~
长安区
河北医科大学第四医院
(河北省肿瘤医院)
图源:医院官网
重点专科:重症医学科、胸外科、普通外科、肿瘤科、呼吸内科、妇科、肿瘤内科、消化内科、新生儿、麻醉科、病理科、耳鼻喉科、血液内科、皮肤科、检验科、口腔科、肾内科、医学影像科、儿科等
电话:0311 - 86095588
地址:健康路12号
乘车路线:公交148、5、21、106、92、112、18、2、41、131路到省四院站下车
预约挂号:微信搜索“河北医科大学第四医院”公众号,点击菜单栏-就诊服务,即可预约挂号
河北省中医院
图源:医院官网
重点专科:脾胃病科、肛肠科、肾病科、中医护理学、急诊科、针灸科、耳鼻喉科、心血管科、皮肤科、治未病科、呼吸科、骨伤科、护理学等
电话:0311-69095114(总机)、0311-69095120(急诊)
地址:中山东路389号
乘车路线:公交116、1、28、41、42、5、 60、83路到省中医院站下车
预约挂号:微信搜索“河北省中医院”公众号,点击菜单栏-导诊,即可预约挂号
河北医科大学口腔医院
图源:医院官微
简介:是河北省仅有的三级口腔专科医院。设有牙体牙髓科、牙周一科、牙周二科(激光医学科)、口腔黏膜科、口腔颌面外科、口腔修复科、口腔正畸科、儿童口腔科、口腔预防科、急诊综合科、口腔病理科、口腔放射科、口腔技工中心、检验科、口腔颅颌面种植中心、唇腭裂序列治疗中心、鼾症与睡眠呼吸障碍治疗中心等
电话:0311-86265748
地址:中山东路383号
乘车路线:公交5、55、45、26、41裕彤国际体育中心站下车可达
预约挂号:微信搜索“河北医科大学口腔医院互联网医院”公众号,点击菜单栏-患者服务,即可预约挂号
河北省胸科医院
图源:医院官网
科室:结核内科、呼吸与危重症医学科、肺肿瘤科、肺结节科、胸外科、MICU、心内科 、神经内科、肾内科、消化科、内分泌科、急诊、中医理疗科、骨科、心外科、泌外科、急诊外科、神经外科、妇产科等
电话:0311-86911052、86911072(夜)、86911090(急诊)、400-6323-120(预约挂号电话)
地址:胜利北街372号
乘车路线:公交2、37、77、112、131、132、148、164路到胸科医院站,下车即到
预约挂号:微信搜索“河北省胸科医院”公众号,点击菜单栏-就诊服务,即可预约挂号
桥西区
中国人民解放军白求恩国际和平医院
图源:医院官网
专科特色:急诊科、心血管内科、肾脏病科、消化内科、呼吸内科、神经内科、血液内科、内分泌科、儿科、新生儿科、中医中西医结合、肝病传染科、老年病科、肿瘤科、普通外科、肝胆外科、心胸外科、神经外科等
电话:0311-87998114、0311-87998031
地址:中山西路398号
乘车路线:地铁1号线、公交1、快1、15、29、38、58、61、62、94、325、游5路到和平医院站下车即到
预约挂号:微信搜索“联勤保障部队第980医院”公众号,点击菜单栏-掌上和平,即可预约挂号
裕华区
河北省儿童医院
图源:医院官网
重点专科:新生儿科、重症医学内科、呼吸科、神经内科、心脏外科、普外科(新生儿外科)、神经胸外科、检验科、感染消化科、血液科、肾病免疫科、心脏内科、泌尿外科、骨科、微创外科、烧伤整形外科、儿童保健科等
电话:0311-85911234(总机)、0311-85911120(院前急救)、0311-85911055(新生儿院前急救)、0311-85911294(纠纷救助)
地址:建华南大街133号
乘车路线:公交32、55、19、43、51、65、57、73、116路到河北省儿童医院站下车即到
预约挂号:微信搜索“河北省儿童医院服务平台”公众号,点击菜单栏-挂号缴费,即可预约挂号
河北医科大学第一医院
图源:医院官网
重点专科:心血管内科、产科、烧伤科、骨科、普通外科、口腔专业、精神科、传染科、眼科、医学影像专业、老年病科、肾病科、血液病科等
电话:0311-85917000
地址:东岗路89号
乘车路线:公交6、12、33、43、49、52、56、73、79到医大一院站下车
预约挂号:微信搜索“河北医科大学第一医院”公众号,点击菜单栏-导诊,即可预约挂号
石家庄市第五医院
图源:医院官微
专科特色:肝病专业、结核病专业、胸腹外科、妇产科、儿科、内科专业、中西医结合科、皮肤科等
电话:0311-85925600
地址:塔南路42号
乘车路线:公交2环1路、2环2路、50路、53路、59路、67路到市五站下车即可
预约挂号:微信搜索“石家庄市第五医院服务号”公众号,点击菜单栏-患者服务,即可预约挂号
石家庄市人民医院
图源:医院官微
重点专科:检验科、眼科、老年病科、整形美容科等
电话:0311-86919000
地址:建华南大街365号
乘车路线:公交216、281、290、57、95路到市人民医院新院区站下车即达
预约挂号:微信搜索“石家庄人民医院移动服务平台”公众号,点击菜单栏-导诊,即可预约挂号
新华区
河北省人民医院
图源:医院官网
重点专科:内分泌科、急诊医学科、神经外科、呼吸内科、产科、新生儿、康复医学、耳鼻咽喉科、麻醉科、眼科、血液科、胸外科、医学影像科、儿科、心血管内科、肿瘤内科、儿科重症、重症医学、神经内科、病理科、普通外科、检验科、肾内科、小儿外科、老年病科、精神科等
电话:85989696
地址:和平西路348号
乘车路线:公交4、快4、5、20、68、快34、34、38、40、78、111、游1、38、301路到省医院站下车即到
预约挂号:微信搜索“河北省人民医院医疗服务平台”公众号,点击菜单栏-就诊服务,即可预约挂号
河北省医科大学第二医院

图源:医院官网
重点专科:心血管内科、心脏大血管外科、呼吸内科、神经内科、眼科急诊科、麻醉科、临床护理专业等
电话:0311-87046901
地址:和平西路215号
乘车路线:公交4、20、8、17、110、76路省二院站下车即到
预约挂号:微信搜索“河北医科大学第二医院”公众号,点击菜单栏-导诊,即可预约挂号
支付宝挂号
用支付宝进行挂号是很方便的,打开支付宝,直接点城市服务!其实很方便!

按照这个流程,一步步来:支付宝—城市服务— 医疗 —挂号就诊。



我们可以选择按照医院挂号、按照科室挂号、按照疾病挂号。
微医挂号网预约
微医挂号网,是国家卫计委(卫生部)制定的全国就医指导平台,也是可以直接在上面预约挂号的。

点击预约挂号,然后就可以选择医院和科室,完成在线预约。

成功登陆之后进行挂号,一般会收到医院的短信通知。
微信预约
微信上也同样可以预约挂号,点击微信“支付--城市服务--挂号平台--预约挂号”即可!(或者直接搜索城市服务小程序也可以)

其中,石家庄已经有9家三甲医院开通了微信预约挂号服务。
自助机挂号
现在许多医院的大厅里都有一些自助机,我们可以用医保卡或身份证直接在自助机上刷卡进行挂号,选择就诊的科室和以及就诊的时间段即可完成预约。取号和缴费都可以在自助机上完成,一般都可以使用银联卡、微信、支付宝等进行支付。

(滑动可查看)
娱乐篇
5月19日,中国旅游日福利来袭,黄金寨福利也来啦!
福利一
(5月19日当日)黄金寨对全国所有游客 免入园门票福利二
2021年5月15日至2021年5月23日 黄金寨入园门票执行9.9元/人河南274家景区对全部游客免门票
江西4A级及以上景区对全国学子免门票
2021 年 5 月 1 日至 2022 年 2 月 28 日,江西省文旅厅再次启动 " 全国学子嘉游赣 " 免费游景区活动。活动期间,全国大中小学生(含研究生)可以在江西全省 4A 级及以上景区免门票游览。
江西4A级及以上景区名单(上下滑动查看详情)↓↓
国家5A级景区:
江西省九江市庐山风景区
江西省九江市庐山西海风景名胜区
江西省吉安市井冈山风景旅游区
江西省上饶市三清山风景名胜区
江西省鹰潭市龙虎山景区
江西省上饶市江湾景区
江西省景德镇市古窑民俗博览区
江西省瑞金市“共和国”摇篮旅游区
江西省宜春市明月山旅游区
江西省上饶市龟峰景区
江西省抚州市资溪大觉山景区
江西省南昌市滕王阁旅游区
江西省萍乡市武功山景区
国家4A级景区:
江西省南昌市天香园景区
江西省南昌市八一起义纪念馆
江西省南昌市梅岭狮子峰景区
江西省南昌市凤凰沟景区
江西省南昌市新四军军部旧址陈列馆
江西省南昌市梅岭竹海明珠景区
江西省南昌市溪霞怪石岭生态公园
江西省南昌市梅岭洪崖丹井景区
江西省南昌市绿地中心303观光厅
江西省南昌市安义古村群景区
江西省南昌市李渡元代烧酒作坊遗址景区
江西省九江市庐山龙湾温泉度假村(汤太宗)景区
江西省九江市星子天沐温泉
江西省九江市庐山西海国际温泉度假村景区
江西省九江市石钟山景区
江西省九江市富华山景区
江西省九江市南崖--马家洲景区
江西省九江市西海湾景区
江西省九江市龙宫洞景区
江西省九江市中华贤母园景区
江西省九江市南山景区
江西省九江市八里湖景区
江西省九江市阳光照耀29度假景区
江西省九江市台山景区
江西省九江市东浒寨景区
江西省九江市修水县双井黄庭坚故里景区
江西省九江市德安县博阳河景区
江西省九江市永修县鄱阳湖吴城候鸟小镇景区
江西省景德镇市高岭·瑶里风景区
江西省景德镇市浮梁古县衙景区
江西省景德镇市洪岩仙境风景区
江西省景德镇市江西怪石林景区
江西省景德镇市皇窑景区
江西省景德镇市御窑厂国家考古遗址公园
江西省景德镇市江西直升机科技馆
江西省景德镇市陶溪川文创街区
江西省安源路矿工人运动纪念馆
江西省萍乡市荷花博览园景区
江西省萍乡市杨岐山景区
江西省萍乡市芦溪仙凤三宝农业休闲观光园
江西省萍乡市湘东区麻山幸福村景区
江西省新余市仙女湖风景名胜区
江西省新余市中国洞都景区
江西省新余市昌坊度假村
江西省鹰潭市眼镜产业园景区
江西省鹰潭市余江区中国血防红旗博览区景区
江西省赣州市通天岩风景名胜区
江西省赣州市阳明山国家森林公园
江西省赣州市九曲度假村
江西省赣州市客家文化城
江西省赣州市三百山景区
江西省赣州市关西围屋景区
江西省赣州市五龙客家风情园景区
江西省赣州市汉仙岩景区
江西省赣州市丫山风景区
江西省赣州市通天寨景区
江西省赣州市翠微峰景区
江西省赣州市阳明湖景区
江西省赣州市兴国苏区干部好作风纪念园
江西省赣州市于都屏山旅游区
江西省赣州市宁都小布镇景区
江西省赣州市罗汉岩景区
江西省赣州市虔心小镇景区
江西省赣州市东生围景区
江西省赣州市南武当景区
江西省赣州市雅溪古村景区
江西省赣州市中国赣南脐橙产业园景区
江西省赣州市江南宋城历史文化旅游区
江西省赣州市南康区家居小镇景区
江西省赣州市崇义县上堡梯田景区
江西省赣州市全南县天龙山景区
江西省赣州市寻乌县青龙岩景区
江西省赣州市于都县中央红军长征集结出发地纪念园景区
江西省赣州市会昌县小密花乡景区
江西省赣州市石城县八卦脑景区
江西省赣州市瑞金市浴血瑞京景区
江西省赣州市信丰县谷山景区
江西省赣州市定南县桃源乐境景区
江西省宜春市靖安三爪仑景区
江西省宜春市明月山天沐温泉度假区
江西省宜春市中部梦幻景区
江西省宜春市百丈山景区
江西省宜春市宜春禅都文化博览园
江西省宜春市中国古海养生旅游度假区
江西省宜春市閤皂山景区
江西省宜春市九天国际生态旅游区
江西省宜春市铜鼓秋收起义纪念地
江西省宜春市铜鼓文旅康养旅游度假区
江西省宜春市万载恒晖艺术农业景区
江西省宜春市五谷村丛林酒博园景区
江西省宜春市巴夫洛景区
江西省宜春市天柱峰景区
江西省宜春市万载古城景区
江西省宜春市明月千古情
江西省宜春市中华传统文化园
江西省宜春市丰城爱情花卉小镇
江西省宜春市宜春花博园
江西省宜春市蜂窝农场
江西省宜春市高安市百峰岭景区
江西省宜春市宜丰县洞山景区
江西省上饶市李坑景区
江西省上饶市大鄣山卧龙谷
江西省上饶市思溪延村景区
江西省上饶市文公山景区
江西省上饶市汪口景区
江西省上饶市严田景区
江西省上饶市灵岩风景区
江西省上饶市篁岭景区
江西省上饶市源头古村景区
江西省上饶市翼天文化旅游城
江西省上饶市熹园景区
江西省上饶市五龙源景区
江西省上饶市鸳鸯湖景区
江西省上饶市灵山风景名胜区
江西省上饶市灵山工匠小镇
江西省上饶市望仙峡谷小镇
江西省上饶市葛仙山景区
江西省上饶市鹅湖书院景区
江西省上饶市大茅山景区
江西省上饶市田园牧歌景区
江西省上饶市玉帘瀑布景区
江西省上饶市红木文化创意产业园
江西省上饶市铜钹山景区
江西省上饶市鄱阳湖鄱阳湿地旅游区
江西省上饶市鄱阳湖大草原景区
江西省上饶市神农源风景名胜区
江西省上饶市葛源景区
江西省上饶市上饶集中营
江西省上饶市怀玉山景区
江西省上饶市忠义文化园景区
江西省上饶市大明花海景区
江西省上饶市七里街景区
江西省上饶市婺源县水墨上河景区
江西省上饶市三清山神仙谷景区
江西省吉安市渼陂古村景区
江西省吉安市天祥景区
江西省吉安市庐陵文化生态园景区
江西省吉安市青原山风景区
江西省吉安市钓源古村景区
江西省吉安市陂下古村景区
江西省吉安市吉州窑景区
江西省吉安市燕坊古村景区
江西省吉安市羊狮慕景区
江西省吉安市田北农民画村景区
江西省吉安市东固景区
江西省吉安市永新三湾景区
江西省吉安市新干县海木源景区
江西省抚州市名人雕塑园景区
江西省抚州市梦湖景区
江西省抚州市南丰桔产业集聚区
江西省抚州市流坑古村景区
江西省抚州市源野生态山庄
江西省抚州市金溪竹桥古村
江西省抚州市曹山景区
江西省抚州市南城麻姑山景区
江西省抚州市中国莲花景区
江西省抚州市黎川古城景区
江西省抚州市佛岭国际公园
江西省抚州市三翁花园
江西省抚州市金竹飞瀑景区
江西省抚州市临川灵谷峰
江西省抚州市资溪御龙湾景区
江西省抚州市文昌里景区
江西省抚州市同胜九曲东黎景区
江西省抚州市乐安县九瀑峡景区
江西省抚州市资溪县真相乡村旅游区
江西省抚州市金溪县香谷小镇景区
江西省抚州市临川区仙盖山景区
2011年,国家旅游局将每年此日确定为“中国旅游日”,今年迎来第11个年头。2021年中国旅游日活动主题为“绿色发展,美好生活”。
上海市文化和旅游局将在5月19日当天推出主题宣传活动,进行公益惠民旅游宣传、引导游客文明旅游。作为每年中国旅游日的主要内容,今年上海有69家旅游景区(点)、博物馆参加门票半价惠利于民活动。

嘻嘻,是不是很给力呢
赶紧把这份攻略存起来
并发给你身边的人吧
以后在石家庄出门办事、组团游玩
.....
再也不怕误事了
点亮在看,并且分享给更多的朋友们,愿在我们拥有的美好时光里,不要给自己留下太多的遗憾!
点亮在看,并且分享给更多的朋友们,愿在我们拥有的美好时光里,不要给自己留下太多的遗憾!

长
按
关
注
世界记忆锦标赛石家庄组委会
微信号 : 15931073334
电话:15931073334
关于我们
世界记忆锦标赛是由“世界记忆之父”、思维导图发明者托尼·博赞教授和英国OBE勋章获得者雷蒙德·基恩爵士于1991年发起,由世界记忆运动理事会组织的全球高水平的大脑思维竞技赛事,被誉为“脑力运动的奥林匹克”。
我们致力于推广脑科学与教育的结合运用,普及脑力运动,要把最专业的的课程和训练方法传递给更多的人,让更多的中小学生因为脑力提升学习能力,改变人生命运。
我们始终坚持以“科学使用大脑,科学训练大脑”为教育使命,以“打造中国脑科学教育开发第一品牌,强我中华”的企业愿景,在继承中国优秀教育精华的基础上,将脑科学与中小学教育充分结合,让更多的孩子学到真正的学习方法,学会学习的理念推广于中国。关注世界记忆锦标赛石家庄组委会微信公众平台(China_WMC)了解更多最新资讯。

