安保钢
成都天翔环境股份有限公司
《金属加工(冷加工)》2018年收录
一、功能指令
指令格式如下: PROC ROT_Z(REAL DEPTH) DEF REAL Z_DEPTH_VAL=… ROT(AROT) X…Y…Z… ROT(AROT) RPL=… 其中,PROC用于定义程序参数传递变量,DEF用于定义全局变量;ROT表示在原始坐标系下进行旋转,AROT为叠加旋转指令,可在已旋转的坐标系基础上继续旋转;RPL=...设定平面旋转角度。二、坐标系旋转与方向
ROT/AROT指令遵循右手定则:沿坐标轴正方向观察,顺时针旋转为正角度,逆时针为负角度。如图1所示。
图 1
三、角度变化仿真
通过AROT指令实现坐标系变换,可将端面轮廓便捷转换为柱面轮廓,并完成仿真验证。图2为原始坐标系状态,图3为旋转后仿真结果。
图 2
图 3
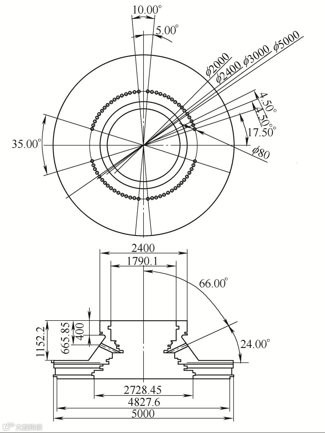
四、圆周斜孔应用
采用参数化编程结合ROT/AROT旋转指令与钻孔循环,可实现任意角度圆周斜孔的高效加工。以某φ80mm通孔零件为例(见图4),其螺钉把合面为C轴零点基准面,首孔起始角17.5°,相邻孔夹角4.5°,90°位置夹角为5°,整体呈不等分分布。 考虑到不同零件起始角度和关键位置角度存在差异,程序采用带变量的参数化设计,适配多种工况。用户只需输入加工类型(整圆/半圆)、钻深、平面旋转角、C轴起始位、孔间夹角、进给速度及分度速度等参数,完成对刀后即可自动执行全部孔位加工。实际加工效果如图6、图7所示。
图 4
图 6
图 7
