◤公众号对话框回复楼盘名称,查楼盘、加买房群◢
起拍楼面地价1.86万/㎡,直超此前的万科方圆地块成交楼面价!
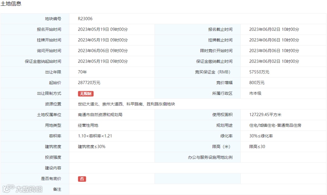
就在刚刚,南通创新区R23006地块正式挂牌!地块总占地面积127229.45㎡,总起拍价约28.8亿元,容积率仅1.1-1.21。

值得一提的是,地块起拍楼面价约18689元/㎡,地价限价21492元/㎡,未来不限房价。而目前创新区的高点为此前的万科方圆R19012地块,成交楼面价18405.66元/㎡。
如果这块地成功拍出,创新区的底楼面价天花板无疑将突破新高。
根据出让公告,这块地位于中创区世纪大道北、崇州大道西、科甲路南、胜利路东,位于紫琅一小东侧,位置非常优越。
地块竞买实行限地价不限房价并摇号的竞买模式,起拍楼面价18689元/㎡,最高楼面价限价21492元/㎡,将于6月6日上午10点正式出让。


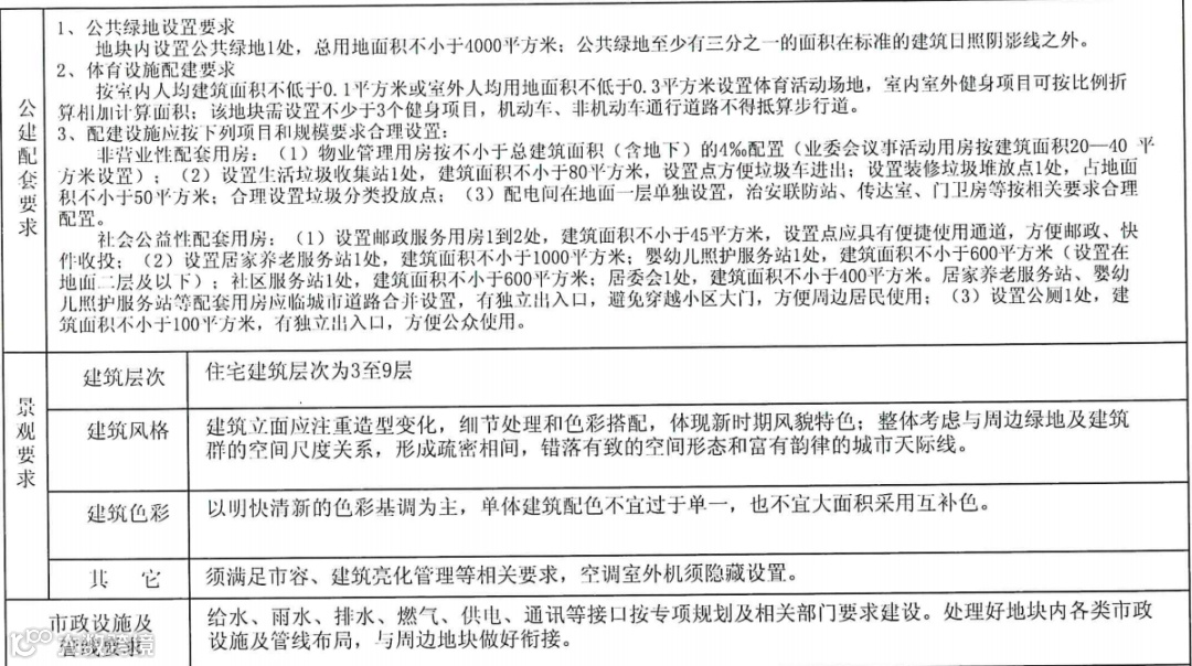
根据规划,这块地容积率不超过1.21,未来将打造3-9层的低密产品,这在板块内也属于稀缺产品。
同时地块内还将设置邮政服务用房、居家养老服务站、婴幼儿照护服务站1处、社区服务站、居委会等公建配套。

配套方面,该地块不论是位置还是规划都非常优越:紫琅一小、紫琅公园、第一人民医院,此外地铁1号线崇州大道站、通富路、通富路高架、通沪大道高架均在周边,交通出行非常便利。

此前,南通市自然资源和规划局发布《南通创新区D9-01、D10-01等地块控制性详细规划调整》,地块北侧还将建设15班幼儿园。

目前中创区所有拍出的地块中,万科方圆成交楼面地价为18406元/㎡。如果这块地成功拍出,将打破万科方圆地价记录。

你对于R23006地块怎么看?能否顺利成交?欢迎评论区留言讨论。
-END-
公众号对话框回复楼盘名称,
一键查楼盘详情、加买房群

免责申明:1/本文来源南通楼市网,仅供参考和交流,不构成直接投资建议;2/任何投资行为均有不同程度风险性,投资需理性;3/添加微信nt36522,观察君拉你进买房交流群。


