◤公众号对话框回复楼盘名称,查楼盘、加买房群◢
就在刚刚,
南通成功拍出2块好地
全部被神辉置业摘得
值得关注!
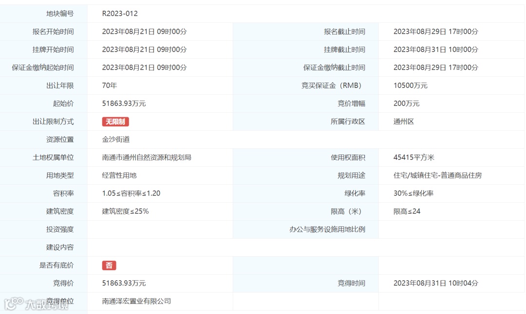
●通州主城R2023-012地块,经过1轮竞拍被南通泽宏置业有限公司(神辉置业)以总价5.19亿拿下,成交楼面地价约9517元/㎡。

●川姜镇R2023-015地块,经过1轮竞拍依旧被南通泽宏置业有限公司(神辉置业)以总价6.05亿拿下,成交楼面地价约6574元/㎡。

1、R2023-012地块
成交总价:5.19亿元
成交楼面价:9517元/㎡
竞得房企:南通泽宏置业有限公司(神辉置业)
溢价率:底价成交
地块位置:大庆路北侧、虹南路西侧
出让面积:45415㎡
容积率:1.05 ≤容积率≤ 1.2


公建配套方面,地块内须建设物业管理用房、治安联防站、公厕、垃圾收集设施、快递用房、养老服务用房、婴幼儿照护服务站、党群服务中心等。
在位置上,该地块位于通州老城区,紧邻通州汽车客运站、通州区人民医院、大润发、人民公园等优质资源,周边生活配套齐全、居住氛围浓郁。
2、R2023-015地块
成交总价:6.05亿元
成交楼面价:6574元/㎡
竞得房企:南通泽宏置业有限公司(神辉置业)
溢价率:底价成交
地块位置:川姜镇世纪大道南侧、金浩公路东侧
出让面积:80037㎡
容积率:1.05 ≤容积率≤ 1.15

根据规划,该地块建筑层次为3-9层,且不得建设低层独栋住宅。
该地块位于川姜镇板块,地块北侧即为规划建设的川姜小学,该项目位于世纪大道北、金浩公路西侧,占地面积116.7亩,建设规模12轨72班,建成后将极大地提升区域教育品质。
在售新房方面,目前地块周边有世纪之光、碧桂园都荟锦等楼盘在售,均价在1万/㎡左右。
-END-
公众号对话框回复楼盘名称,
一键查楼盘详情、加买房群

免责申明:1/本文来源南通楼市网,仅供参考和交流,不构成直接投资建议;2/任何投资行为均有不同程度风险性,投资需理性;3/添加微信nt36522,观察君拉你进买房交流群。


