◤公众号对话框回复楼盘名称,查楼盘、加买房群◢

出门就是地铁口
未来限均价25700元/㎡!
就在刚刚,
南通轨道置业携手科创产发联合发布
创新区R22022地块案名及城市展厅——
项目案名道达尚瑞
打造 TOD 步行友好型社区
值得关注!
01.
刚刚道达尚瑞项目正式发布
出门就是地铁口
11月28日,南通轨道置业(轨道集团全资子公司)携手科创产发合作开发项目——道达尚瑞正式发布,城市展厅同步开放。
项目涵盖建筑面积约127-140㎡高层及149-167㎡洋房产品,打造 TOD 步行友好型社区,构建高效能、低碳生活场景。
通过2号线可达圆融广场、南通医学中心(通大附院新院)等重点配套,让城市幸福美好生活可感可及;同时通过地铁双线换乘,便可链接主城精粹生活版图,为市民构筑高质量的“轨道上的都市生活圈”。

道达尚瑞项目是南通轨道置业秉承“双轮驱动,多元发展”的发展理念,匠心践行“TOD+市场”战略,继国城广场、道达元瑞等项目之后开发的又一力作。

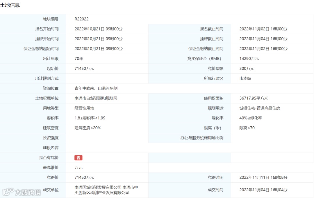
2022年11月4日,轨道国城携手科创产发将创新区R22022地块收入囊中,房屋最高备案指导均价25700/㎡。

根据规划显示,道达尚瑞共规划5栋18层小高层和9栋9层小高层,部分楼栋首层架空。

项目总户数仅502户,纯人车分流设计,无论是价格还是产品规划,都将对周边项目产生一定的竞争压力。

R22022地块位于创新区金地国际项目北侧,周边各项配套已经基本成型——
在建的南通地铁2号线将于2023年年底正式开通,大润发、星银海城市客厅、国城广场等商业综合体环绕在旁,未来能够很好地满足业主的各项需求。


02.
创新区板块高改盘扎堆
近10大楼盘同台竞技!
如果说如今的南通楼市已然是一片红海,那么创新区必然是深红色。
目前区域内有万科揽境、招商公园道、紫琅天成、天皓名邸、金鹰世界等存量改善项目在售,部分项目甚至已经达到现房状态。
待售项目有仁恒紫琅世纪、世悦、紫琅吾岛、道达元瑞及R23006地块,整体均价在2.7万/㎡-3.2万/㎡。
道达元瑞
道达元瑞位于静海大道西,崇川路南,与轨道中心相邻,未来房屋备案均价限价30000元/㎡。该项目将与轨道交通有效衔接,打造真正意义上的地铁上盖项目。

南通轨道交通控制中心大厦
项目规划9栋18-23F住宅,除了1栋18F和1栋22F以外,均为23F,总户数427户,容积率约为2.0,绿地率约42%,非人车分流。

仁恒紫琅世纪
仁恒紫琅世纪位于创新区崇州大道与洪江路交汇处,由科创产发、盛和房产、仁恒置地联合操盘,未来房屋备案均价限价32000元/㎡。

整个地块内共规划13栋8-17层洋房、小高层,4栋别墅,共421户,容积率1.79,绿地率32%,自带9000㎡商业建筑。

世悦
2022年12月5日,盛和房产斥资超20亿拿下创新区CR22027地块,成交楼面价12961元/㎡,未来不限房价。
世悦项目分为两个功能区,一共包含27栋6-17层住宅,配备6层商业,部分楼栋首层架空,南北两个功能区分别配置有下沉式广场。

紫琅吾岛
紫琅吾岛项目规划17层纯小高层住区,打造建面约121㎡、130㎡、168㎡和188㎡四种户型,外立面采用金属+玻璃+一体板配置,颜值出圈。部分楼栋配置架空层,按泛会所进行设计。

R23006地块
2023年6月6日,紫琅一小东侧的R23006地块被江苏致豪房地产&科创产发联合底价挂牌,地块总占地面积127229.45㎡,成交价约28.8亿元,容积率仅1.1-1.21。

该地块不论是位置还是规划都非常优越:紫琅一小、紫琅公园、第一人民医院,此外地铁1号线崇州大道站、通富路、通富路高架、通沪大道高架均在周边,交通出行非常便利。

而在下个月,创新区板块内仍将有2块低密宅地出让:
R23031地块
R23031地块位于湖东路东、源兴路北、兴业路南、二十号支路西侧,土地面积73943.59㎡,容积率:1.2-1.4,起拍楼面价13430.1元/㎡,未来不限房价

该地块位于南通创新区南侧,临近南通地铁1号线、源兴路、静海大道、通沪大道高架等城市主干道,交通便利。
此外,地块周边有紫琅公园、紫琅湖实验学校、金鹰世界商业综合体、紫琅新天地、南通大剧院、南通美术馆等配套,资源较为拔尖。

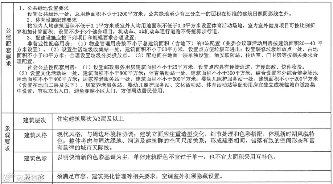
根据规划条件,地块住宅建筑层次应为3层及以上,限高40米。地块内须配建物业管理用房、生活垃圾收集站、邮政服务用房、社区服务站、居委会、居家养老服务站、婴幼儿照护服务站等公建配套。

R23032地块
R23033地块位于静海大道西、定海寺横河北、观河路东侧,土地面积32637.83㎡,容积率1.2-1.4,起拍楼面价:13444.1元/㎡,未来不限房价。

该地块位于南通创新区板块北侧,紧邻紫琅花谷,生态优势明显。配套方面,地块距离南通地铁1号线也不远,周边紫琅一小、南通第一人民医院、大润发、紫琅新天地等教育医疗娱乐配套齐备。

根据规划条件,地块住宅建筑层次应为3层及以上,限高40米。
地块内须配建物业管理用房、生活垃圾收集站、邮政服务用房、文化活动站、体育活动站、居家养老服务站、婴幼儿照护服务站等公建配套,其中居家养老服务站、婴幼儿照护服务站、文化活动站、体育活动站等配套用房宜独立成栋临城市道路集中设置,有独立出入口,避免穿越小区大门,方便周边居民使用。

R23022地块
R23022地块位于南通创新区世纪大道北、静海大道西、定海寺横河南、观河路东侧,占地面积为30374.37㎡,容积率1.01-1.1,限高22米,是板块内难得一见的超低密地块。

根据出让公告显示,地块竞买实行价高者得的竞买模式,起拍总价5.708亿元,起拍楼面价17083.8元/㎡,不限房价;
根据规划条件,地块内住宅建筑层次为3层以上,小于22米。此外,地块内需要配套建设物业管理用房、生活垃圾收集站、邮政服务用房、卫生服务站等配套用房。

地块位于南通创新区板块内、紫琅公园旁,生态环境优势得天独厚。
配套方面,地块距离南通地铁1号线也不远,周边紫琅一小、南通第一人民医院、大润发、紫琅新天地等教育医疗娱乐配套齐备。

面对眼花缭乱的创新区楼市,你怎么选?欢迎评论区留言讨论。

【品质改善 精选好盘】

免责申明:1/本文来源南通楼市网,仅供参考和交流,不构成直接投资建议;2/任何投资行为均有不同程度风险性,投资需理性;3/添加微信nt36522,观察君拉你进买房交流群。

