◤公众号对话框回复楼盘名称,查楼盘◢
五龙云璟 |龙憩苑| 建发观云府| 臻如府|桃李春风苑|紫琅吾岛 |大华铂璟湾| ⭐更多南通在售楼盘
就在刚刚!南通主城突击挂地,一口气就是8宗,全部不限地价不限房价。其中,创新区R24022地块须配建幼儿园等配套,要求颇高,值得关注——
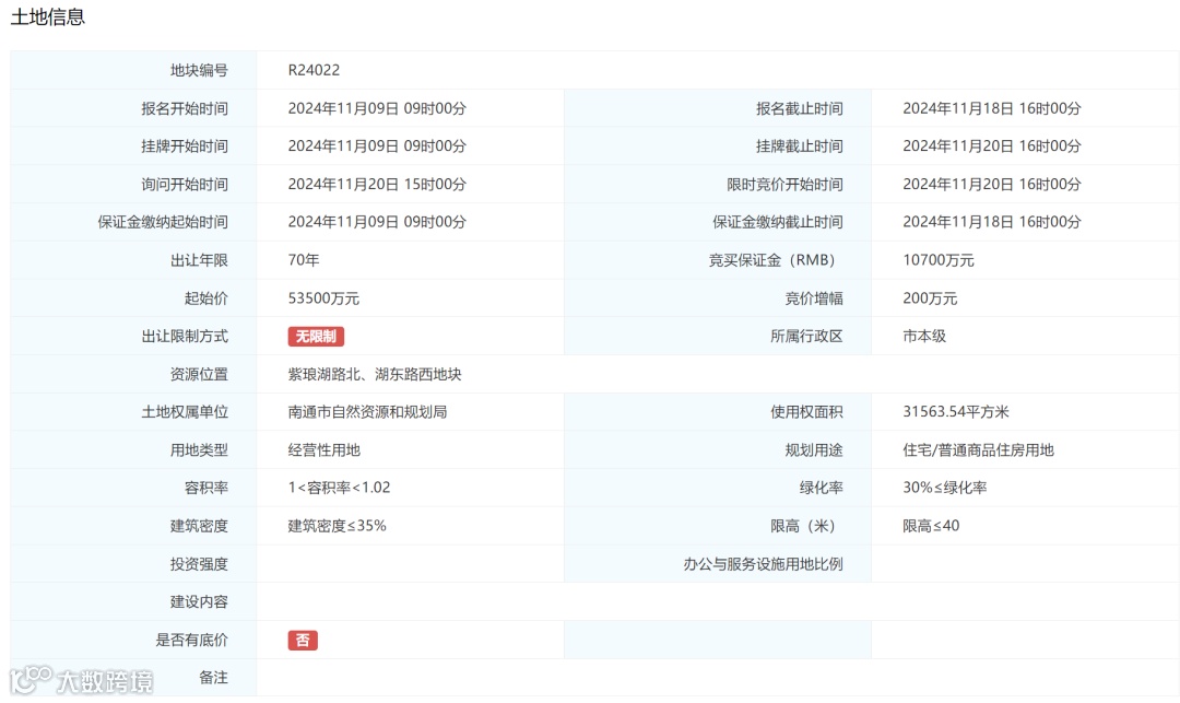
●R24022地块位于紫琅湖路北、湖东路西地块,地块容积率1<R<1.02,起拍楼面价16718.8元/㎡,价高者得,11月20日开拍;
●R24023地块位于科创路东、朝阳路南、崇州大道西、四圩横河北地块,地块容积率1<R<1.59,起拍楼面价11698.3元/㎡,价高者得,11月20日开拍;
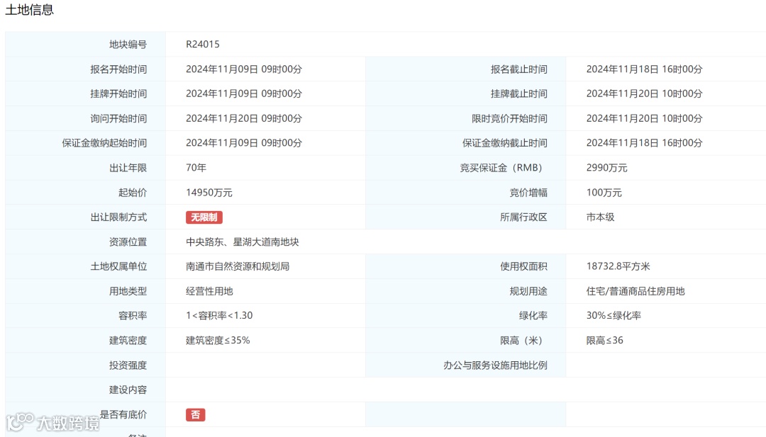
●R24015地块位于中央路东、星湖大道南地块,地块容积率1<R<1.3,起拍楼面价6152.3元/㎡,价高者得,11月20日开拍;
●R24016地块位于龙兴路南、星宇路东、竹林路西、世家路北地块,地块容积率1<R<1.4,起拍楼面价5624.6元/㎡,价高者得,11月20日开拍;
●R24017地块位于法果路北、川果路西,地块容积率1<R<1.29,起拍楼面价10471.2元/㎡,价高者得,11月20日开拍;
●R24018地块位于永兴大道南、通生路东、港兴路北地块,地块容积率1<R<1.43,起拍楼面价6870.5元/㎡,价高者得,11月20日开拍;
●R24019地块位于百运路南、长泰路西地块,地块容积率1<R<1.38,起拍楼面价10670.8元/㎡,价高者得,11月20日开拍;
●R24020地块位于永康路东、规划纬二路南地块,地块容积率1<R<1.3,起拍楼面价8444元/㎡,价高者得,11月20日开拍;

R24022地块
本次挂牌的R24022地块位于南通创新区紫琅湖路北、湖东路西地块,占地面积为31563.54㎡,容积率1-1.02,限高40米。根据控规,该地块将极有可能打造环湖低密洋房及别墅小区,相当值得期待。

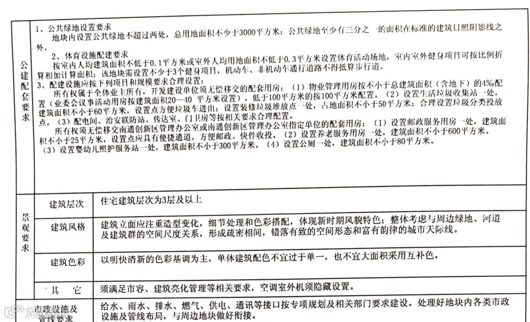
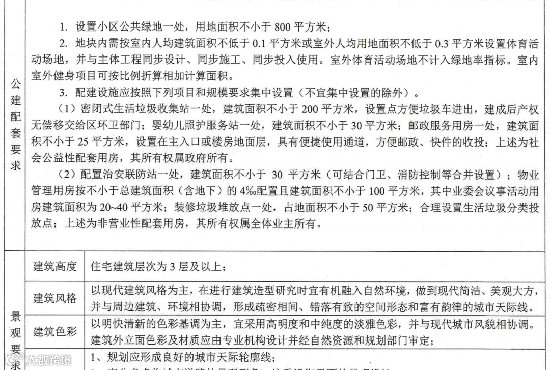
根据规划条件,地块内住宅建筑层次为3层以上。此外,地块内需要配套建设物业管理用房、生活垃圾收集站、邮政服务用房等配套用房。

根据投资监管协议,乙方负责筹措不低于5000万元,为甲方投资建设本宗临近地块公益性配套设施工程(朝阳路南、静海大道东地块内1处规划幼儿园及周边河道景观工程)。上述代建项目需在签订《成交确认书》后42个月内建成并通过竣工验收,竣工验收通过后三个月 内无偿移交甲方或甲方指定单位。

该地块位于南通创新区核芯位置,紧邻紫琅湖白沙滩,堪称湖景氧吧。
此外,地块南侧为上海电气,周边有紫琅公园、紫琅湖实验学校、通中附中、金鹰世界商业综合体、紫琅新天地、南通大剧院、南通美术馆等配套,资源较为拔尖。

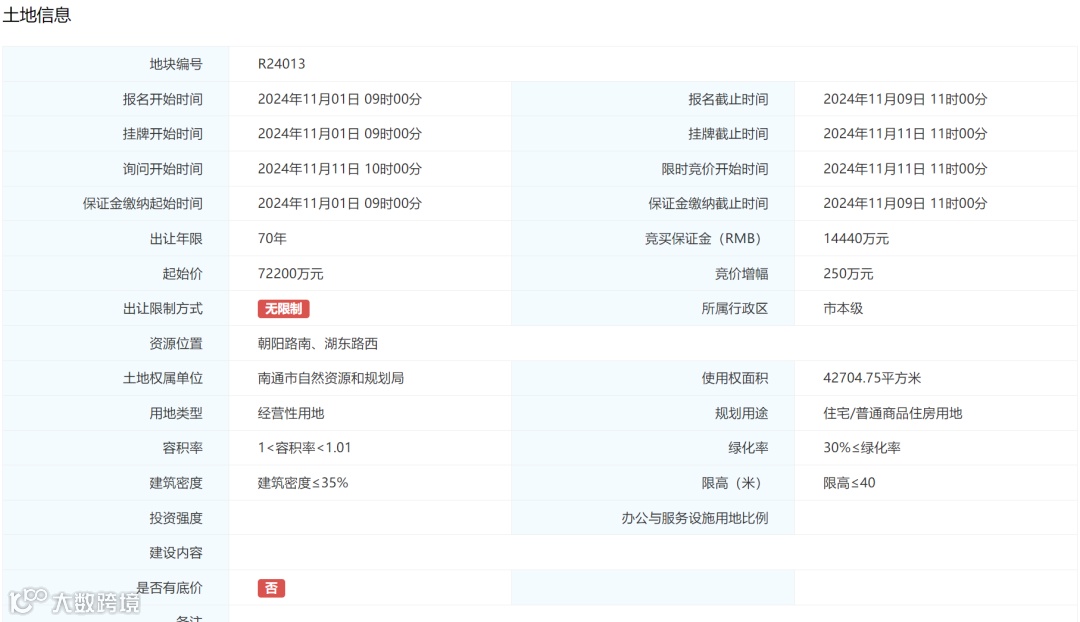
值得一提的是,与地块一路之隔的R24013地块已经挂牌,地块总占地面积约42704.75㎡,35%≤绿化率,容积率1-1.01,起拍总价约7.22亿元,起拍楼面价约16739.4元/㎡,将于11月11日11时正式出让。

R24023地块
本次挂牌的R24023地块位于南通创新区科创路东、朝阳路南、崇州大道西、四圩横河北地块,占地面积为54430.58㎡,容积率1-1.59,限高60米。根据控规,该地块将极有可能打造环湖低密洋房及小高层小区。

根据规划条件,地块内住宅建筑层次为3层以上,小于60米。此外,地块内需要配套建设物业管理用房、生活垃圾收集站、邮政服务用房、养老服务用房、婴幼儿照护服务站等配套用房。

该地块位于南通创新区核芯位置,出门就是紫琅新天地、紫琅创新谷及帆船体验中心,周边还规划建设少年宫,配套齐备。

目前,地块周边高改项目云集,世悦、仁恒紫琅世纪、道达元瑞、紫琅吾岛等项目均具有较大的竞争力。而该低密地块的入市,将再度给区域内添上一把“火”。
R24015地块
本次挂牌的R24015地块位于南通开发区中央路东、星湖大道南地块,占地面积为18732.8㎡,容积率1-1.3,限高36米。根据控规,该地块将极有可能打造低密洋房及别墅小区,相当值得期待。

根据规划条件,地块内住宅建筑层次为3层以上。此外,地块内需要配套建设物业管理用房、治安联防站、生活垃圾收集站、邮政服务用房、婴幼儿照护服务站等配套用房。

该地块地处滨江湾片区核心地段,周边新开路、星湖大道等城市主干道环伺,交通路网发达。周边星湖101街区、世茂广场、永旺梦乐城等商业综合体密集分布,满足休闲、娱乐、购物一站式体验。此外,地块周边分布有南通开发区实验小学、南通开发区实验幼儿园、南通市东方中学等,教育资源充沛。

R24017地块
R24017地块为此前终止出让地块,重新上架。
本次挂牌的R24017位于崇川区法果路北、川果路西,土地面积约24271.5㎡,容积率1-1.29,限高24米,建筑面积≤31200㎡,建筑层次为3层及以上。

根据规划条件,地块内住宅建筑层次为3层及以上,限高24米。此外,地块内需要配套建设物业管理用房、邮政服务用房等配套。

根据投资监管协议,竞得人须负责筹措人民币3000万元为甲方在本地块东北侧相邻地块内,代建地上建筑面私不小于5000平方米的公共服务设施项目。

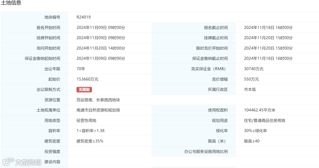
R24019地块
本次挂牌的R24019地块位于南通五龙汇百运路南、长泰路西地块,占地面积为104462.45㎡,容积率1-1.38,限高40米。根据控规,该地块将极有可能打造低密洋房及别墅小区,相当值得期待。

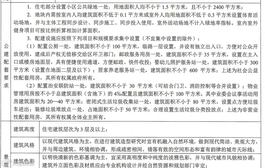
根据规划条件,地块内住宅建筑层次为低层、多层、小高层。此外,地块内需要配套建设物业管理用房、治安联防站、生活垃圾收集站、邮政服务用房、婴幼儿照护服务站、居家养老服务站、文化活动站、体育活动站、居委会及少量商业用房等配套用房。

该地块地处五龙汇地段,周边江海大道高架、长江路高架等城市主干道环伺,交通路网发达。周边万达广场、万象城、山姆超市、大润发等商业综合体密集分布,满足休闲、娱乐、购物一站式体验。

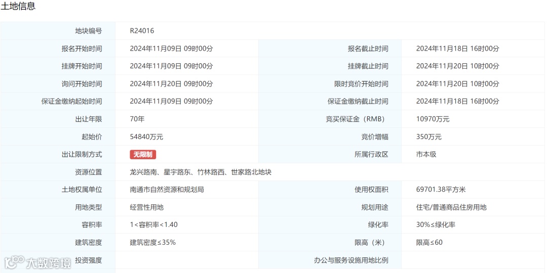
R24016地块
本次挂牌的R24016地块位于南通开发区竹行街道龙兴路南、星宇路东、竹林路西、世家路北地块,占地面积为69701.38㎡,容积率1-1.4,限高60米。根据控规,该地块将极有可能打造小高层及洋房小区,相当值得期待。

根据规划条件,地块内住宅建筑层次为3层以上。此外,地块内需要配套建设公厕、邮政服务用房、居家养老服务站、治安联防站、生活垃圾收集站、邮政服务用房、婴幼儿照护服务站等配套用房。

该地块地处开发区竹行板块核心地段,周边东方大道高架、星湖大道等城市主干道环伺,交通路网发达。周边星湖101街区、世茂广场、永旺梦乐城等商业综合体密集分布,满足休闲、娱乐、购物一站式体验。

R24018地块
本次挂牌的R24018地块位于南通市北永兴大道南、通生路东、港兴路北地块,占地面积为105476.83㎡,容积率1-1.43,限高60米。根据控规,该地块将极有可能打造小高层/洋房小区。

根据规划条件,地块内住宅建筑层次为3层以上。此外,地块内需要配套建设物业管理用房、治安联防站、生活垃圾收集站、邮政服务用房、婴幼儿照护服务站等配套用房。

地块西侧邻近南通地铁1号线普贤路站,东侧距离地铁2号线长岸站也不远,东侧通过永兴大道高架可直达G40高速入口,双轨环绕、多维立体交通畅达全城。

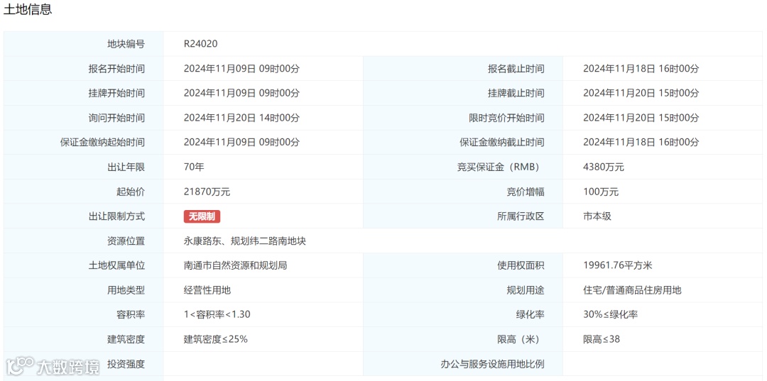
R24020地块
本次挂牌的R24020地块位于南通市北永康路东、规划纬二路南地块,占地面积为19961.76㎡,容积率1-1.3,限高38米。根据控规,该地块将极有可能打造低密洋房及别墅小区,相当值得期待。

根据规划条件,地块内住宅建筑层次为3层以上。此外,地块内需要配套建设物业管理用房、治安联防站、生活垃圾收集站、邮政服务用房、公厕等配套用房。

该地块地处唐闸片区,周边永兴大道、永和路等城市主干道环伺,交通路网发达。周边万达广场、大润发、山姆等商业综合体密集分布,满足休闲、娱乐、购物一站式体验。

你对这8块地怎么看?欢迎评论区留言讨论。


⬇️左下角点击关注公众号,对话框内回复楼盘名称,一键查楼盘、加买房群。
免责申明:1/本文来源南通楼市网,仅供参考。如因阅读文章,对您购房行为产生损失,平台不承担相关责任;如果您继续阅读文章,则视为已知晓认可该声明。2/添加微信nt36511,拉你进买房交流群。


