◤公众号对话框回复楼盘名称,查楼盘◢
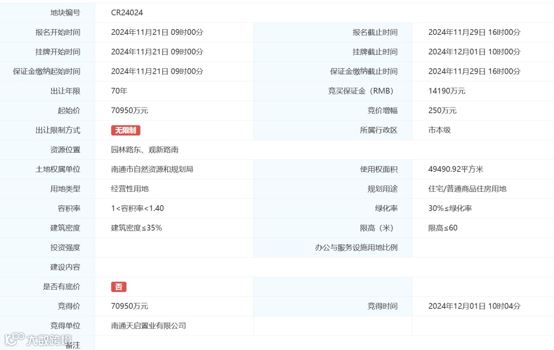
1、南通天启置业有限公司底价拿下园林路东、观新路南的CR24024地块,成交楼面价10253元/㎡。
2、南通天扬置业有限公司、南通五水置业有限公司底价拿下园林路东、通甲路南的R24025地块,成交楼面价7031元/㎡。
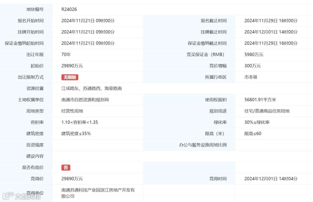
3、南通苏通科技产业园滨江房地产开发有限公司底价拿下江成路东、苏通路西、海亚路南的R24026地块,成交楼面价3898元/㎡。
4、南通市阳光项目建设有限公司、南通新豪置业有限公司、南通市中央创新区科创产业发展有限公司底价拿下胜利路东、世纪大道南、崇州大道西、科利路北的ACR24027地块,成交楼面价7299元/㎡。
●地块位置:胜利路东、世纪大道南、崇州大道西、科利路北
●竞得房企:南通市阳光项目建设有限公司、南通新豪置业有限公司、南通市中央创新区科创产业发展有限公司

地块位于创新区核芯位置、南通市第一人民医院东侧、仁恒公园世纪西侧的胜利路东、世纪大道南、崇州大道西、科利路北。
坐拥紫琅一小、紫琅公园、第一人民医院,此外地铁1号线崇州大道站、通富路、通富路高架、通沪大道高架均在周边,堪称宝藏中的宝藏。
根据投资监管协议,为丰富区域功能业态,提高城市居民生活品质,根据创新区控制性详细规划,甲方拟在胜利路东、世纪大道南、崇州大道西、科利路北地块内规划建设住宅及配套用房、商业、养老服务用房(康复护理及配套用房)项目,打造全流程、一站式、智慧化的康养社区。
为保证养老和商业项目运营品质,乙方须自营或引进一家五星级养老机构对养老及商业板块实施统一运营管理。引进的运营方须在南通创新区注册设立一家具有独立法人资格的全资子公司,由新公司从事受让地块养老及商业板块的运营。
此前,南通市自然资源和规划局发布了《<南通创新区G2-02、G3-02等地块控制性详细规划调整>批前公示》。
根据规划,将科利路北侧医疗卫生用地调整为居住、商业及养老设施混合用地,调整后地块指标为:容积率≤1.6,建筑密度≤36%,绿地率≥30%,建筑高度≤60米。
该地块所处的位置是南通高品质住宅的聚集区,已交付的有仁恒公园世纪、万科方圆、远创东樾、华润悦府,在售项目包括万科揽境、公园道、世悦、仁恒紫琅世纪等等,都是单价近3万/㎡的塔尖楼盘。
值得注意的是,与地块一路之隔的致豪R23006地块将建设小高层/高层、叠加别墅及三层合院别墅,其中合院部分建筑风格为中式别墅,在主城板块内相当罕见。
项目整体呈现南低北高布局,北侧为8-9F小高层,中间部分为4层叠墅,南侧为3F合院,整体密度较低,定位高端。

该地块位于园林路与观新路交汇处,周边通京大道、洪江路高架等道路环伺,南通CBD商圈、凤凰广场、启瑞广场等商业配套齐全,区位优势明显、生活氛围浓厚,目前属第一初级中学施教区。
根据此前公布的规划条件,用地性质为居住、商业、商务用地,用地面积约49491平方米,建筑面积≤69200平方米,1.0<容积率<1.40,建筑密度≤35%,绿地率≥30%。建筑高度≤60米。
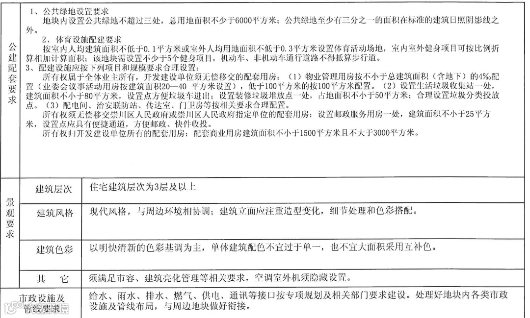
地块内须配建物业管理用房、生活垃圾收集站、邮政服务用房、文化活动站、体育活动站、居家养老服务站、婴幼儿照护服务站、居委会等配套设施。
●竞得房企:南通天扬置业有限公司、南通五水置业有限公司

该地块位于园林路与通甲路交汇处,周边园林路、青年路等道路环伺,崇川大有境等商业配套齐全。
根据此前公布的规划条件,用地性质为居住用地,用地面积约88422平方米,建筑面积≤140500平方米,1.0<容积率<1.59,建筑密度≤35%,绿地率≥30%。建筑高度≤60米。
地块内须配建物业管理用房、生活垃圾收集站、邮政服务用房等配套设施,配套商业用房建筑面积不小于1500㎡且不大于3000㎡。
●竞得房企:南通苏通科技产业园滨江房地产开发有限公司

该地块位于苏锡通园区江成路东、苏通路西、海亚路南,近邻惠立学校、诺德安达国际学校。值得一提的是,地块距离南通中心旅游商圈较近,未来前景可期。
根据此前公布的规划条件,用地性质为居住用地,用地面积约56802平方米,1.1<容积率<1.35,建筑密度≤35%,绿地率≥30%,建筑控制高度≤60米。
地块内须配建物业管理用房、生活垃圾收集站、邮政服务用房等配套设施。
值得一提的是,地块不远处的枫叶小镇奥特莱斯已经开业!整个项目总投资约10亿元,商业面积12万㎡,属于“街区+围合+盒子Mall”的多元复合模式。

此外,板块内还将迎来一座游乐园——苏通长江生态文化园一期探索湾项目,前几天已经发布批前公示。
根据规划图纸显示,探索湾游乐设施形态分为室内、室外游乐区域两大类,包含失重组合滑道、假山、各类型水滑道、穿墙组合滑道、零高度电磁弹射过山车、儿童水迷宫、室内水乐园、酒店等众多游乐设备。
今年1月3日,蝶恋桥语花海项目、不觉晓国际营地项目同时签约落户苏锡通园区,作为南通中心枫叶小镇奥莱项目和长江生态文化旅游园项目的配套设施,焕新苏锡通文旅版图。
该地块位于南通家纺城板块,北侧就是碧桂园都荟锦、中南世纪云辰等项目,周边川姜小学正在加紧建设之中,居住氛围浓厚。
根据规划条件,用地性质为居住用地,用地面积约50554平方米,1.6≤容积率≤1.8,建筑密度≤25%,绿地率≥30%,建筑控制高度≤60米。
地块内须配建物业管理用房、公厕、治安联防站、快递用房、养老服务用房、婴幼儿照护服务设施等配套设施。


⬇️左下角点击关注公众号,对话框内回复楼盘名称,一键查楼盘、加买房群。
免责申明:1/本文来源南通楼市网,仅供参考。如因阅读文章,对您购房行为产生损失,平台不承担相关责任;如果您继续阅读文章,则视为已知晓认可该声明。2/添加微信nt36511,拉你进买房交流群。
