就在刚刚,
南通青年路沿线的R25004地块突击挂牌
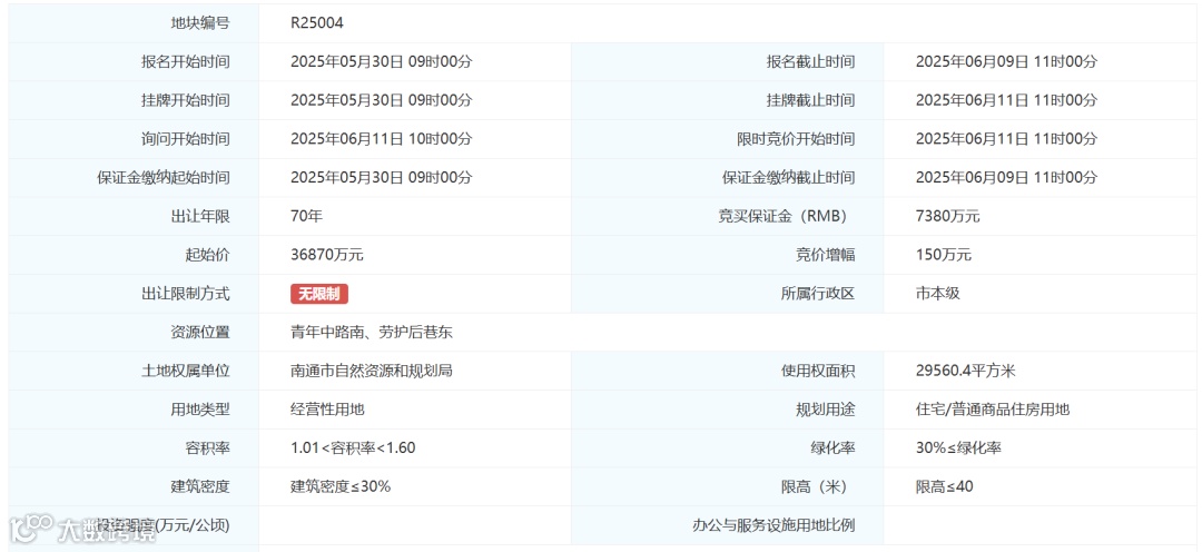
起拍楼面价约9217.5元/m²
深刻影响主城楼市格局!
地块采用“价高者得”的竞买规则,起拍总价约3.687亿元,折合起拍楼面价约9217.5元/㎡,将于6月11日正式出让。
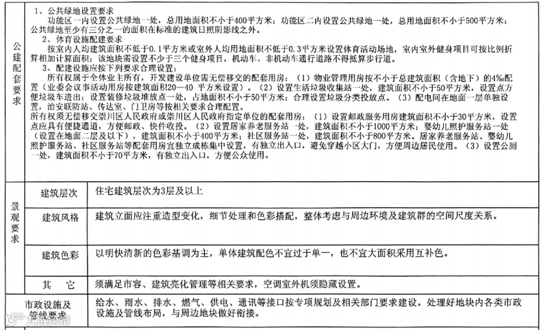
根据投资监管协议,乙方在新建住宅区内为社会公共服务而配建的居家养老、婴幼儿照护、社区管理与服务等社会公益性配套用房,须无偿移交甲方或甲方指定单位。房屋移交、办理不动产权证过程中如涉及税费,全部由乙方负担。
乙方须提供给甲方或甲方指定单位实测建筑面积不少于1500平方米的居住商品房及其相对应的国有土地使用权,并承担移交房屋的全部税费。移交时,乙方需按先连续整幢、后连续整单元的原则提供房源给甲方或 甲方指定单位,由甲方或甲方指定单位按城市更新住房置换方案公告进行安置。甲方或甲方指定单位按居住商品房实测建筑面积17000 元/平方米与土地竞得人结算。
乙方提供给甲方或甲方指定单位的居住商品房数量应不少于 20 套,其具体房屋的面积(以实测建筑面私为准)及对应数量如下:60 平方米面积段(一室一厅)的住宅套数不少于 10套;90 平方米面积段(非一室一厅)的住宅套数不少于 10 套。
此外,为完善地块周边配套建设,乙方还需要负责筹措人民币1460万元,为甲方投资建设本宗地相邻的姚港河(丁香花园 ·青年中路段)河坡整修工程、姚港河(丁香花园·青年中路段)河道配套绿化工程、青年中路沿线(劳护后巷·地块东侧规划支路)绿化工程、地块周边道路(地块东侧规划支路、地块南侧规划支路含跨姚港河桥及劳护后巷)工程。
地块位于南通老城区核芯位置,紧邻青年中路、跃龙路等城市主干道遍布周边,地铁2号线体育公园站举步可达,交通便利。地块距离南大街商圈也不远,濠河风景区在侧,周边居住氛围相当醇熟,休闲购物都很方便。
值得一提的是,地块北侧为启秀中学,未来教育问题不用担心。地块东侧为南通市第三人民医院,南侧为南通市口腔医院,东北角为南通大学附属医院西院区,医疗优势卓越,堪称六边形战士!
该地块容积率<1.6,未来大概率打造高品质的小高层社区,值得买房人关注!
6大楼盘同台竞技,南通老城区迎楼市硬仗
南通老城区板块,必然将在2025年迎来一场激战——除了在售的玲珑雅苑项目以外,板块内将有5大高品质楼盘即将入市,
玲珑雅苑
玲珑雅苑位于姚港路与虹桥路交界处(原龙虾王地块),小区精心规划5栋洋房+1栋小高层,设计了建面约115㎡、122㎡、125㎡、140㎡四种户型,全部采用南北通透设计,短进深大宽面,该项目一经入市便大受市场欢迎。
锦鸿府
原虹桥医院片区由天一置业联合万科代建,打造锦鸿府项目,项目由高层和小高层建筑组成,户型建面约105-165㎡,目前已经对外公开示范区。
六桥首府
六桥首府将大力推动定制化住宅建设,打造定制化传世别墅,围绕“建筑、园林、户型、装修"等模块,以B、C双端共建,奢定寺街传世孤品。

盛和观濠别院
该地块紧邻南通濠河风景区,位置不可多得——
南大街商圈咫尺即达,南通市实验小学、南通中学、南通中医院、南通大学附属医院等高能级配套环伺,南通地铁1号线、2号线均在周边穿行而过,居住于此兼具舒适性和便利性。

濠东璟园
R24003地块西侧紧邻濠河风景区,一路之隔便是濠河景区,生态怡人,居住舒适感较强。交通配套方面,从地块向北可达江海大道高架,南侧不远处就是人民路、南通地铁1号线,交通便捷。
多个高端改善盘相继入市,今年注定是濠河板块楼市风起云涌的一年!
你对于这个板块怎么看?欢迎评论区留言讨论!

如果你有买房需求,想了解项目详细信息和团购优惠,可以扫码联系工作人员(nt36511)私聊。如果不着急买房也可以加入我们的房产交流群,持续学习。

⬇️左下角点击关注公众号,对话框内回复楼盘名称,一键加买房群。
免责申明:1/本文来源南通楼市网,仅供参考。如因阅读文章,对您购房行为产生损失,平台不承担相关责任;如果您继续阅读文章,则视为已知晓认可该声明。2/添加微信nt36511,拉你进买房交流群。





