NO.1|壹
谁能想到,咱们今天第一个要圈的竟然是雨花客厅!
要知道,雨花客厅E-park购物中心人气及客流量在城南一代算得上“顶流”,当然也在于周边有聚集了南京不少高薪企业。
E-park为雨花客厅二期综合体,其商业购物中心体量约8万方,分南北两区。此次拍卖涉及的是雨花客厅E-park商场北区8号楼,建筑面积超5.8万方,大家熟悉的迪卡侬、海上明珠影城和一大批网红餐饮店等均在此。

NO.2|贰
雨花客厅是因为母公司现金流问题被迫法拍找人脱手,而南京工业大学旁的慕斯荟则疑似因经营不善等原因,正在寻找新的接盘方。
近期,有网友爆料,江北核心区商业综合体MS慕斯荟人气惨淡,疑似倒闭。同时,浦口MS慕斯荟官方微信自去年6月25日起,已暂停更新,不像是有精细化经营的样子。

从商场品牌分布墙来看,商场品牌少,尤其缺少大牌化妆品和快销时尚品牌,餐饮类的店铺也没有头部品牌的入驻,多以二线品牌为主。
浦口MS慕斯荟2016年开业,总投资3亿,开发商系江苏元创,运营操盘系南京欢乐港商管。据一位原浦口慕斯荟招商人员透露:“去年6月后,欢乐港就不负责商场运营,听说是要卖掉。”
天眼查数据显示,早在去年3月,江苏元创退出欢乐港商管股东行列。相关人士透露,江苏元创资金链紧张,拟出售浦口MS慕斯荟弥补资金缺口。
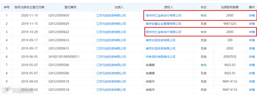
天眼查显示,江苏元创实缴资本5000万,存在3笔股权质押,总金额超1.34亿,包括扬州汇宝典当行两笔2000万,和朱XX的民间借款9425万。

NO.3|叁
在新街口核心位置,也同样不能幸免。
今年2月,新街口友谊广场惨遭流拍,起拍总价近20个亿。
根据阿里法拍,友谊广场拍卖起始价为19.97亿元,保证金1亿元,拍卖时间为2月6日10:00时起至2月7日10:00时止。

截止2021年2月7日,本次拍卖吸引超4000次围观,由于无人报名,最终还是流拍了!

据律师分析,此次拍卖标的物非友谊广场大楼,而是债权持有人深圳市平安德成投资有限公司在阿里拍卖上拟出售其对南京友谊华联集团(有限)责任公司所持有的债权,此次拍卖并非司法拍卖,而是平安德成作为金融机构一种正常的自行银行清仓行为,本次拍卖对友谊广场大楼的产权归属并无影响;而此前南京友华公司与平安德成之间的金融债务合同纠纷案件,最新消息暂未披露。
友谊广场地理位置优越,位于新街口汉中路27号。周边商业氛围浓厚,与金鹰国际购物中心、东方商城、金陵中环相邻,与德基广场隔街相望,地铁1、2号线可无缝衔接。

友谊广场地上29层,地下2层,其中B1至9楼为商业,友谊广场最先原名为南京友谊商店,曾是南京市高端百货业的旗帜和标杆。2005年,金盛集团全资收购南京华联商厦,随后斥资数亿对友谊进行脱胎换骨的全面改造。

据了解,早在2018年,香港置地曾有意向拿下友谊广场,打算拆除重建与金陵中环项目共同规划打造,但由于出价方面不符合友谊广场方面的心理价位,最后不了了之。
而因为开发商欠下银行巨额债务,南京新街口正洪大厦的1-9层将在本月进行第三次拍卖,起拍价6.16亿元,8折抛售。

正洪大厦1-9层原属于南京罗宾纳经营管理有限公司,法拍房网站显示,因为与银行之间出现了借款合同纠纷,为了还债,只能将正洪大厦的部分楼层进行抛售。

NO.4|肆
经营商业是细水长流的精细化的操作,商业运营也越来越朝着专业化的领域去演进,对于这些被“卡壳”的商业,有的其实也不一定是经营的问题,只能祝福了。
如果你要在南京买房,请抓紧添加楼市主编微信,评估楼盘价值排名,获得优惠买入工抵房、特价房的机会。

最近咨询的比较多,问题多的话入圈吧。


