

建隧道,最怕的就是地质太复杂。海湾填海区一般为软土土质,大规模的基础设施建设容易出现地基变形问题。在填海区域建隧道很难,有人甚至将其比喻为是“在豆腐里打洞”。
近日,填海区域工程“前海湾片区地下车行联络道”土建基本完工。作为建设公司,前海控股在施工环境复杂的情况下,是如何克服技术难点,确保项目建设顺利推进。上一篇介绍了填海区域复杂环境条件下明挖隧道工程施工技术。相对于明挖法,暗挖法安全风险系数高,难度更大,本篇将为大家深度剖析前海首例大断面浅埋暗挖工程技术。给大家揭开前海的这个隧道有何与众不同?

项目简介
前湾片区地下车行联络道,由前海控股负责建设,道路等级为城市支路,设计时速为20km/h,共包括南、北两个环形联络道,与临海大道地下道路形成“中”字形布局。
技术难点
项目位于在填海区域,距离前海湾海域仅400米,施工环境复杂,场地狭小,地下水丰富,洞顶埋深浅,隧道平均埋深仅5.5米,跨度达12米且为矩形断面,安全风险系数高。
技术亮点
为确保工程项目本身和前海大道安全,北联络道施工方案由初期的明挖法调整为暗挖法,长度约240米,开挖断面达83.2平方米,属于前海首例大断面浅埋暗挖工程。
项目施工方严格按照工序要求施工,开挖之前已完成地面预加固、管棚施工、小导管注浆等多道预处理工序,最终成功将浅埋暗挖段上方前海大道地面沉降最大量控制在18.8毫米内,开创了在深圳前海填海地质条件下平顶直墙隧道浅埋暗挖施工的先河。
既保证了工程施工安全,又维持了前海大道交通畅通;
有效地减小了由于地层损失而引起的地表移动变形等环境问题;
施工过程对周边环境的影响降低到最低程度;
工程建成后,可充分开发利用地下空间、缓解地面交通压力,从而给周边地块车辆的快速进出带来极大的便利。

图1 前湾片区地下联络道平面位置
遵循“新奥法”原理
按十八字原则设计和施工
浅埋暗挖法是在距离地表较近的地下进行各种类型地下洞室隧道暗挖施工的一种方法。在城镇软弱围岩地层的浅埋条件下,修建地下工程,以改造地质条件为前提,以控制地表沉降为重点,以格栅(或其他钢结构)和喷锚作为初期支护手段,遵循“新奥法”大部分原理,按照十八字原则(即管超前、严注浆、短开挖、强支护、快封闭、勤量测)进行隧道的设计和施工。
项目位于滨海淤泥块石回填地层
施工面临4大难点
北联络道暗挖段位于前海大道正下方,且属于滨海淤泥块石回填地层,如何控制前海大道地面沉降和保证周边设施安全,是本项目工程管理的重中之重。
沿线原始地貌为浅海,后经填海造地形成现有地貌。地层岩土从地表向下依次为素填土、填块石、淤泥质粘土、粉质黏土、砂质黏土、全风化花岗岩。隧道暗挖开挖断面位于填块石及淤泥质粘土层,围岩较差,地下水丰富,地下水来源主要为桂庙渠及海水,具有一定的腐蚀性。
1号施工竖井位于嘉里中心下方,4号竖井紧邻信义地块基坑;隧道北临桂湾渠,西邻前海湾。隧道埋深浅(最浅埋深4.5m),下穿前海大道,地面交通繁忙,地下管线密布。其中一条污水管距隧道顶板仅0.8m。
1号施工竖井、4号施工竖井分别紧邻嘉里、信义地块,彼此施工时序相互交叉干扰,场地管理、接口划分等协调工作难度大。
隧道工期紧、施工场地狭小、作业空间受限、工序繁杂相互干扰且要求衔接紧凑,通风、出渣、材料运输等施工组织难度大。施工地点位于前海石公园东侧,安全文明施工和环境保护要求标准非常高。
本项目按照浅埋暗挖法原理进行设计及施工,共设1号~4号四个施工竖井,作为隧道施工的起点和终点,竖井同时也是出渣、通风、人员进出、设备和材料运输的通道。其中2号、3号竖井作为隧道施工起点,按相关施工规范和深圳市住房和建设局标准化施工规定,在井上方设工作棚,棚内设行吊作为主要垂直运输设备。

图2 施工竖井平面位置

图3 竖井工作棚内主要机械设备
多种辅助工法
确保隧道施工安全有序推进
隧道施工过程中采用多种辅助工法,以确保隧道施工安全有序的推进,主要包括:
一是在地面采用高压旋喷桩加固地层;
二是在洞内采用全面注浆、大管棚和双层超前小导管注浆等超前支护措施加固地层;
三是将一个大断面隧道划分为六个小断面导洞分步开挖,每个小导洞每次开挖进尺0.5m,及时架立刚架、挂网喷射混凝土,封闭成环,使初期支护与围岩共同作用承担全部荷载;
四是在具备二次衬砌施工条件时,采用台车施工隧道二次衬砌。
在施工全过程中,针对浅埋暗挖隧道的特点应用监控量测和信息反馈技术指导施工。
"5"道工序展开隧道施工
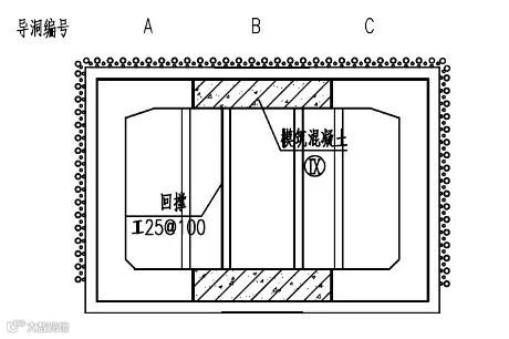
工序一

管棚超前护顶,A导洞超前,B导洞滞后A导洞5m,C导洞滞后B导洞5m,上、下断面短台阶法开挖,预留核心土,初支及临时支护,形成封闭的框架结构。
工序二

B导洞上、下断面短台阶法开挖、预留核心土,初支及临时支护,形成封闭的框架结构。
工序三

C导洞上、下断面短台阶法开挖,预留核心土,初支及临时支护,形成封闭的框架结构。
工序四

在A、C导洞中浇筑隧道侧墙、顶板、底板。如图对侧墙进行回撑。
工序五

在B导洞中浇筑隧道的顶底板。如图对顶、底板进行回撑。(当暗挖监测情况不利时,不拆除临时支撑竖撑,直接浇筑隧道顶板)
图4 隧道施工工法示意图
"8"大流程确保施工质量和速度

图5 总体施工流程图
旋喷桩加固地层
隧道主要位于海相淤积地层中,设计采用旋喷桩从地面对暗挖区段内地层进行改良及加固,兼做止水帷幕。因隧道所处地层中有块石,所以先用GQK150钻机引孔,然后使用XP-OA型钻机进行旋喷桩施工。
图6 旋喷桩平面图及施工机械
竖井施工
暗挖共设置4个工作井,竖井围护结构采用Ф1200@1800mm咬合桩,设计桩长25.2~26.2m。咬合桩采用SR360R型旋挖钻机施工,硬咬合施工工艺。施工时先行施工素桩,配筋桩在相邻素桩混凝土初凝之后进行旋挖切割成孔,并及时浇筑混凝土。待围护结构施工完成后采用伸缩臂抓斗开挖出土。
超前大管棚
隧道暗挖段全程拱部及侧墙范围覆盖超前大管棚,采用前山机械SD-100-3型钻机钻孔。管棚使用Ф180*10mm热轧无缝钢管。管棚内安装钢筋笼,钢筋笼由4根Ф25mm螺纹钢加工。管棚施工完成后,按由上至下的顺序注1:1水泥浆。管棚在隧道顶面和侧面形成一道保护屏障,是保证开挖施工安全的重要工序。
图7 大管棚平面分布图

图8 大管棚施工
全断面注浆
洞内超前注浆采用长、短注浆管结合。全断面注浆先钻孔后埋Ф42*3.5mm钢花管进行注浆。每次注浆长度不小于6m,止浆墙厚度2m,每次开挖长度不大于4m。注浆浆液采用体积比1:1水泥水玻璃双液浆。
图9 全断面注浆施工
超前小导管
超前小导管采用Ф42*3.5mm长3.5m热轧无缝钢管,采用YT28风钻钻孔,逐根施工。小导管注浆浆液为水泥水玻璃双液浆,配比与全断面注浆浆液相同。
图10 超前小导管施工
隧道开挖与初支
隧道分六个小导洞采用环形开挖、预留核心土,相邻洞室错开5m。用小型挖掘机开挖装土,履带运渣车洞内运输,开挖轮廓拱架范围内的土方采用人工开挖清理。每次开挖长度控制在0.5m,开挖完成后及时施作初期支护和临时支撑并尽快封闭,并采用1:1水泥浆填充初支背后的缝隙。

图11 环形开挖预留核心土法施工
地基钢花管加固
为保证隧道地基承载力不小于180KPa,在洞内采用钢花管对地基进行加固。钢花管呈梅花形布置,纵横向间距1m,长度3m。钢花管采用Ф60×3.5mm无缝钢管加工,施打完成后注1:1水泥浆。施工采用XP-OA型钻机施工。
隧道二衬
隧道二衬结构采用C35钢筋混凝土,抗渗等级为P8。结构底板厚度为1m,侧墙厚度为0.8m,顶板厚度为0.9m。结构防水遵循“以防为主、多道设防、综合治理”的原则,防水等级为二级。初期支护施工完成后,以防水砂浆抹平初支表面,初支和二衬之间设一层1.5mm厚PVC防水板,防水板与初支之间设一层无纺布缓冲层。二衬结构施工顺序为:AC导洞底板→拆除AC导洞临时仰拱→施工AC导洞侧墙和顶板→AC导洞二衬回撑→拆除B导洞临时仰拱和中隔墙→施工B导洞底板和顶板→B导洞二衬回撑→强度达到设计值后拆除回撑。

图12 二衬施工顺序示意图
图13 防水及二衬钢筋施工

图14 二衬独立液压步履式行走台车
浅埋暗挖法是一种在离地表很近的地下进行各种类型地下洞室隧道等暗挖施工的方法。在明挖法、盾构法不适应的环境条件下,浅埋暗挖法显示了很大的优越性。
前湾片区地下车行联络道北联络道隧道工程采用浅埋暗挖法施工,既保证了工程施工安全,又维持了前海大道交通畅通,同时也为类似工程积累了设计、施工经验。本工程建成后,一方面可充分开发利用地下空间、缓解地面交通压力,另一方面给周边地块车辆的快速进出带来极大的便利。
鉴于目前工程信息化技术的实施,实现了浅埋暗挖技术的全过程控制,有效地减小了由于地层损失而引起的地表移动变形等环境问题。不但使施工对周边环境的影响降低到最低程度,由于及时调整、优化支护参数,提高了施工质量和速度,使浅埋暗挖法特点得到更进一步的发挥,为城市地下工程设计、施工提供了一种非常好的方法,具有重大的社会效益和环境效益。

通讯员:基建事业部 牛宏荣 王俊辉 安全质量部 王志强
编辑整理:胡洁贞
校审:姜媛媛 朱斌
本文由前海控股编辑整理发布,转载请注明来源


