蓝沛作为拥有10年以上电子烟行业经验的工程师与设计团队组建的新品牌。2021年,裕同科技(股票代码:002831)正式与蓝沛签订战略合作协议,蓝沛也在裕同的支持下持续不断地研发新产品,给用户提供更安心的产品。
裕同科技连续三年蝉联"中国印刷包装企业100强第一名",包装第一股,给中烟提供专业的、有竞争力的包装产品、解决方案和服务。目前主要服务于湖南中烟、江西中烟、云南中烟、安徽中烟、福建中烟等客户。
自2020年3月成立以来,蓝沛拥有的行业知识产权,已多达100多项,发明专利以及国际PCT专利占比30%,后续也将继续积极布局知识产权。

蓝沛在产品研发中始终秉持着“用新鲜的烟弹,给用户提供更安全的产品。”的初衷,开创了保障烟油质量和寿命的三大技术,这些技术已通过国家专利局授权,其中“一种雾化装置以及电子烟”专利获得国家专利局授权及公开,专利公开号为CN112741370A。

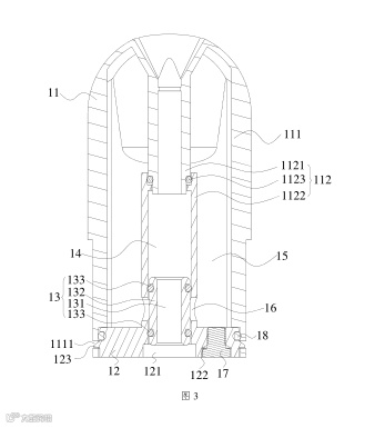
专利摘要:本发明提供一种雾化装置以及电子烟,雾化装置包括储液体、密封件、密封座和发热机构,储液体包括储液腔、吸嘴和连通吸嘴的雾化气道,储液腔设有与雾化气道连通的出液孔;密封件设有导液孔,密封件密封设于雾化气道的外侧壁;密封件的外侧壁和储液体的内侧壁形成环形开口,密封座密封设于环形开口内;发热机构包括雾化底座和设于雾化底座上的雾化管,雾化管设有进液孔,雾化管设于雾化气道内,且使密封座的底部固定设于雾化底座上,雾化底座可拆卸设于密封座的底部;雾化底座的底部设有连通雾化管的进气孔;当旋转储液体或雾化底座至预设位置时,储液体和密封件相对转动,导液孔、出液孔和进液孔依次导通。本发明可实现储液腔和发热机构的分离。



专利说明书附图
目前此项专利已应用于蓝沛YK1雾化弹。

(蓝沛YK1雾化弹示意图)
蓝沛与比亚迪股份有限公司,及专业雾化设备加工制造商美深威,波顿集团等相关企业强强联合,为客户带来更高规格产品保障,确保终端产品的硬件质量与口感皆为顶尖。
自创立始初,蓝沛一直重视产品技术研发与创新,始终将产品核心技术把握在自己手中,全权掌握行业发展后续蓝图,将外在影响因素带来的风险降到最低,未来将继续在开拓行业技术创新的道路上向前。

蓝沛
即刻开启新鲜之旅

