

疫情最新通报,南京新型冠状病毒感染肺炎感染者增速放缓!
疫情通报
根据省卫健委7月29日发布,2021年7月28日0-24时,我市新增新型冠状病毒感染肺炎本土确诊病例18例,无新增无症状感染者;新增本土确诊病例中,轻型10例、普通型8例。有3例确诊病例由普通型转为重型,13例由轻型转为普通型。
截至目前,我市共报告本土确诊病例171例(其中78例轻型,86例普通型,7例重型),本土无症状感染者2例。所有173例感染者中,江宁区147例、溧水区11例,建邺区4例、鼓楼区3例、秦淮区、雨花台区、高淳区各2例,玄武区、栖霞区各1例。
新增病例情况
确诊病例154:
女,33岁,现住江宁区湖熟街道钱家村钱家自然村,幼儿园保育员。
7月11日、12日骑车至江宁区湖熟街道高桥社区湖熟农业综合开发公司附近朋友家打牌,12日20:00去江宁区禄口街道“无痕”宠物店。7月14日、15日居家未出。7月16日12:00自驾至禄口百利广场2号楼用餐后返家。7月17日19:00骑车去高桥社区朋友家打牌,22:00返家。7月18日18:50去周岗社区卫生服务中心附近牌友家。7月19日14:15骑车去江宁区金宝市场五区12号女人帮工厂店购物。7月20日19:00骑车至湖熟街道高桥社区朋友家打牌,22:00后返家。7月22日11:50去江宁区苏果超市格致路社区店、江宁区黄金海岸苏果,15:16后返家。7月23日9:40骑车去周岗医院门诊,随后至南京上元堂药店周岗药房(集贤街店),返家后未再外出。7月25日转运至集中隔离点。7月28日通过专用救护车转运至南京市公共卫生医疗中心,当日被诊断为新冠肺炎确诊病例,普通型。
确诊病例155:
男,60岁,现住南京市雨花台区凤翔新城1期,手术后居家休养。
7月10日至20日大部分在凤翔新城1期、景明佳园广场附近活动,曾两次自驾至禄口永兴社区见朋友。7月21日,自驾车到陆郎, 11:30到明基医院办理住院手续,并进行核酸检测,结果为阴性,后返回家中。7月22日至23日居家未出。7月24日曾驾车外出。7月25日、26日均在凤翔新城1期、景明佳园活动。7月27日自驾车至明基医院肿瘤科门诊,核酸检测结果阳性。7月28日通过专用救护车转运至南京市公共卫生医疗中心,当日被诊断为新冠肺炎确诊病例,轻型。
确诊病例156:
女,68岁,现住江宁区禄口街道秦村村永欣新寓海棠苑,退休。
平时经常去宝兰皮草厂给女儿送菜,偶尔至树山棋牌室打麻将。因所居住地属于高风险地区,自7月25日居家隔离。7月27日核酸检测阳性。7月28日通过专用救护车转运至南京市公共卫生医疗中心。当日被诊断为新冠肺炎确诊病例,普通型。
确诊病例157:
男,67岁,现住江宁区禄口街道永兴社区外槽坊自然村,务农。
7月21日1:00前往社区做核酸检测,3:30回家,上午9:00骑车前往好又多超市(文轩路1-1号),9:30到达女儿家,12:30回家未外出。7月22日6:30从家中步行前往自营商店,6:40与朋友在店内下棋,7:00关闭店面,步行回家后未出。7月23日、24日在家休息。7月25日12时左右作为密切接触者被送往集中隔离点。7月27日清晨出现发热症状,20:00左右被送往江宁医院开发区分院,新冠核酸检测阳性,23:00通过专用救护车转运至南京市公共卫生医疗中心。28日被诊断为新冠肺炎确诊病例,轻型。
确诊病例158:
女,56岁,住江宁区禄口街道成功村大圩王自然村,无业。
7月10日至20日多次至棋牌室打麻将(永兴社区四角井9号),期间与确诊病例有接触。7月21日至25日居家未出。7月26日8:00与丈夫骑车至禄口医院就诊。7月27日17:00被转运至集中隔离点,后通过专用救护车转运至南京市公共卫生医疗中心。7月28日被诊断为新冠肺炎确诊病例,普通型。
确诊病例159:
男,51岁,现住江宁区禄口街道张桥村北庄自然村,在禄口机场从事排涝工作。
7月14日7:30骑车上班至16日7:30下班后回家未外出。7月17日居家未出。7月18日7:30骑车上班至20日7:30下班后回家,20:00骑车去机场采集核酸后返回家中。7月21日居家未出。7月22日6:30骑车到单位并自我隔离至25日13:00,后骑车至禄口社区医院采集核酸,后14:30到星猫超市(茅亭路1号)购买所需物品。15:00左右回到单位自行隔离。7月27日通过专用救护车转运至南京市公共卫生医疗中心。28日被诊断为新冠肺炎确诊病例,轻型。
确诊病例160:
女,42岁,现住江宁区禄口街道陈巷村前陈巷自然村,在禄口机场从事保洁工作。
7月10日至17日骑车往返禄口机场上班,16日6:55曾与同事(确诊病例)在铜山菜场对面兰州拉面吃饭。7月17日7:34骑车回家,9:00自驾至苏果超市铜山店购物后居家未出。7月18日至19日骑车往返禄口机场上班。7月20日骑车上班后在单位自我隔离,23:11转运至集中隔离点。7月27日核酸检测阳性。7月28日通过专用救护车转运至南京市公共卫生医疗中心。当日被诊断为新冠肺炎确诊病例,普通型。
确诊病例161:
男,70岁,现住江宁区禄口街道小彭村东岗头自然村,退休。
7月18日上午,至铜山社区医院门诊,后乘坐939路公交车返回家中。7月19日至7月25日期间,多次至同村友人家中打牌。7月25日,因被判定为密切接触者被集中隔离。7月27日核酸检测阳性。7月28日通过专用救护车转运至南京市公共卫生医疗中心。当日被诊断为新冠肺炎确诊病例,普通型。
确诊病例162:
男,27岁,现住江宁区东山街道岔路社区绿城深蓝小区,从事规划工作。
7月21日乘高铁G2641至如皋。7月23日乘高铁D5426回南京。7月24日乘高铁G7295至上海。7月25日乘高铁D7296返回南京,此前在如皋、南京南站核酸检测结果均为阴性,14:00左右从南京南站打车回家。7月26日居家未出。7月27日21:00,自驾至西华大厦,后至第一医院就诊,核酸检测为阳性,7月28日通过专用救护车转运至南京市公共卫生医疗中心,当日被诊断为新冠肺炎确诊病例,普通型。
确诊病例163:
女,67岁,现住江宁区禄口街道永兴社区外槽坊自然村,务农。
7月12日至16日白天在家看店,晚饭后在外槽坊散步或者到村子内的广场上跳广场舞。7月17日有多位亲戚到家中吃饭。7月18日12:00至14:00在家中打麻将(有确诊病例)。7月19日至20日在家看店,晚饭后在外槽坊内散步或者到附近的广场跳广场舞。7月21日9:00到江宁区文轩路1-1号好又多超市买菜后回家。7月22日白天居家,晚饭后在外槽坊内散步,到附近的广场跳广场舞。7月23日干咳后服用蒲地蓝、头孢后缓解。7月27日新冠核酸检测阳性。7月28日通过专用救护车转运至南京市公共卫生医疗中心,当日被诊断为新冠肺炎确诊病例,轻型。
确诊病例164:
女,75岁,现住江宁区禄口街道永兴社区外槽坊自然村,务农。
7月14日上午,其子(系禄口机场货运司机)回到家中一起吃饭,下午至树山棋牌室打牌。7月15日至21日,曾路边摆摊卖菜、去自家田里干活。7月22日,居家未出。7月23日,去家附近好又多超市(白云路店)购买大米。7月24日起,居家未出。7月27日核酸检测阳性。7月28日通过专用救护车转运至南京市公共卫生医疗中心。当日被诊断为新冠肺炎确诊病例,轻型。
确诊病例165:
男,56岁,现住江宁区禄口街道石埝村张塘角自然村,物流公司搬运工。
因所居住地属于高风险地区,自7月21日居家隔离。7月27日核酸检测阳性。7月28日通过专用救护车转运至南京市公共卫生医疗中心。当日被诊断为新冠肺炎确诊病例,轻型。
确诊病例166:
女,58岁,现住江宁区禄口街道石埝村张塘角自然村,村医。
7月13日至20日每日骑行往返医疗站上班,7月18日曾接诊村民李某(后确诊)。7月21日6:30至核酸检测点检测后去医疗站上班。7月22日居家未出。7月23日11:00至核酸检测点检测后返家。7月24日10:00骑行至医疗站取药送至邓家圩村民家指定地点后返家。7月25日居家未出。7月26日10:00骑行至医疗站取药。7月27日社区工作人员上门采集患者口咽拭子。7月28日居家未外出,后通过专用救护车转运至南京市公共卫生医疗中心。当日被诊断为新冠肺炎确诊病例,轻型。
确诊病例167:
女,67岁,现住江宁区禄口街道永兴社区外槽坊自然村,务农。
7月14日至16日居家未出。7月17日6:00陪丈夫至医院看病后返家中。7月18日、19日居家未出。7月20日曾与朋友(后确诊)近距离交谈约10分钟,无防护。7月21日至22日居家未出。7月23日去集中采样点进行核酸检测。7月24日至26日居家未出。7月27日13:00禄口社区卫生服务中心上门检测核酸。7月28日核酸检测后,被转运至集中隔离点,后通过专用救护车转运至南京市公共卫生医疗中心,当日被诊断为新冠肺炎确诊病例,轻型。
确诊病例168:
男,46岁,现住江宁区麒麟街道麒麟门社区麒西路95号,个体工商户。
7月13日至19日主要生活在店内。7月20日12:50,与一名顾客(后确诊)有近距离接触。7月21日至22日主要生活在店内。7月23日19:00至20:00自驾车送儿子回老家,次日7:00返回。7月24日17:00转运至集中隔离点。7月28日通过专用救护车转运至南京市公共卫生医疗中心,当日被诊断为新冠肺炎确诊病例,轻型。
确诊病例169:
男,62岁,现住秦淮区晨光新苑,退休。
7月11日至25日,主要活动范围在现住址附近,平时早上去菜场买菜。7月27日骑车去医院取报告。7月28日乘私家车送医院发热门诊采样,核酸检测快速筛查结果阳性。后通过专用救护车转运至南京市公共卫生医疗中心,当日被诊断为新冠肺炎确诊病例,普通型。
确诊病例170:
男,69岁,现住江宁区禄口街道永兴社区外槽坊自然村,退休。
7月14日、15日均在树山棋牌室打麻将。7月17日6:00至某医院专科看病后返家中。11时30分至13时30分树山棋牌室打麻将。7月18日至20日每日至树山棋牌室打牌。7月21日至22日居家未出。7月23日去集中采样点核酸检测。7月24日至26日居家未出。7月27日13:00禄口社区卫生服务中心上门检测核酸。7月28日核酸检测后,被转运至集中隔离点,后通过专用救护车转运至南京市公共卫生医疗中心,当日被诊断为新冠肺炎确诊病例,轻型。
确诊病例171:
男,29岁,现住南京市建邺区吉庆家园,航空公司地服人员。
7月20-24日行程轨迹主要涉及其禄口机场、家庭现住址、同事家中(溧水空港新苑)、陶谷新村半谷器屋、任记锅盖面(文体西路105号)、多品汇烟酒店(建邺区所街89号)、泰山路幼儿园核酸检测点和新城商务酒店核酸检测点。7月24日18:00作为确诊患者的密切接触者被转运集中隔离点,7月27日核酸检测阳性,后通过专用救护车转运至南京市公共卫生医疗中心,7月28日被诊断为新冠肺炎确诊病例,普通型。
近日新增病例涉及重要风险点位及重点场所:
江宁区:湖熟街道钱家村钱家自然村、东山街道岔路社区绿城深蓝小区、麒麟街道麒麟门社区麒西路95号好又多超市、树山棋牌室
建邺区:吉庆家园
雨花台区:凤翔新城1期
截止目前,初步甄别上述病例的密切接触者按有关规定进行隔离医学观察,所涉及的相关居住场所和活动场所均已进行终末消毒。

南京最新疫情风险等级,禄口全区域调整为高风险地区!
经南京市新冠肺炎疫情防控指挥部同意,自2021年7月29日起,对我市部分区域疫情风险等级进行调整:

@南京人!全员核酸今日正式启动!
为保障人民群众生命安全和身体健康,我市将开展第三轮全员核酸检测工作,现就有关安排及注意事项通告如下:
一、检测范围
全市范围内全部居民(含暂住人员)。
二、时间安排
江宁区,2021年7月29日10:00至7月30日24:00。
溧水区,2021年7月28日7:00至7月29日7:00。
玄武区、秦淮区、建邺区、鼓楼区、栖霞区、雨花台区、高淳区,2021年7月29日8:00至7月30日12:00。
江北新区、浦口区、六合区,2021年7月30日8:00至7月31日12:00。
各区根据实际防控需要,可从7月28日起先行启动部分社区检测工作。
三、检测地点
一般人员集中采样点详见各区通知,黄码人员定点采样点详见《关于做好经禄口机场返宁人员健康管理的通告》。
四、注意事项
(一)请各位市民朋友按照所在街道社区工作人员的通知指引,分时段有序到达指定地点开展核酸检测,做到应检尽检,确保不漏一户、不落一人。
(二)本次筛查采用直接扫描身份证的简便方式进行身份登记(未成年人可关联直系亲属的身份证),请各位市民朋友检测时携带身份证,主动出示“苏康码”。
(三)“德尔塔”变异毒株具有很强的传染性,为避免感染风险,大家在排队过程中请全程佩戴口罩,与他人保持1米以上间隔,不交谈、不聚集。
疫情防控,人人有责。十分感谢广大市民朋友对防疫工作的大力支持配合!为了您和全市人民群众的健康安全,请各位市民朋友做好自我防护,继续支持配合全员核酸检测工作,凝心聚力、众志成城,共同构筑牢固防疫屏障。
附件:各区防控指挥部联系方式
南京市新冠肺炎疫情
联防联控工作指挥部
2021年7月28日
各区防控指挥部联系方式
玄武区
025-83682072
秦淮区
025-87753722
建邺区
025-87778911
鼓楼区
025-83401049
雨花台区
025-52873890
栖霞区
025-85664158
江宁区
025-69640762
浦口区
025-58882103
025-58852736
六合区
025-57122120
溧水区
025-57202591
高淳区
025-57311235
江北新区
025-58050032

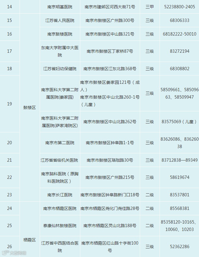
建议收藏,南京公布发热门诊医疗机构名单!
当前,疫情防控处于关键时期
如有发热症状
要到哪里就诊?
快点收藏这份名单,为您导航!







