来源 | 经理人传媒旗下《经理人》杂志
全媒体记者/刘毅
来源/官网
从2021年开始,宝能系就被曝出陷入流动性危机,紧随而来的是裁员、欠薪、信托逾期,违约、理财产品延期兑付等等,企查查资料显示,宝能系相关公司在2022年以来多次成为被执行人,尚未摆脱流动性困局。
近日,宝能城花园多套房源遭到法拍,让宝能系再一次成为焦点。
宝能城花园遭法拍
5月27日,阿里法拍上线10套宝能城花园房源拍卖信息,每套房源均为“千万元”级别的豪宅,起拍均价1505万元,建筑面积153平方米,以此计算,均价为98352万元/平方米,远低于市场价,但与政府为该小区设立的二手房参考价格基本一致。
不动产登记信息查询结果显示,这批挂牌的法拍房登记日期为2018年,登记价为80万元,权利人为宝能城有限公司,房屋性质为市场化商品房,房屋用途为住宅,现状为空置状态、且为毛坯房。
上述拍卖房源从上线至今(6月16日),单个房源引来了最高近2万次的围观,但可惜的是,根本没有人参与报名,意味着流拍可能性较大。最主要的原因或许是与税费息息相关。

据每日经济新闻援引“法拍深圳”工作人员测算,法拍房子如果认定是公司产权,则是二手房交易,就需要缴纳土地增值税,假如最终以起拍价1505万元成交,买受人最终需要承担963.9万元税费,总成本为2469万元,税后单价折合15.9万元/平方米。
据了解,宝能城花园是南山西丽知名豪宅项目,地处深圳市南山区西丽大学城片区,紧邻5号线塘朗站,本次被拍卖的房源全部位于宝能城花园东区,该区由11栋150米的高层住宅、2栋200米的高层公寓及酒店、四层大型商业组成。乐有家显示,该区二手房单价约9.85万/平方米。6
按照常理来讲,上述房源地理位置优越,单价也不算太高,本应属于“抢手货”,何以沦落至被法拍呢?
根据深圳市中级人民法院执行裁定书,申请执行人平安银行深圳分行与被执行人宝能城有限公司、宝能地产股份有限公司、宝能控股(中国)有限公司、姚振华、深圳六金投资有限公司(统称:被执行人)存在借款合同纠纷。
由于被执行人没有履行生效法律文书确定的内容,申请执行人向省高级法院申请强制执行,省高级法院认为被执行人所在地及抵押财产均在深圳市,为提高执行效率、减少执行成本,指定深圳中院执行。
在诉讼过程中,深圳中院依法保全查封了抵押房产,即被执行人宝能城有限公司名下位于深圳市南山区留仙大道北侧宝能城花园共484套房产。
深圳中院认为,被执行人在指定期限内拒不履行生效法律文书确定的义务,申请执行人申请处分被执行人的上述财产,符合有关法律规定,应予准许,裁定拍卖、变卖上述484套抵押房产,以清偿债务。
据了解,本次被深圳中院裁定484套房产,是宝能系多次抵押的结果。
2018年10月、2021年7月29日,宝能城有限公司均为抵押人,被担保主债权数额分别为65亿元、35亿元;7月31日,宝能城、深圳深业物流作为抵押人,被担保主债权数额为49亿元。
假设按本次单个房源成交价1505万元计算,则484套房产的价值约73亿元,不过,从上线拍卖的房源报名人数至今为0人来看,要拍卖出去估计够呛。具体如何,还要等到6月30日开拍,才能揭晓。
被执行金额超235亿
从2021年开始,宝能系就被曝出陷入流动性危机,紧随而来的是裁员、欠薪、信托逾期,违约、理财产品延期兑付等等。
例如2021年7月份,宝能汽车被曝裁员;民生信托公告称,深圳市宝能投资集团21.16亿元(含利息)债务违约;天盈、天鑫、贵鑫等“员工赢”产品被曝出现逾期等等。
去年8月12日,宝能官宣遇到流动性困境,彼时,宝能系实际控制人姚振华表示,宝能遇到了阶段性困难,但有信心解决问题;12月8日,在理财逾期之后,宝能出台理财产品兑付方案,兑付投资本金,后兑付投资收益,每月最低兑付不低于3万元,在2022年6月30日前完成兑付。
今年4月2日,姚振华称,集团阶段性困难化解工作取得了阶段性进展;6月4日,姚振华又称,随着外部形势逐渐向好,集团有信心尽快解决流动性问题。
不过,与宝能集团频频向外通报利好消息形成鲜明对比的是,宝能集团负面新闻则是时不时“浮头”。
2022年3月22日,话题#宝能姚振华下落不明#登上微博热搜,缘由则是广州中院向姚振华公告送达金融借款合同文件,但因姚振华“下落不明”而无法送达。随后,上述公告已经做删除处理。
4月6日,昆明宝能新能源汽车零部件生产项目、观致汽车昆明分公司建设项目两大项目因逾期2年未开工建设,遭到云南省发改委移除处理,投资备案证明文件失效。

5月7日,山东省汽车流通协会将宝能观致汽车品牌列入消费黑名单,提醒消费者谨慎购买宝能观致汽车品牌。文件称,经多方了解,宝能汽车目前出现严重经营问题,到目前无人回应,致使观致品牌车主的合法消费权益无法得到保证并受到严重损害。

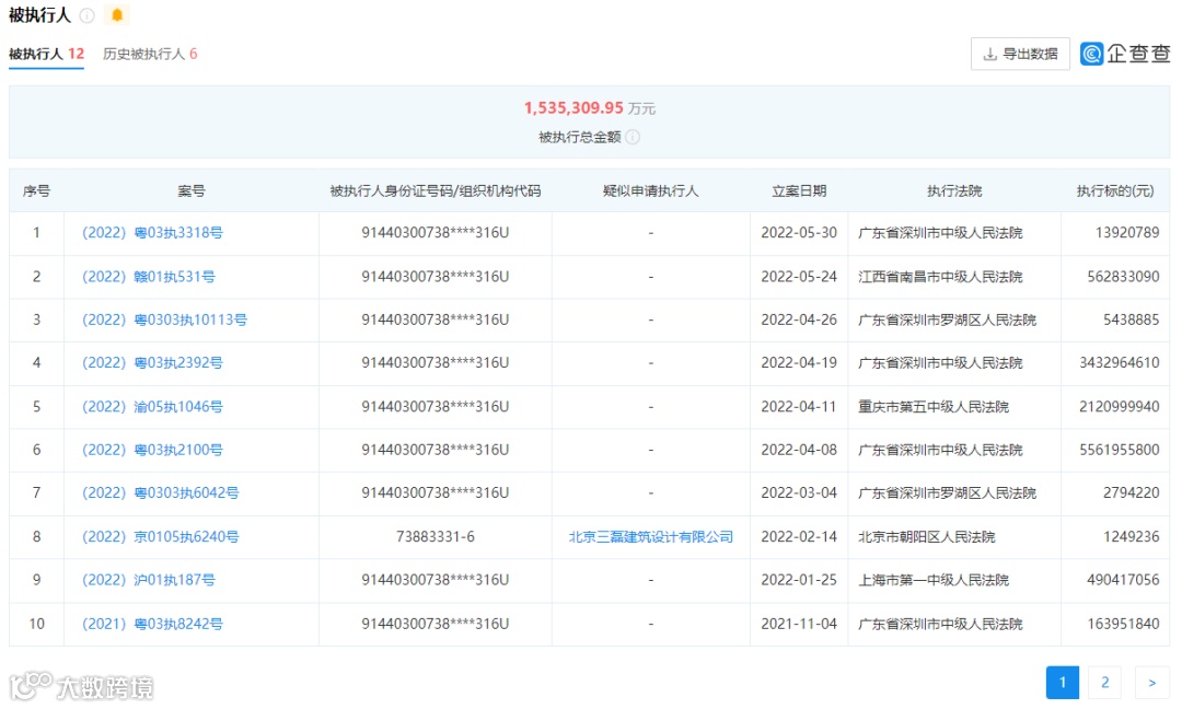
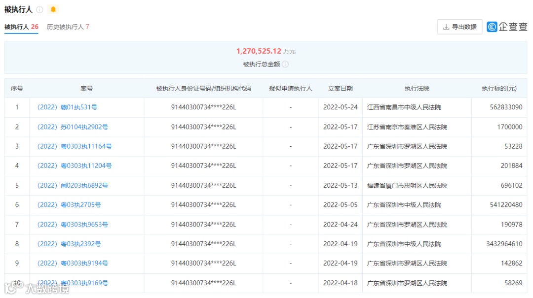
此外,企查查资料显示,截至6月13日,宝能系多个公司有多条被执行人、失信被执行人、限制高消费等风险提示,涉及金额巨大。
其中深圳市宝能投资集团有限公司被执行人次数达76次,被执行总金额达235.46亿元,其中5月5日、24日,分别新增5.41亿元、5.63亿元。
宝能地产股份有限公司被执行人12次,被执行总金额达153.53亿元,且多发生在2022年,例如在4月,宝能地产遭到三次执行,合计被执行金额111.16亿元,5月又被执行5.63亿元。前文中遭到拍卖的房源,正是在4月份被保全的财产。

深圳市钜盛华股份有限公司成为被执行人26次,被执行总金额127亿元;宝能汽车集团有限公司成为被执行人14次,被执行总金额63.65亿元。


由于上述宝能系公司成为被执行人存在着交叉执行的情况,宝能系实际被执行金额合计是多少,估计就连姚振华自身也不清楚。
此外,从上述宝能系公司年内多次成为被执行人来看,债务情况依旧不乐观。对此,《经理人》杂志全媒体致函宝能集团,但截至发稿,未获得回复。
4月24日,钜盛华公告称无法按时出具2021年年度报告的公告,其预计在6月30日前披露。
一个月后的5月19日,钜盛华会计师事务所发生变更,由中兴财光华会计师事务所(特殊普通合伙)变更为深圳永信瑞和会计师事务所(特殊普通合伙),后者将承接钜盛华2021年度审计业务,并已完成相关工作的沟通及资料移交。
更换会计师事务所是否会让钜盛华延迟披露2021年度审计报告,暂且未知,但在这个节点更换会计师事务所的背后原因,值得投资者深思。
根据此前中炬高新公告,截至2021年6月30日,钜盛华未经审计的合并资产总额为5,721亿元,负债为4,789亿元,净资产为932亿元,营业收入为631亿元,净利润仅9.1亿元。合并报表货币资金66亿元,但可用货币资金仅15.1亿元,对比上述宝能系企业被执行总金额,可谓是杯水车薪。
以此来看,宝能系所面临的流动性危机,并不像官方描述的那般轻描淡写,但具体情况如何,唯有等待钜盛华2021年报正式出炉才可揭晓。

