
热!热!热!
珠海最近的天气
真的是热到爆炸!
幸好有空调和风扇续命
一旦停电,那场景无法想象

珠海人注意!
中国南方电网近期发布了
计划停电通知
快来看看
有没有你住的地方吧
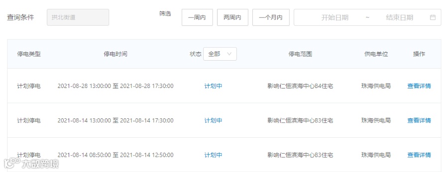
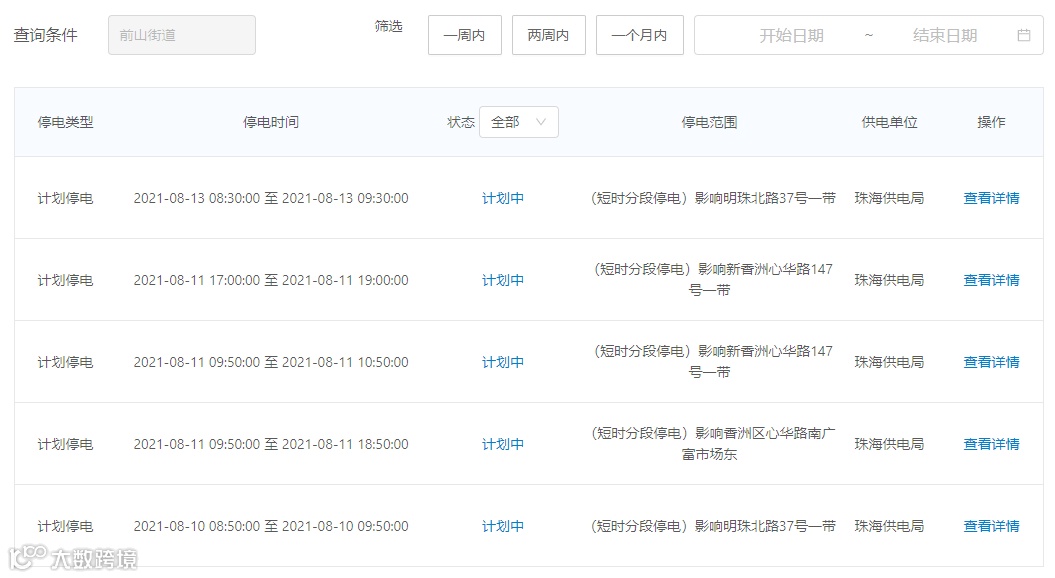
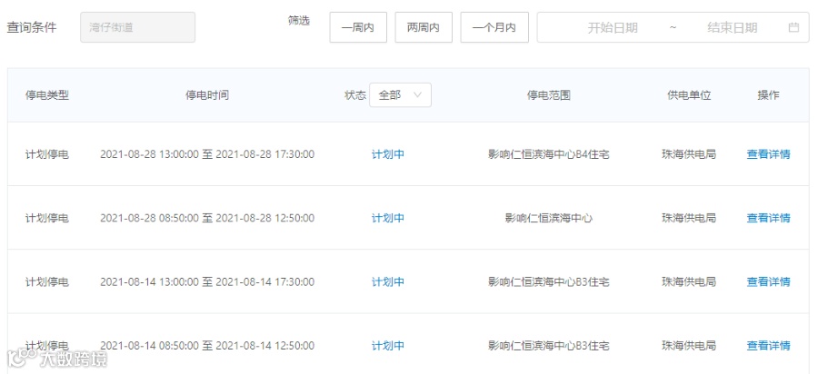
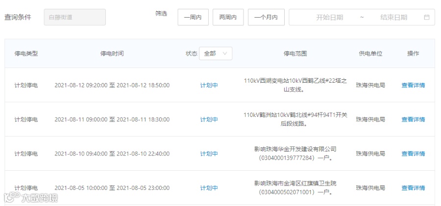
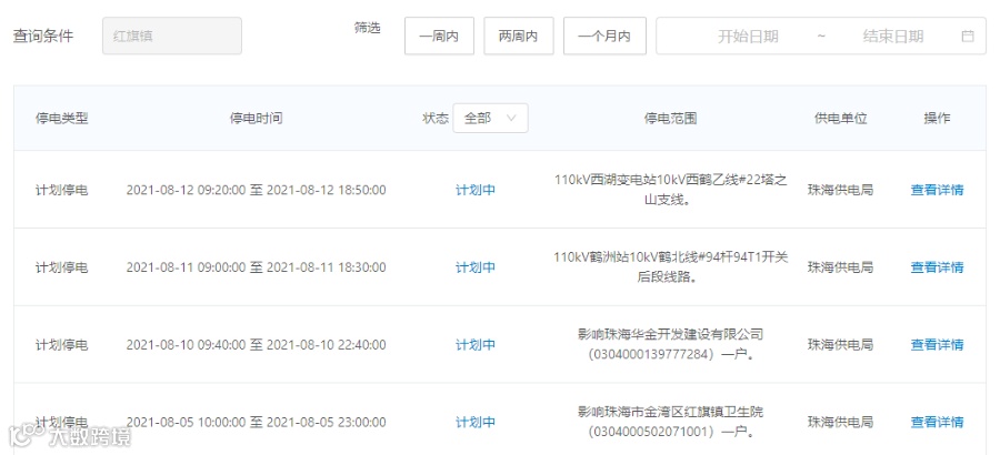
香洲区计划停电
区域及时间
具体如下



点击查看大图

点击查看大图



点击查看大图


点击查看大图



点击查看大图

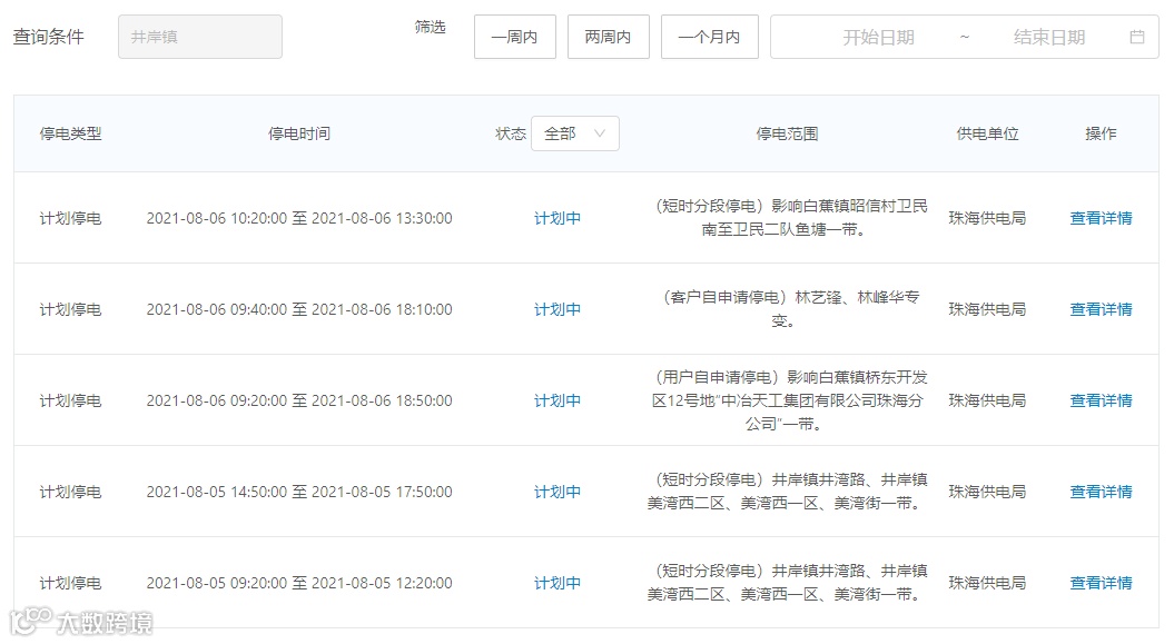
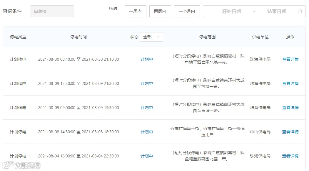
斗门区计划停电
区域及时间
具体如下


点击查看大图


点击查看大图

点击查看大图

点击查看大图


点击查看大图

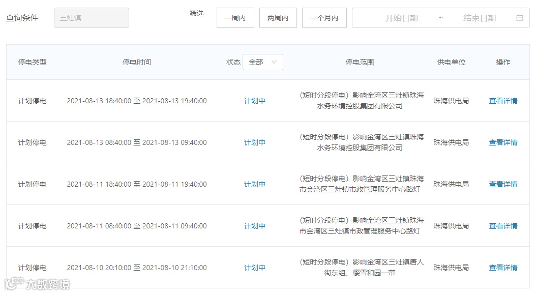
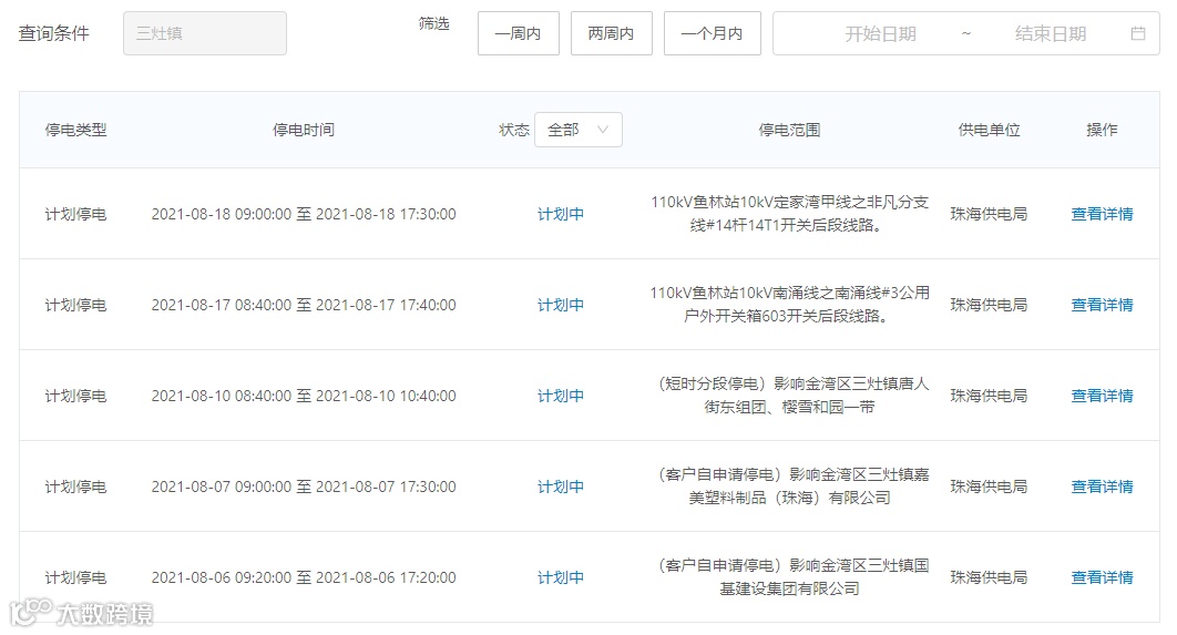
金湾区计划停电
区域及时间
具体如下


点击查看大图


点击查看大图


点击查看大图

横琴新区计划停电
区域及时间
具体如下

点击查看大图

高新区计划停电
区域及时间
具体如下

点击查看大图

以上计划停电的信息
来源于“中国南方电网”官网
停电计划如有变动
一切以实际为准

以上地区的市民朋友
做好心理准备啦
不过,大家也不用担忧
停电前一般都会提前通知
快告诉身边有需要的人吧!
◆ 来源:中国南方电网、珠海吃喝玩乐行
◆ 本号声明:如有侵权,请联系我们进行删除


