
近日,南通市通州自然资源和规划局挂牌3(幅)地块的国有土地使用权。三幅地块分别位于金新街道金沙湾、刘桥镇和川姜镇,其中金沙湾R2024-005地块为普通商品住宅用地,刘桥R2024-004和川姜R2024-007这两宗地为安置房用地,需带安置要求挂牌,具体内容如下:
其中,金沙湾R2024-005地块规划为普通商品住宅用地,颇受瞩目。
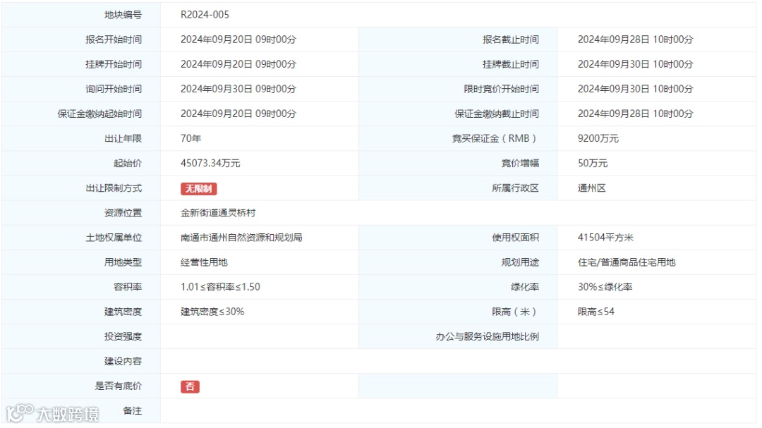
据出让地块的具体信息显示,R2024-005地块位于金新街道通灵桥村,文棠路北侧、金安路东侧宗地,出让面积为41504平方米,起挂土地总价为45073.34万元,结合容积率1.01-1.5折算,起始楼面价约为7240元/㎡。

地块地处金沙湾新区核心位置,西侧紧邻医学综合体,同时属金沙湾学校施教区范围内,医疗教育资源充沛。项目以北就是通吕运河和江海大道,运河之上,金沙湾大桥和扬子江大桥也是地标级城建,方便了与主城、南山湖板块之间的连通!
当然该宗地块周围也是遍布住宅开发项目,可以说是八面劲敌。其中就有去年12月6日同日成交的R2023-018、R2023-019地块,分别由空港置业、神辉置业摘牌,楼面价分别为9033元/㎡、9031元/㎡。
根据地块规划条件来看,明确打造3-13F低密住宅,建筑高度≤54米,满足机场净空要求,势必与周围一众待开发地块拉开差距,解渴区域对于高端改善的供需。