天眼查信息显示,4月11日,赵薇名下部分所持股权被冻结,冻结股权标的企业为合宝文娱集团有限公司,被冻结股权金额为500万元人民币。
最近几年,赵薇的商业版图不断缩水。
早年巅峰时期,赵薇入股的公司多达17家,涉及影视、文娱、投资、科技、房地产等。据天眼查显示,赵薇担任法人的公司中,仅赵赵(上海)影视文化工作室仍处于存续期,另外两家均已注销或吊销。
天眼查信息显示,4月11日,赵薇名下企业所持股权被冻结,冻结股权标的企业为合宝文娱集团有限公司,执行法院为北京市第四中级人民法院,被冻结股权金额为500万元人民币,冻结期限至2027年4月10日。

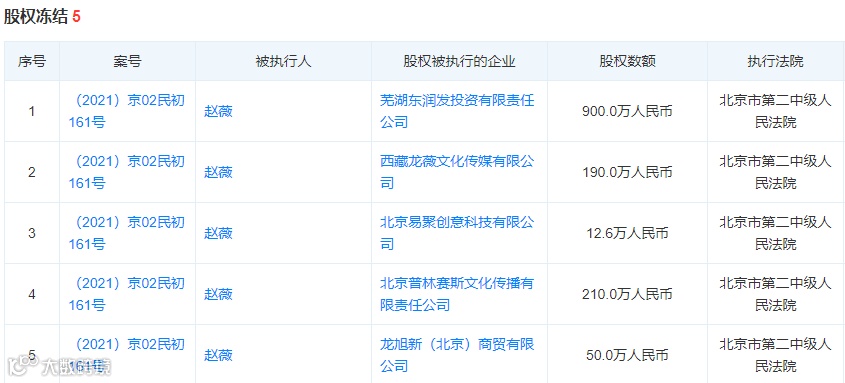
事实上,早在2021年4月,赵薇名下多个企业股权就陆续被冻结,冻结股权标的企业涉及芜湖东润发投资有限责任公司等,合计金额超过千万元,冻结期限至2024年4月末。

天眼查信息显示,早年,赵薇曾担任17家公司的股东,涉及合宝文娱集团有限公司、芜湖东润发投资有限责任公司、北京普林赛斯文化传播有限责任公司等,遍布影视、文娱、投资、科技、房地产等行业。
目前,赵薇已经从上海云锋新创股权投资中心(有限合伙)等4家企业退股,其余担任股东的公司中,也有部分公司已被注销或吊销。
而由赵薇担任公司法人的三家公司中,目前仅赵赵(上海)影视文化工作室仍处于存续期,其余两家也已被注销或吊销。

早在2018年,赵薇还曾接到证监会罚单。当年4月11日,证监会发布了《行政处罚决定书》及《市场禁入决定书》,对万家文化、龙薇传媒责令改正,给予警告,并分别处以60万元罚款;对孔德永、黄有龙、赵薇、赵政给予警告,并分别处以30万元罚款,对黄有龙、赵薇、孔德永分别采取5年证券市场禁入措施。

