◤公众号对话框回复楼盘名称,查楼盘、加买房群◢
地库直通地铁
创新区又一纯新盘规划公示
未来限均价25700元/㎡
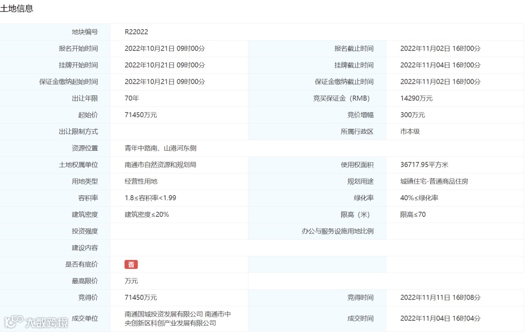
就在刚刚!南通市行政审批局官网正式发布《R22022地块项目批前公示》,创新区又一国企纯新盘来了!

根据规划,R22022地块规划建设5栋18层小高层和9栋9层小高层,总户数仅502户,纯人车分流设计,部分楼栋首层架空。

该地块正式入市后,创新区板块恐将迎来10盘同台竞技的局面。
1、限均价25700/㎡!创新区又一纯新盘规划公示,仅502户
2022年11月4日,轨道国城携手科创产发将创新区R22022地块收入囊中,房屋最高备案指导均价25700/㎡。


项目总户数仅502户,纯人车分流设计,无论是价格还是产品规划,都将对周边项目产生一定的竞争压力。

R22022地块位于创新区金地国际项目北侧,周边各项配套已经基本成型——
在建的南通地铁2号线将于2023年年底正式开通,大润发、星银海城市客厅、国城广场等商业综合体环绕在旁,未来能够很好地满足业主的各项需求。

目前区域内有万科揽境、招商公园道、紫琅天成等高端改善项目在售,待售项目有仁恒新项目,整体均价在2.7万/㎡-3.2万/㎡。

2、不止于价格!地库直连地铁!R22022地块亮点满满
另外根据此前发布的创新区R22022地块建设项目规划建筑方案设计招标公告,项目业主(即招标人)为南通道达尚瑞置业有限公司,建设资金来源自筹。

项目用地性质为居住用地,项目建设用地面积约36718㎡,总建筑面积约104400㎡。

根据户型设计要求及配比显示,项目高层户型为100-129㎡,小高层为140-169㎡,总体客群以刚改为主。
层高方面,住宅底层架空层层高不低于3.6米,住宅标准层层高不低3米。

值得一提的是,根据设计规划书显示:
本项目紧邻南通地铁2号线太平路北站(建设中),本项目靠近南通地铁2号线太平北路站,地库设计时考虑与地铁站的连接通道设计,属于TOD项目。项目总投资: 126600万元。

要知道,纵观全国,地库与地铁站无缝衔接的案例并不是很多,这样的配置能够大大地节约业主出行时间、方便业主的生活,也有不少买房人愿意为此买单。
目前在南通,住宅方面也仅有仁恒公园世纪和地铁大厦旁TOD等少数几个项目做到了此等配置。规划一出,不少网友纷纷表示:一定要去看看。
3、创新区板块高改盘扎堆,近10大楼盘同台竞技!
如果说如今的南通楼市已然是一片红海,那么创新区必然是深红色,已有万科揽境、招商公园道、紫琅天成、龙光越秀天皓名邸、金鹰世界等5大纯新盘在售。
而随着2023年南通楼市正式拉开帷幕,创新区板块仍将有4大国企纯新楼盘入市,竞争态势焦灼:
轨道置业CR21032地块
CR21032地块位于静海大道西,崇川路南,与轨道中心相邻,未来房屋备案均价限价30000元/㎡。该项目将与轨道交通有效衔接,有望打造真正意义上的地铁上盖项目。

南通轨道交通控制中心大厦
项目规划9栋18-23F住宅,除了1栋18F和1栋22F以外,均为23F,总户数427户,容积率约为2.0,绿地率约42%,非人车分流。

仁恒紫琅世纪
仁恒紫琅世纪位于创新区崇州大道与洪江路交汇处,由科创产发、盛和房产、仁恒置地联合操盘,未来房屋备案均价限价32000元/㎡。

整个地块内共规划13栋8-17层洋房、小高层,4栋别墅,共421户,容积率1.79,绿地率32%,自带9000㎡商业建筑。

盛和CR22027地块
2022年12月5日,盛和房产斥资超20亿拿下创新区CR22027地块,成交楼面价12961元/㎡,未来不限房价,预留给开发商的操盘高端改善项目的空间较大。

面对眼花缭乱的创新区楼市,你怎么选?欢迎评论区留言讨论。
-END-
公众号对话框回复楼盘名称,
一键查楼盘详情、加买房群

免责申明:1/本文来源南通楼市网,仅供参考和交流,不构成直接投资建议;2/任何投资行为均有不同程度风险性,投资需理性;3/添加微信nt36522,观察君拉你进买房交流群。


